Добавить в корзинуПозвонить
Найти в Дзене
TechNews

Складной iPhone от Apple

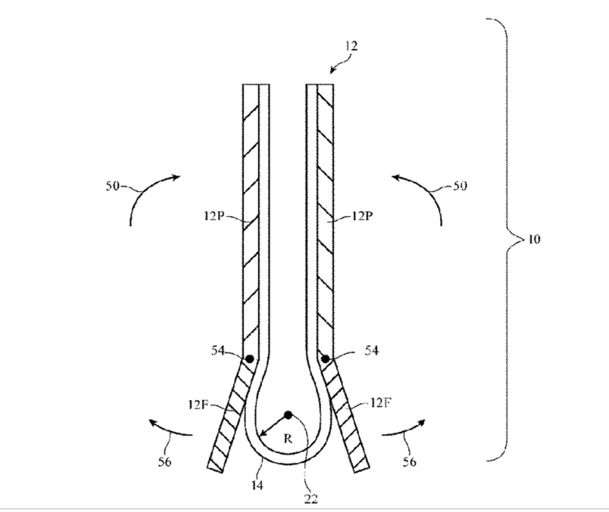
Apple может присоединиться к увлечению складными телефонами. Патент, теперь принадлежащий производителю iPhone , показывает дизайн «гибкого дисплея», который похож на некоторые из будущих складных телефонов, таких как Galaxy Z Flip и Motorola Razr. Во вторник Бюро по патентам и товарным знакам США опубликовало патент Apple под названием «Электронные устройства с гибкими дисплеями и петлями». Патентный реферат описывает гибкий дисплей как способный складываться и раскладываться с помощью шарнирного механизма, чтобы обеспечить достаточное пространство между складывающимися частями дисплея. Даже при наличии патента неясно, может ли это привести к будущему устройству от Apple. Производитель iPhone подал аналогичный патент на складное устройство с раскладным дизайном в феврале прошлого года. Аналитики предсказывали, что Apple может сделать складной iPad где-то в 2021 году, но компания пока не демонстрирует каких-либо признаков его реализации.

Apple может присоединиться к увлечению складными телефонами. Патент, теперь принадлежащий производителю iPhone , показывает дизайн «гибкого дисплея», который похож на некоторые из будущих складных телефонов, таких как Galaxy Z Flip и Motorola Razr.

Во вторник Бюро по патентам и товарным знакам США опубликовало патент Apple под названием «Электронные устройства с гибкими дисплеями и петлями». Патентный реферат описывает гибкий дисплей как способный складываться и раскладываться с помощью шарнирного механизма, чтобы обеспечить достаточное пространство между складывающимися частями дисплея.

-2

Даже при наличии патента неясно, может ли это привести к будущему устройству от Apple. Производитель iPhone подал аналогичный патент на складное устройство с раскладным дизайном в феврале прошлого года. Аналитики предсказывали, что Apple может сделать складной iPad где-то в 2021 году, но компания пока не демонстрирует каких-либо признаков его реализации.