Добавить в корзинуПозвонить
Найти в Дзене
WeSmart-News

Galaxy Fold от Apple?

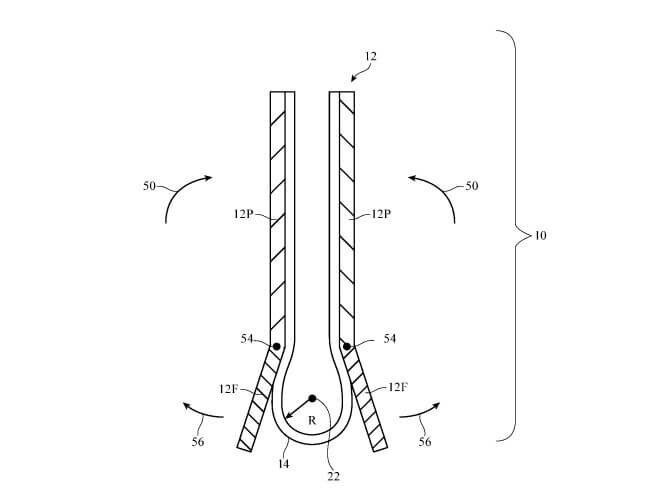
Естественно Apple не могли остаться в стороне глядя на шум вокруг Galaxy Fold от Samsung. Недавно Apple запатентовали свою систему с гибким дисплеем. По информации в документах содержится описание конструкции телефона, позволяющая избавиться от складке по центру телефона. В этом патенте описан механизм, позволяющий складывать экран без складок, остающихся по центру. Внутри шарнира есть пространство, позволяющее дисплею полностью выпрямляться. А в существующих сейчас складных смартфонах экран прилегает к корпусу слишком плотно, из-за чего и образовываются складки.

Естественно Apple не могли остаться в стороне глядя на шум вокруг Galaxy Fold от Samsung. Недавно Apple запатентовали свою систему с гибким дисплеем.

-2

По информации в документах содержится описание конструкции телефона, позволяющая избавиться от складке по центру телефона.

-3

В этом патенте описан механизм, позволяющий складывать экран без складок, остающихся по центру. Внутри шарнира есть пространство, позволяющее дисплею полностью выпрямляться. А в существующих сейчас складных смартфонах экран прилегает к корпусу слишком плотно, из-за чего и образовываются складки.