Добавить в корзинуПозвонить
Найти в Дзене

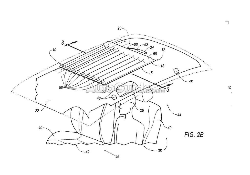
Подушка безопасности в потолке

Компания Ford запатентовала очередную новинку — подушку безопасности в потолочной обшивке. Она нужна для того, чтобы защищать водителя и пассажиров от серьезных черепно-мозговых травм в момент переворачивания машины во время аварии. По сути это большой надувной матрас, который раскрывается во время ДТП и не дает людям коснуться крыши. Кстати, Ford утверждает, что этими подушками можно будет оборудовать не только новые авто, но и старые, причем это будет сравнительно недорого. 

Компания Ford запатентовала очередную новинку — подушку безопасности в потолочной обшивке. Она нужна для того, чтобы защищать водителя и пассажиров от серьезных черепно-мозговых травм в момент переворачивания машины во время аварии. По сути это большой надувной матрас, который раскрывается во время ДТП и не дает людям коснуться крыши. Кстати, Ford утверждает, что этими подушками можно будет оборудовать не только новые авто, но и старые, причем это будет сравнительно недорого.