Добавить в корзинуПозвонить
Найти в Дзене
Технарь

Porsche запатентовала электрический летающий автомобиль.

В Сети нашли патент компании Porsche, описывающий электрический летающий автомобиль. Несколько месяцев назад стало известно о намерении Porsche и Boeing совместно разрабатывать летающий автомобиль. Недавно же в Сети нашли патент немецкого автопроизводителя, описывающий подобную машину. Документ был обнаружен пользователем Taycan EV Forum; он был подан Porsche в Бюро по регистрации патентов и торговых марок США в июле 2019, а опубликован в январе 2020-го. Патент описывает электрический летающий аппарат вертикальных взлета и посадки (eVTOL). Патент включает схематичные изображения описываемого аппарата. Можно заметить, что машина оснащена четырьмя крупными пропеллерами (двумя спереди и двумя — более крупными — сзади), а также небольшой кабиной, где могут расположиться двое людей. Патент описывает аппарат как полностью электрический. Известно, что Porsche и Boeing совместно готовят аэротакси, однако является ли аппарат, описываемый в патенте Porsche, тем самым концептом, над которым с
В Сети нашли патент компании Porsche, описывающий электрический летающий автомобиль.

Несколько месяцев назад стало известно о намерении Porsche и Boeing совместно разрабатывать летающий автомобиль. Недавно же в Сети нашли патент немецкого автопроизводителя, описывающий подобную машину.

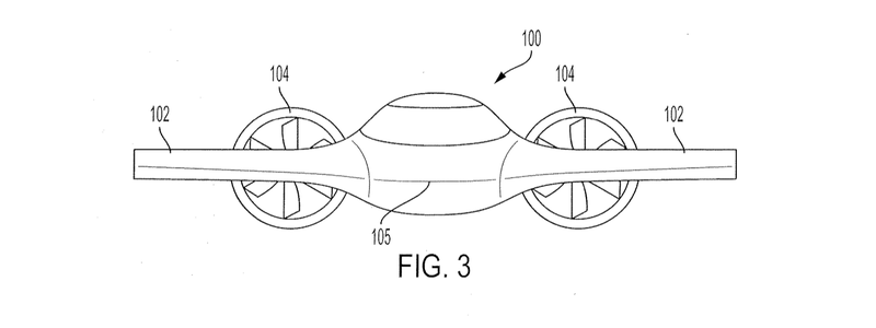
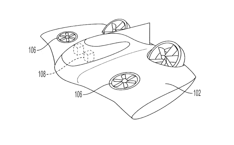
Документ был обнаружен пользователем Taycan EV Forum; он был подан Porsche в Бюро по регистрации патентов и торговых марок США в июле 2019, а опубликован в январе 2020-го. Патент описывает электрический летающий аппарат вертикальных взлета и посадки (eVTOL).

-2

Патент включает схематичные изображения описываемого аппарата. Можно заметить, что машина оснащена четырьмя крупными пропеллерами (двумя спереди и двумя — более крупными — сзади), а также небольшой кабиной, где могут расположиться двое людей. Патент описывает аппарат как полностью электрический.

Известно, что Porsche и Boeing совместно готовят аэротакси, однако является ли аппарат, описываемый в патенте Porsche, тем самым концептом, над которым сейчас ведется работа, не ясно.