Найти в Дзене

Голограммы для Apple Glasses

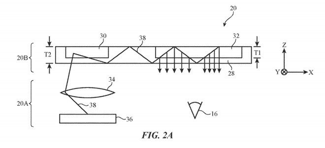
Слухи о том, что Apple выпускает гарнитуру AR или VR Apple Glasses с собственной операционной системой и дисплеем 8K, ходят уже очень давно. Исследовательская деятельность в этом направлении определенно ведется, взято уже несколько патентов, приглашены соответствующие специалисты, продолжаются переговоры с компаниями – производителями оптических линз. Вчера в Apple взяли патент на "Optical Systems for Displays" .Разработка под названием «Оптические системы для дисплеев» предлагает использовать систему волноводов для передачи света от дисплея к глазам пользователя. Обычные очки виртуальной реальности представляют собой дисплей и систему линз. Всё это располагается по возможности ближе к глазам пользователя. Слишком объемный корпус утяжеляет очки и их становится неудобно носить. Однако при близком расположении дисплея некоторые места изображения видны только одним глазом или вообще попадают в слепую зону. В общем, или усложнение системы линз и более длинный корпус, или нарушение эффе

Слухи о том, что Apple выпускает гарнитуру AR или VR Apple Glasses с собственной операционной системой и дисплеем 8K, ходят уже очень давно. Исследовательская деятельность в этом направлении определенно ведется, взято уже несколько патентов, приглашены соответствующие специалисты, продолжаются переговоры с компаниями – производителями оптических линз.

Вчера в Apple взяли патент на "Optical Systems for Displays" .Разработка под названием «Оптические системы для дисплеев» предлагает использовать систему волноводов для передачи света от дисплея к глазам пользователя. Обычные очки виртуальной реальности представляют собой дисплей и систему линз. Всё это располагается по возможности ближе к глазам пользователя. Слишком объемный корпус утяжеляет очки и их становится неудобно носить. Однако при близком расположении дисплея некоторые места изображения видны только одним глазом или вообще попадают в слепую зону. В общем, или усложнение системы линз и более длинный корпус, или нарушение эффекта присутствия.

очки Oculus Quest,
очки Oculus Quest,

Дополнение системы линз волноводами позволяет направить поток света из любой точки дисплея непосредственно в глаз. Это решает проблему слепых зон без увеличения объема корпуса и, кроме того, позволяет генерировать объемные изображения (тонкие и объемные голограммы), а также создавать иллюзию неровной поверхности. В сочетании с эффектом наложения виртуальных объектов на реальные всё это должно выглядеть впечатляюще.

система волноводов
система волноводов

Ранее, в сентябре, Apple уже была запатентована система волноводов и голографических элементов под названием « Устройство отображения». Так что очки Apple Glasses обещают быть очень интересными. Конечно, их ещё нет, но помечтать-то можно!