Добавить в корзинуПозвонить
Найти в Дзене
BITCRYPTONEWS.RU

Tesla планирует заменить стеклоочистители лазерами

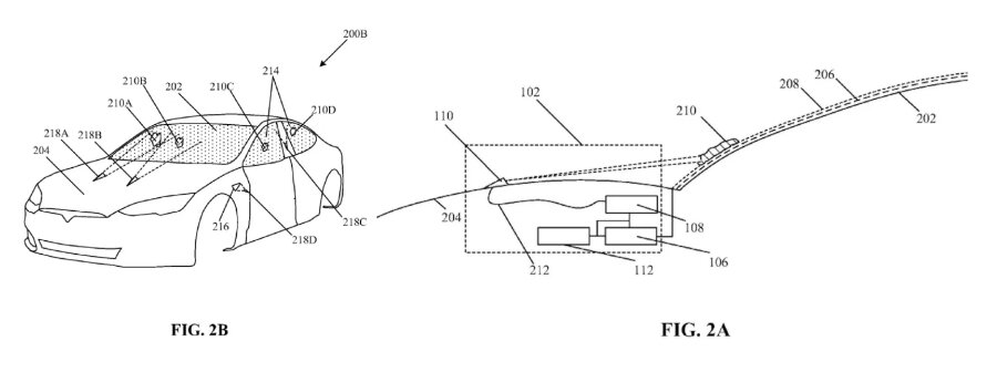
Компания Tesla разрабатывает систему лазерной очистки стеклянных поверхностей транспортных средств и солнечных панелей от пыли и грязи. Илон Маск известен своим неординарным подходом к решению технических задач и список его идей пополнился еще одним пунктом. В поданной патентной заявке Tesla перечислены недостатки традиционных методов очистки, использующих воду, моющие средства и щетки, и основные преимущества использования предложенного лазерного устройства, среди которых скорость, надежность, безопасность и невозможность повреждения стекла. Согласно описанию, работа системы лазерной очистки основана на излучении мощных световых импульсов, которые сжигают и/или разрушают грязь на поверхности стеклянных изделий. При этом устройство дополнительно оснащено системой обнаружения загрязнений и калибровки параметров. Перед началом очистки, камеры определяют наличие грязи, ее тип, место расположения и толщину слоя. Эта информация обрабатывается системой управления, которая настраивает набор

Компания Tesla разрабатывает систему лазерной очистки стеклянных поверхностей транспортных средств и солнечных панелей от пыли и грязи.

Илон Маск известен своим неординарным подходом к решению технических задач и список его идей пополнился еще одним пунктом. В поданной патентной заявке Tesla перечислены недостатки традиционных методов очистки, использующих воду, моющие средства и щетки, и основные преимущества использования предложенного лазерного устройства, среди которых скорость, надежность, безопасность и невозможность повреждения стекла.

Согласно описанию, работа системы лазерной очистки основана на излучении мощных световых импульсов, которые сжигают и/или разрушают грязь на поверхности стеклянных изделий. При этом устройство дополнительно оснащено системой обнаружения загрязнений и калибровки параметров.

Перед началом очистки, камеры определяют наличие грязи, ее тип, место расположения и толщину слоя. Эта информация обрабатывается системой управления, которая настраивает набор параметров и регулирует уровень воздействия лазерных импульсов. Калибровка луча позволяет не только эффективно очистить поверхность, но и не допускает его прохождения сквозь стекло.

-2

В заявке сказано, что оборудование может быть установлено в виде модульного устройства, обеспечивающего бесконтактную очистку ветровых стекол, линз камер, боковых окон, зеркал заднего вида в транспортных средствах или поверхности солнечных батарей.

Представители Tesla и ее генеральный директор пока не сообщали о планах использования предложенной лазерной системы очистки в автомобилях компании. Хотя наличие патента не гарантирует, что проект вообще когда-либо будет реализован на практике, но такую вероятность нельзя исключать. В любом случае это интересная концепция, которая заслуживает внимания.

Помимо этой разработки, ранее Tesla также подала патентную заявку на электромагнитную систему стеклоочистителей для лобового стекла.

Для развития канала нам важна ваша поддержка, подписывайтесь на канал и ставьте лайки.