Добавить в корзинуПозвонить
Найти в Дзене
Вячеслав Калашник

Сетевой выпрямитель для питания маломощных потребителей с меньшими пульсациями выходного напряжения.

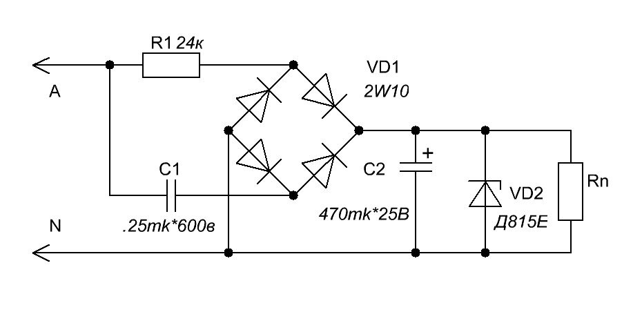
Для питания маломощных потребителей очень часто используются однополупериодные выпрямители. В качестве ограничителя тока используются резисторы и конденсаторы (емкостное сопротивление). Недостаток этих выпрямителей - большие пульсации выходного напряжения. Для уменьшения их приходится ставить электролитические конденсаторы большой емкости. Недостаток этих выпрямителей можно устранить, если использовать одновременно в качестве ограничительных сопротивлений резистор и конденсатор. Как известно из электротехники ток через резистор совпадает с напряжением по фазе, а на конденсаторе ток опережает напряжение на 90гр. Учитывая это можно улучшить характеристики таких выпрямителей. Принципиальная схема выпрямителя представлена на рис.1. Он содержит выпрямительный мост VD1, ограничительное сопротивление R1, конденсатор С1, стабилитрон VD2. Работает этот выпрямитель следующим образом. При подаче положительной полуволны на вывод А ток идет через конденсатор, мост, стабилитрон VD2 - вывод N. По

Для питания маломощных потребителей очень часто используются однополупериодные выпрямители. В качестве ограничителя тока используются резисторы и конденсаторы (емкостное сопротивление). Недостаток этих выпрямителей - большие пульсации выходного напряжения. Для уменьшения их приходится ставить электролитические конденсаторы большой емкости. Недостаток этих выпрямителей можно устранить, если использовать одновременно в качестве ограничительных сопротивлений резистор и конденсатор. Как известно из электротехники ток через резистор совпадает с напряжением по фазе, а на конденсаторе ток опережает напряжение на 90гр. Учитывая это можно улучшить характеристики таких выпрямителей. Принципиальная схема выпрямителя представлена на рис.1. Он содержит выпрямительный мост VD1, ограничительное сопротивление R1, конденсатор С1, стабилитрон VD2. Работает этот выпрямитель следующим образом. При подаче положительной полуволны на вывод А ток идет через конденсатор, мост, стабилитрон VD2 - вывод N. По истечению времени в четверть периода сетевого напряжения ток начинает протекать через резистор R1, мост VD1,стабилитрон VD2, вывод N. На рис.2 показаны временные диаграммы работы выпрямителя. Такая схема выпрямителя позволяет резко улучшить работу выпрямителя при меньшей величине емкости слаживающего конденсатора С2.

-2