Найти в Дзене
NagNews

Электросети могут обеспечить всем связь “пятого” поколения

Новости об испытаниях высокоскоростных технологий связи появляются в информационном пространстве с завидной регулярностью. В собственных лабораториях вендоры регулярно демонстрируют новые рекорды по скорости передачи данных. Как правило, это дорогостоящие технологии, требующие колоссальных финансовых вливаний для внедрения в массы. Телеком-гигант AT&T похоже нашел способ "малой кровью" сделать доступным каждому "гигабит в секунду". Учитывая тот факт, что оператор недавно официально свернул работу собственной 2G-сети, во внедрении новых скоростных технологий связи он заинтересован как никто другой. Гигабит по воздуху Известно, что в международных телекоммуникационных компаниях исследовательские работы не останавливаются никогда. Вот и AT&T уже более десяти лет назад начали задумываться о технологиях, позволяющих расширять возможности по передаче данных. Тогда внимание инженеров переключилось на передачу данных с помощью миллиметровых волн. Частотный диапазон радиоволн с длиной волны в

Новости об испытаниях высокоскоростных технологий связи появляются в информационном пространстве с завидной регулярностью. В собственных лабораториях вендоры регулярно демонстрируют новые рекорды по скорости передачи данных. Как правило, это дорогостоящие технологии, требующие колоссальных финансовых вливаний для внедрения в массы. Телеком-гигант AT&T похоже нашел способ "малой кровью" сделать доступным каждому "гигабит в секунду". Учитывая тот факт, что оператор недавно официально свернул работу собственной 2G-сети, во внедрении новых скоростных технологий связи он заинтересован как никто другой.

Гигабит по воздуху

Известно, что в международных телекоммуникационных компаниях исследовательские работы не останавливаются никогда. Вот и AT&T уже более десяти лет назад начали задумываться о технологиях, позволяющих расширять возможности по передаче данных. Тогда внимание инженеров переключилось на передачу данных с помощью миллиметровых волн. Частотный диапазон радиоволн с длиной волны в свободном пространстве от 1 до 10 мм соответствует частотам от 30 до 300 ГГц. Использование этого диапазона позволяет применять антенны малых габаритов. Однако миллиметровые волны имеют сильное затухание, что не позволяет распространять сигнал на дальние расстояния.

Поэтому инженерам AT&T пришло в голову объединить в одной технологии миллиметровые волны и линии электропередачи. Такого в промышленности не делал еще никто. Так на свет появился проект AirGig, благодаря реализации которого AT&T в течение нескольких лет планируют сделать доступной каждому связь по стандартам LTE и 5G.

Промо-видео к проекту AirGig

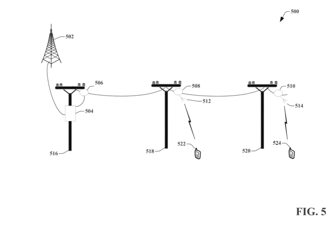
В основу проекта заложена идея размещения антенн для передачи миллиметровых радиоволн на линиях электропередач. Соответствующий патент на технологию был размещен в 2015 году.

-2

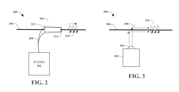
Разработка небольших передающих устройств велась инженерами в компании в течение десяти лет. Антенна представляет собой небольшое пластиковое устройство, которое будет устанавливаться на линиях электропередачи. Конструкция передатчика сигнала позволяет на высокой скорости передавать сигнал с помощью электрического кабеля, при этом сигнал передается не через провод, а вдоль или вблизи него.

-3
-4

Также радиоантенна предусматривает распространение беспроводного сигнала, становясь своего рода точкой доступа.

-5

По замыслу изобретателей, расположение такого устройства на каждом столбе ЛЭП позволит создать систему бесшовного соединение и доставить высокоскоростной сигнал в каждый дом. Даже туда, где еще не слышали о волоконно-оптическом кабеле.

О работе над проектом провайдер заявил еще в сентябре минувшего года. Тогда и начались испытания новых устройств и их дальнейшая доработка.

-6

Изначально на вышках линий электропередач размещались небольшие соты с поддержкой C-RAN.

-7
-8
-9

Развёртывание такой сети позволит провайдеру уплотнить собственную сеть и заложить основу для развертывания 5G по всему миру. В том числе в рамках подготовки к внедрению проекта AirGig.

Как отмечают в AT&T, провайдеру уже поступило порядка 200 заявок на использование патента изобретения. В компании считают, что за технологией AirGig будущее как широкополосного доступа, так и беспроводной связи. Главный плюс проекта в том, что электрические сети доступны практически во всех населенных пунктах планеты, поэтому для размещения антенн не придется устанавливать новые вышки связи или тянуть оптическое волокно. Это уже в разы уменьшает стоимость развертывания сети в тех уголках планеты, где об интернете знаю лишь понаслышке.

-10

Сами по себе антенны имеют малые габариты, а следовательно их установка на столбы линий электропередачи также не вызовет сложностей и больших финансовых затрат.

При эксплуатации сети AirGig провайдер предлагает использовать программно-ориентированный подход, отказавшись от широкого применения маршрутизаторов, коммутаторов и межсетевых экранов. AT&T уже к 2020 году собирается виртуализировать 75% своей сети. В компании считают, что построение такой сети вкупе с программно-ориентированным подходом - это будущие телекоммуникаций.

"Мы считаем, что проект AirGig имеет потенциал, чтобы быстро довести возможность подключения к интернету по всему миру. Уже сейчас проект AirGig в сочетании с нашим программным обеспечением определяемой сетевой архитектуры не имеет равных в передаче данных, связанных с мобильным 4К видео, виртуальной реальностью, телемедициной. С AirGig все это может быть доступно как в мегаполисе, так и отдаленной сельской местности", - говорит директор по стратегическому развитию AT&t, Джон Донован.

Также AirGig будет полезен предприятиям обслуживающим жилищно-коммунальный сектор и энергетическим компаниям. С помощью системы можно будет проводить мониторинг состояния сети электропередачи, а также замерять расход энергоресурсов.

На прошлой неделе AT&T заявили о переговорах с Министерством энергетики США. В настоящее время решается вопрос, где начнётся экспериментальное развертывание первых сетей. Пока известно, что одна сеть будет развернута в США. Где будет проводиться второе тестирование пока неизвестно.

На первый взгляд проект AirGig выглядит действительно наиболее привлекательно, чем многое из того, что уже применяют операторы, дабы реанимировать существующие сети медного кабеля телефонных линий связи, например DOCSIS или G.fast. Однако линии электропередачи, как правило, находятся под строгим контролем государственных регуляторов, а значит "залезть" на столбы с неведомой для многих чиновников железкой будет не так то просто. На пользование ЛЭП придется оформлять множество разрешительной документации и получать одобрения регулирующих органов. Все это чревато взятками и прочими "неофициальными" тратами, что, в свою очередь, может существенно повлиять на стоимость размещения такого передатчика, а возможные государственные препоны по размещению антенн на столбах могут легко отбить охоту у операторов развивать сеть таким способом.