Найти в Дзене
Авто любитель

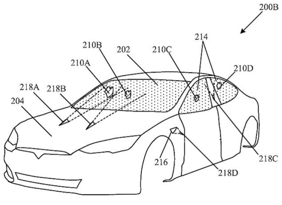
Американская компания Tesla планирует использовать лазерные лучи для очистки автомобильных стекол и солнечных батарей.

Компания Tesla не устает удивлять нестандартными проектами. На прошлой неделе глава компании Илон Маск представил футуристический электрический пикап Cybertruck и разработанный в том же стиле электрический квадроцикл Cyberquad. На этой неделе появилась информация о патенте на лазерные стeклоочистители. Патентную заявку на систему под названием «импульсная установкам для лазерной очистки мусора, накопленного на стеклянных поверхностях транспортных средств» компания подала в начале этого года. Возможно эта технология будет использоваться на их машине которая выйдет в 2020 году Tesla Roadster. Автор проекта Фирозе Далаль описывает принцип действия системы следующим образом: «Система очистки включает устройство лазерной оптики, которое направляет лазерный луч на грязный участок стекла автомобиля, а также схему обнаружения мусора на определенной области стекла. Схема управления настраивает параметры излучения лазера в зависимости от места и степени загрязнения, и контролирует мощность и др

Компания Tesla не устает удивлять нестандартными проектами. На прошлой неделе глава компании Илон Маск представил футуристический электрический пикап Cybertruck и разработанный в том же стиле электрический квадроцикл Cyberquad. На этой неделе появилась информация о патенте на лазерные стeклоочистители. Патентную заявку на систему под названием «импульсная установкам для лазерной очистки мусора, накопленного на стеклянных поверхностях транспортных средств» компания подала в начале этого года.

Возможно эта технология будет использоваться на их машине которая выйдет в 2020 году Tesla Roadster.
Tesla Roadster
Tesla Roadster

Автор проекта Фирозе Далаль описывает принцип действия системы следующим образом:

«Система очистки включает устройство лазерной оптики, которое направляет лазерный луч на грязный участок стекла автомобиля, а также схему обнаружения мусора на определенной области стекла. Схема управления настраивает параметры излучения лазера в зависимости от места и степени загрязнения, и контролирует мощность и другие параметры луча. При этом система контроля за воздействием лазера ограничивает проникновение лазерного луча на глубину, что не позволяет лазеру повреждать стекло или проходить за него, но в то же время дает возможность эффективно справляться с твердыми частицами на поверхности стекла».
-2

Как рассказали в компании, лазерная система стеклоочистителей будет автоматически удалять мусор, мешающий камерам 360. По тому же принципу будет работать также запатентованная Tesla система автоматической очистки установленных на крышах солнечных батарей.