Найти в Дзене
Михаил Михайлов

Пластик вместо металла, если нет отличий, то зачем платить больше?

Добрый день! и снова речь пойдет о 3Д печати и ее возможностях. Поступил заказ на изготовление вот таких декоративных элементов. Обязательное условие - они должны быть легкими! Из предоставленных материалов только фотография ужасного качества + чертеж: Вводные данные есть, поэтому приступаю к моделированию и согласованию с заказчиком. Получилось так: После согласования необходимо приступать к 3Д печати. С такими габаритами 806*355*180мм, ее конечно же, надо нарезать на части, которые удобно печатать. Она резалась вдоль, т.к. это даст результат печати без поддержек. Будет затрачено больше времени на печать и склейку, но результат будет намного лучше! Здесь можно увидеть части из которых она напечатана: Процесс 3д печати долгий и нудный, только успевай менять пластик и ждать, пока напечатает очередную деталь. Совсем другое дело, когда начинается сборка. Этот момент мне очень нравится, т.к. уже начинает проглядываться результат - от комплюктерной модели к созданию реальной вещи! Ну что ж,

Добрый день! и снова речь пойдет о 3Д печати и ее возможностях.

Поступил заказ на изготовление вот таких декоративных элементов. Обязательное условие - они должны быть легкими!

И опять у заказчика нет ничего, кроме фото ужасного качества.
И опять у заказчика нет ничего, кроме фото ужасного качества.

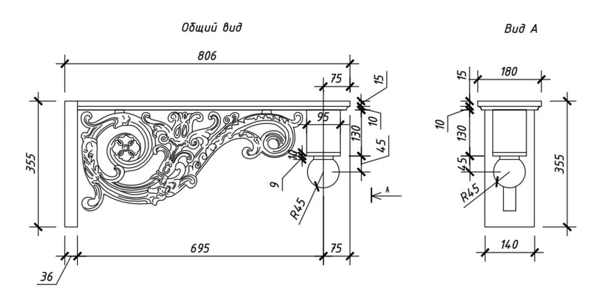
Из предоставленных материалов только фотография ужасного качества + чертеж:

Чертеж консоли.
Чертеж консоли.

Вводные данные есть, поэтому приступаю к моделированию и согласованию с заказчиком. Получилось так:

Модель, утвержденная заказчиком.
Модель, утвержденная заказчиком.
Модель, утвержденная заказчиком.
Модель, утвержденная заказчиком.

После согласования необходимо приступать к 3Д печати.

С такими габаритами 806*355*180мм, ее конечно же, надо нарезать на части, которые удобно печатать. Она резалась вдоль, т.к. это даст результат печати без поддержек. Будет затрачено больше времени на печать и склейку, но результат будет намного лучше!

Здесь можно увидеть части из которых она напечатана:

Им еще предстоит склейка и обработка.
Им еще предстоит склейка и обработка.

Процесс 3д печати долгий и нудный, только успевай менять пластик и ждать, пока напечатает очередную деталь. Совсем другое дело, когда начинается сборка. Этот момент мне очень нравится, т.к. уже начинает проглядываться результат - от комплюктерной модели к созданию реальной вещи!

Уже склеенные Франкенштейны.
Уже склеенные Франкенштейны.

Ну что ж, узор готов, осталось сделать подставки.

3д печать подставок.
3д печать подставок.

Далее фото сборки консоли.

Сборка.
Сборка.
Сборка.
Сборка.

Как видно на фотографиях - сложно удержаться и сначала все собрать, а потом покрасить)

Вот уже виден результат. Поэтому уже производится полная склейка изделия и ее окрашивание.

Результат.
Результат.
Результат.
Результат.
Результат.
Результат.
Результат.
Результат.

И вот уже готовая консоль! В соответствии с главным условием - выполнено все, она получилась легкая и соответствует ТЗ! Косяки конечно же есть и сейчас уже постобработка была бы другой, что повысило гладкость и презентабельность вида. Покрытие данной модели - BODY 950, а значит устойчива даже к гравию)

Спасибо что дочитали данный рассказ! Если что было не понятно - спрашивайте, я постараюсь ответить на интересующие вас вопросы.

Интересно, а кто назовет вес модели? Повторюсь, она напечатана пластиком, габариты - 806*355*180мм.