Найти в Дзене
Кровельные фермы

История металлической зубчатой пластины (МЗП)

Деревянные кровельные фермы приобретают в последнее время все большую популярность, при этом наилучшим соединением деревянных элементов в таких фермах является металлическая зубчатая пластина (МЗП). И если древесина - материал в той, или иной степени всем известный, то что из себя представляет, где и когда появилась металлозубчатая пластина мало кто знает. История металлозубчатой пластины началась в США, в 50х годах XX века и продолжается. Как все начиналось. Артур Кэррол Сэнфорд Первым разработал и запатентовал металлозубчатую пластину (grip plate for truss) в 1954 году Артур Кэррол Сэнфорд . Данная пластина была предназначена для производства деревянных ферм и обладала рядом достоинств по сравнению с другими соединениями того времени: К сожалению, данные пластины обладали и рядом недостатков: Джон Калвин Джурет Следующее усовершенствование в соединение на МЗП внес Джон Калвин Джурет (John Calvin Jureit), сотрудничавший с фирмой Gang-Nail Systems, Inc. (ныне Mitek Industries, Inc
Оглавление

Деревянные кровельные фермы приобретают в последнее время все большую популярность, при этом наилучшим соединением деревянных элементов в таких фермах является металлическая зубчатая пластина (МЗП). И если древесина - материал в той, или иной степени всем известный, то что из себя представляет, где и когда появилась металлозубчатая пластина мало кто знает.

История металлозубчатой пластины началась в США, в 50х годах XX века и продолжается. Как все начиналось.

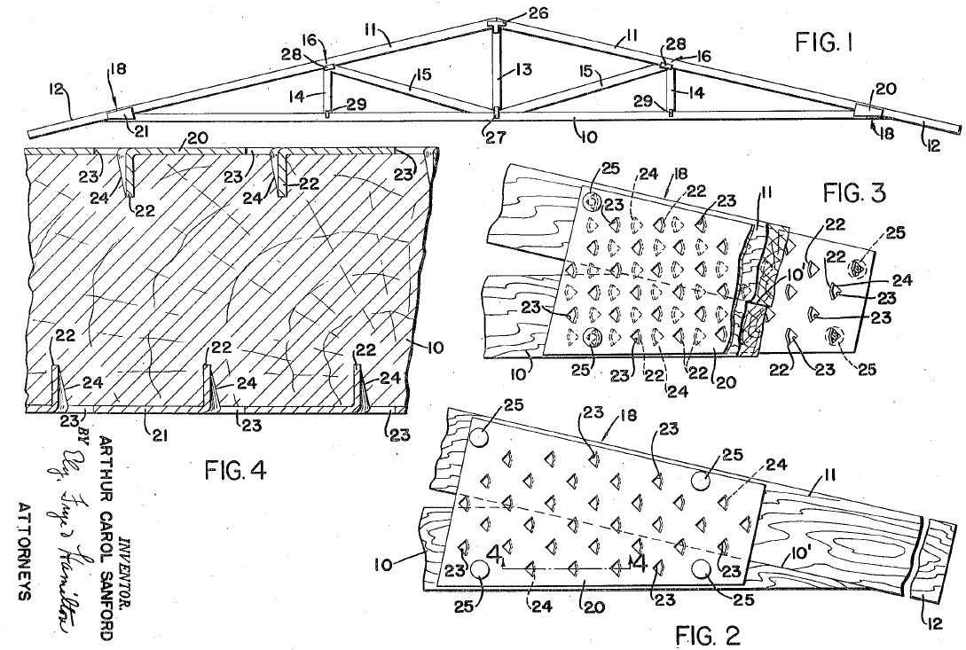
Артур Кэррол Сэнфорд

Первым разработал и запатентовал металлозубчатую пластину (grip plate for truss) в 1954 году Артур Кэррол Сэнфорд .

Чертеж из патента US2827676A Sanford Arthur Carol  1954
Чертеж из патента US2827676A Sanford Arthur Carol 1954

Данная пластина была предназначена для производства деревянных ферм и обладала рядом достоинств по сравнению с другими соединениями того времени:

  • Соединение деревянных элементов, находящихся в одной плоскости, как следствие - отсутствие эксцентриситета элементов, либо необходимости выполнять сдвоенные пояса.
  • Отсутствие необходимости в применении классических плотницких соединений - врезок, врубок и т.п. Фактически, работа с деревом ограничивалась раскроем доски.
  • Обеспечение пролета до 30 футов (9 метров)
  • Возможность сборки фермы на производстве, что ускоряет процесс сборки и положительно сказывается на качестве фермы

К сожалению, данные пластины обладали и рядом недостатков:

  • Как видно из чертежа, форма пластины должна соответствовать узлу.
  • Пластину необходимо дополнительно закреплять гвоздями.
  • Не оговаривается возможность выполнения узлов сращивания доски по длине, что необходимо при длине нижнего пояса в 9 метров.

Джон Калвин Джурет

Следующее усовершенствование в соединение на МЗП внес Джон Калвин Джурет (John Calvin Jureit), сотрудничавший с фирмой Gang-Nail Systems, Inc. (ныне Mitek Industries, Inc.). В 1956 году он запатентовал пластину, не требующую дополнительного закрепления гвоздями.

Чертеж из патента US2877520 John C. Jureit 1956
Чертеж из патента US2877520 John C. Jureit 1956

В новой пластине были устранены основные недостатки пластины Сэнфорда. Пластины стали прямоугольными, отпала необходимость дополнительного закрепления гвоздями за счет удлинения зубьев и предложен элемент решетки фермы, ставший впоследствии элементом Posi-Strut.

Позднейшие разработки

В дальнейшем разрабатывались самые разные, подчас экзотические зубчатые пластины, с зубьями торчащими в обе стороны, зубьями разной длины на одной пластине и даже решетчатые соединители, некоторые из которых мы приводим ниже

Чертеж из патента US2885749 John C. Jureit 1955
Чертеж из патента US2885749 John C. Jureit 1955

Соединитель, прежде всего ориентированный на соединение элементов деревянного каркаса. Патент 1955 года.

Чертеж из патента US3841195 John C. Jureit 1974
Чертеж из патента US3841195 John C. Jureit 1974

Соединитель для скрепления двух досок пласть к пласти. Патент 1974 года.

Чертеж из патента US3892160 John C. Jureit 1975
Чертеж из патента US3892160 John C. Jureit 1975

Почти стандартная зубчатая пластина из патента 1975 года. Основная особенность - наличие на одной пластине зубьев разной длины. Причем короткие зубья подкручены (сейчас стандарт для пластин с зубом длиной 8мм)

Knuckle nail plate от компании Pryda
Knuckle nail plate от компании Pryda

Гвоздевая пластина Knuckle nail plate от австралийской компании Prida интересна тем, что ее можно забивать молотком ввиду нестандартной конструкции зубьев.

Bulldog - фиксатор болтового соединения от фирмы Simpson Strong Tie
Bulldog - фиксатор болтового соединения от фирмы Simpson Strong Tie
-8

M14 FSP пластина от фирмы MiTek

Так называемая Fastener plate, или монтажная пластина, поставляемая фирмой MiTek, используется для соединения частей ферм на стройплощадке. Зубчатая часть запрессовывается в цеху, перфорированная пробивается на площадке.

Монтажная пластина GNT150SK, используемая для соединения ферм на площадке.
Монтажная пластина GNT150SK, используемая для соединения ферм на площадке.

Основные металлозубчатые пластины для производства кровельных ферм

Таким образом видно, что с момента создания металлозубчатая пластина постоянно менялась, приобретала разные формы и размеры и даже область использования. Основное, что объединяет все приведенные выше крепежные элементы это то, что они изготавливаются из стального проката и используются для соединения деревянных элементов. Но как же быть с деревянными кровельными фермами?

Для из производства на сегодняшний день используются повсеместно пластины, выполненные из оцинкованной стали, прямоугольной формы, с выпрессоваными на одну сторону зубьями, причем на одной пластине зубья одной длины и формы. Как правило, длина зуба составляет 8, 15, 20 мм, а толщина стали - 1, 1.5 и 2 мм с небольшими вариациями от производителя к производителю. Конкурентные преимущества в основном достигаются за счет марки стали, плотности расположения и формы зубьев.

Пластина GNA20 от MiTek - 8 мм зуб, 1 мм сталь. Основная пластина при изготовлении кровельных ферм на жилые дома.
Пластина GNA20 от MiTek - 8 мм зуб, 1 мм сталь. Основная пластина при изготовлении кровельных ферм на жилые дома.
Пластина Т150 от MiTek - 15 мм зуб, 1.5 мм сталь. Основная пластина при изготовлении деревянных кровельных ферм на пролете свыше 15 метров.
Пластина Т150 от MiTek - 15 мм зуб, 1.5 мм сталь. Основная пластина при изготовлении деревянных кровельных ферм на пролете свыше 15 метров.
Пластина М14 от MiTek - 20 мм зуб, 2 мм сталь. Пластина для особо нагруженных или геометрически крупных узлов.
Пластина М14 от MiTek - 20 мм зуб, 2 мм сталь. Пластина для особо нагруженных или геометрически крупных узлов.