Найти в Дзене
BloomChain

«Яндекс» умеет определять доходы пользователей

«Яндекс» запатентовал систему, способную определить доход пользователя мобильного устройства. Соответствующий документ находится в базе Роспатента.  Компания подала заявку на изобретение «Система и способ определения дохода пользователя мобильного устройства» в апреле 2017 года, но зарегистрирован и опубликован документ был только в 2019 году.  В описании патента сказано, что изобретение относится к способу и серверу для анализа пользовательских данных. Этот комплекс технических средств позволяет установить профессию пользователя и, уже исходя из нее, узнать его доход.  Сервер получает информацию, указывающую на род деятельность пользователя, а затем алгоритм машинного обучения связывают эти данные с «классами занятости», делая логические выводы о профессии человека. Алгоритм анализирует аудиовизуальную информацию (например, окружающие устройство звуки и видео, хранящиеся на устройстве), а также данные о местоположении пользователя, которое определяется по показаниям GPS. Кроме того, к

«Яндекс» запатентовал систему, способную определить доход пользователя мобильного устройства. Соответствующий документ находится в базе Роспатента. 

Компания подала заявку на изобретение «Система и способ определения дохода пользователя мобильного устройства» в апреле 2017 года, но зарегистрирован и опубликован документ был только в 2019 году. 

В описании патента сказано, что изобретение относится к способу и серверу для анализа пользовательских данных. Этот комплекс технических средств позволяет установить профессию пользователя и, уже исходя из нее, узнать его доход. 

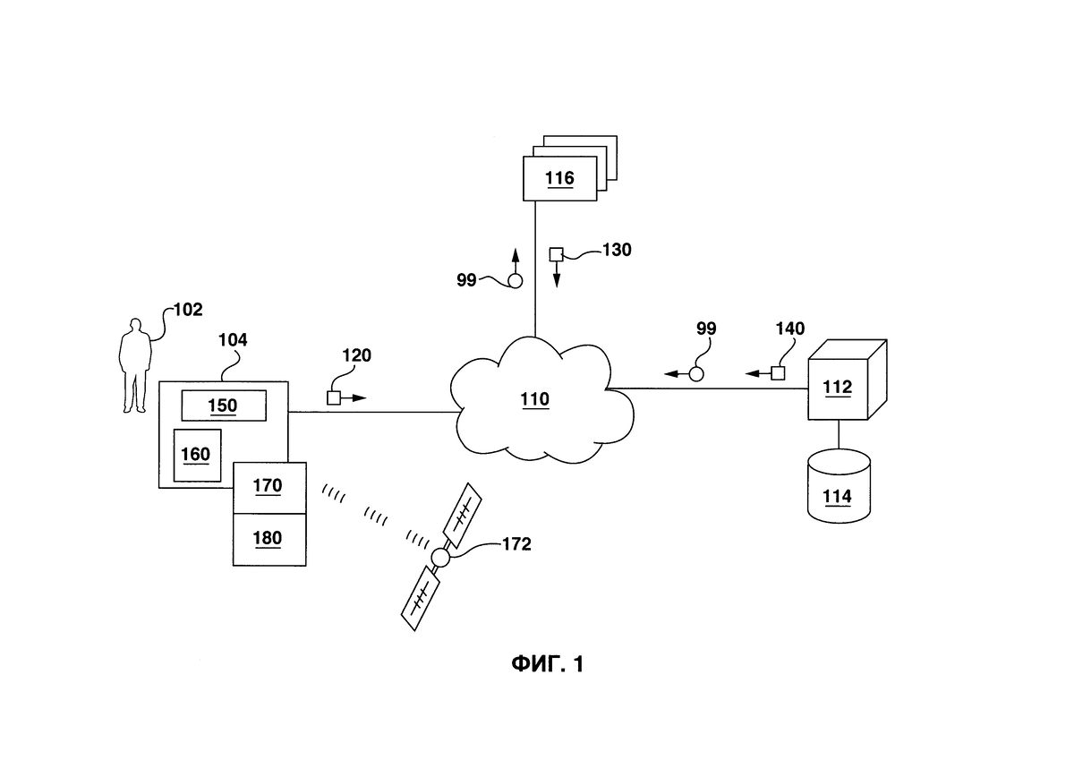
Схема системы для определения дохода пользователя
мобильного устройства. Чертеж из патентной заявки «Яндекса»
Схема системы для определения дохода пользователя мобильного устройства. Чертеж из патентной заявки «Яндекса»

Сервер получает информацию, указывающую на род деятельность пользователя, а затем алгоритм машинного обучения связывают эти данные с «классами занятости», делая логические выводы о профессии человека.

Схема способа определения дохода пользователя мобильного устройства, который выполняется сервером. Чертеж из патентной заявки «Яндекса»
Схема способа определения дохода пользователя мобильного устройства, который выполняется сервером. Чертеж из патентной заявки «Яндекса»

Алгоритм анализирует аудиовизуальную информацию (например, окружающие устройство звуки и видео, хранящиеся на устройстве), а также данные о местоположении пользователя, которое определяется по показаниям GPS. Кроме того, комплекс способен анализировать текстовые данные пользователя: комментарии, вопросы, сообщения и так далее. 

Помимо этого, система собирает данные через приложения «Яндекса»: «Яндекс.Такси», «Яндекс.Карты», «Яндекс.Почта», Uber, «Яндекс.Поиск», «Яндекс.Деньги». Есть у алгоритма доступ и к сторонним приложениям, таким как Google.Maps и Gmail.

Содержимое данных мобильного устройства. Чертеж из патентной заявки «Яндекса»
Содержимое данных мобильного устройства. Чертеж из патентной заявки «Яндекса»

Компания не использует и не собирается использовать этот патент в своих сервисах. Технология так и останется жить на бумаге в виде патента, рассказали Bloomchain в пресс-службе «Яндекса».

Подписывайтесь на нас ВКонтакте! Только самые актуальные новости из мира финтеха и цифровых технологий.

Больше интересных материалов на сайте - Блумчейн.ру