Добавить в корзинуПозвонить
Найти в Дзене
Электронщик

Для чего служит импульсный трансформатор, типы и конструктивные особенности

Кратковременный импульсный режим работы некоторых электрических устройств служит для обеспечения генерирования больших величин мощности, а ее использование  в течение короткого промежутка времени называется импульсным режимом. Мощные импульсные трансформаторы ТПИ, применяемые  для импульсных питающих источников служат для подачи электроэнергии во вторичные цепи.  Они выполняют функцию согласующего элемента между генератором первичной сети и потребителем импульсного напряжения. ИТ изменяет уровень и полярность формируемого импульса. Они служат для создания обратной связи в контурах импульсного устройства, применяются для изменения импульса и формирования его в прямоугольную форму, обладающую величиной напряжения с постоянным периодом действия и наиболее крутым фронтом, что соответствует более широкой сфере применения. Распределение электрических цепей в зависимости от постоянного и переменного значения тока. Сфера применения импульсных трансформаторов Основное предназначение ИТ – рабо
Оглавление

Кратковременный импульсный режим работы некоторых электрических устройств служит для обеспечения генерирования больших величин мощности, а ее использование  в течение короткого промежутка времени называется импульсным режимом.

Мощные импульсные трансформаторы ТПИ, применяемые  для импульсных питающих источников служат для подачи электроэнергии во вторичные цепи.  Они выполняют функцию согласующего элемента между генератором первичной сети и потребителем импульсного напряжения. ИТ изменяет уровень и полярность формируемого импульса.

Они служат для создания обратной связи в контурах импульсного устройства, применяются для изменения импульса и формирования его в прямоугольную форму, обладающую величиной напряжения с постоянным периодом действия и наиболее крутым фронтом, что соответствует более широкой сфере применения.

Распределение электрических цепей в зависимости от постоянного и переменного значения тока.

Сфера применения импульсных трансформаторов

Основное предназначение ИТ – работа в импульсных устройствах – это: генераторы на триодах, магнетроны, газовые лазеры и прочая устройства. ИТ также используются в качестве дифференцирующих трансформаторов.

Сфера применения ИТ – это практически вся радиоэлектронная аппаратура, включая телевизоры и компьютерные мониторы, они обязательны для блоков питания импульсного типа. Одна из важных функций – применение для стабилизации выходного напряжения в режиме работы устройств.

Они служат для осуществления защиты от короткого замыкания потребителей в режиме ХХ (холостого хода) и защищают устройство от превышения значения напряжения или при перегреве корпуса прибора.

Основные требования

  • Функциональность – определение значений всех электрических параметров (мощность, напряжение и вид импульса)
  • Эксплуатационные требования – надежность и высокая перегрузочная способность, стойкость к механическим повреждениям и климатическому состоянию, повышенная электрическая прочность.
  • Технико-экономические требования – малые габариты и небольшие потери, трудозатраты при изготовлении зависят от свойств, предъявляемых к сфере использования.

Общие конструктивные схемы и типы импульсных трансформаторов

Различие конструктивных форм продиктовано широким диапазоном использования, зависит от мощности, напряжения и вида форм протяженности импульса, предназначения и эксплуатационных требований.

Основные типы обмоток и импульсных трансформаторов – это:

  • Стержневой ИТ.
  • Броневой.
  • Бронестержневой.
  • Тороидальный.

Основной тип форм поперечного сечения – круговая или прямоугольная, аналогичная силовым трансформаторам.

Обозначения в схемах:

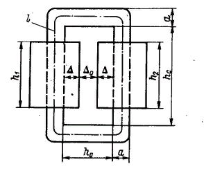
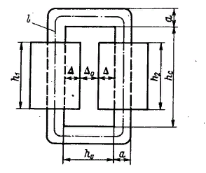
l – длина магнитной линии средней величины;

l1, l2– внутренняя и наружная протяженность (длина) короткой и длинной линии;

h– длины обмоток, цифровой индекс обозначает катушку,

h0 – ширина окна для стержневых и броневых схем и длина ярма для тороидальных МС.

Δ – толщина катушки, с цифровым индексом – толщина изоляционного материала между двумя обмотками.

А1, А2 толщина обмоток;

a, b, c – стороны сечения прямоугольного МС и диаметр круглого МС;

S и S1–геометрическая и рабочая площадь сечений МС;

ka – коэффициент наполнения сечения электротехнической листовой или ленточной сталью;

w – витки обмотки;

n–коэффициент трансформации;

λ – коэффициент использования протяженности МС.

Рис. №1. Конструктивная схема стержневого импульсного трансформатора.

Главная особенность импульсного трансформатора– небольшое количество витков в обмотках. Самыми экономичными считаются тороидальные ИТ, а менее всего – бронестержневые ИТ
-2

Рис. №2. Схема обмотки броневого ИТ.

-3

Рис. №3. Схема обмотки бронестержневого ИТ.

-4

Рис. №4. Конструктивная схема ИТв виде торроида.

-5

Рис. №5. Прямоугольное сечение ИТ поперечного плана.

-6

Рис. №6. Поперечное сечение ИТ кругового типа.

Характерная особенность конструкции импульсного трансформатора

Основное свойство цилиндрической обмотки – невысокая индуктивность рассеяния. Обмотки отличаются простотой конструкции и прекрасной технологичностью. Они могут иметь различное число и расположение слоев и секций, отличаются схемами соединений. В конструкции используется трансформаторное и автотрансформаторное подключение обмоток.

Схема автотрансформаторного подключения используется в случаях, когда нужно снизить индуктивность рассеяния ИТ. Конструкция обмоток может состоять из нескольких слоев, они могут быть однос, и находиться на одном или на двух стержнях МС. Более часты в использовании однослойные обмотки, они простые в плане конструктивного устройства, отличаются большей надежностью. Индуктивность рассеяния достигается за счет наиболее полного использования длины МС обмотки, их располагают на 2-х стержнях.

Какие бывают обмотки

  • Спиральные обмотки – соответствуют ИТ с минимальной индуктивностью рассеяния, рекомендованы к применению при автотрансформаторном включении. Их намотка осуществляется широкой и тонкой фольгой или токопроводящей лентой.
  • Конические обмотки – служат для значительного уменьшения индуктивного рассеяния ИТ с малым увеличением емкости обмоток. Особенность – толщина изоляционного слоя между двумя обмотками, она пропорциональна напряжению между отдельными витками «первички» и «вторички». Толщина увеличивается от начала обмоток к концу в соответствии с линейным законом.
  • Цилиндрические обмотки – обладают невысокой индуктивностью рассеяния, отличаются простой конструкцией и технологичностью.

Что такое потери энергии импульсного трансформатора?

Уменьшение энергетических потерь и создание эффективного КПД – важный вопрос, который стоит при проектировании ИТ. Общие потери суммируются из:

  • потерь на гистерезис;
  • вихревых токов;
  • потерь, связанных с несовершенством изоляции между листами;
  • магнитной вязкости.

Помимо упрощенного расчета и завышения значений существенных потерь, что компенсирует отказ от обоснования потерь и вносит грубые просчеты в расчет, применяют высоколегированные стали и перллои. Благодаря этому, с целью снизить потери, формы петли статического гистеризаса стараются приблизить к прямоугольной форме. Подобные материалы служат для достижения больших индукционных величин.

Вихревые токи разделяют искусственно и с помощью предусмотренных в конструкции магнитной системы (МС) участков с большой, или даже максимально увеличенной магнитной проницаемостью. Таким образом0 получается более-менее удовлетворительное стабильное значение  вихревого тока в стальных листах МС.

Материалы для изготовления импульсного трансформатора

Тип магнитного материала оказывает влияние на качественные показатели и на особенности импульсного режима. Оценка материала осуществляется по величинам и показателям и включает следующие качественные показатели:

  • индукции насыщения;
  • коэрцитивная сила;
  • удельное сопротивление материалов устройства;
  • возможность использования наиболее тонких лент или листов стали.

Электротехническая сталь желательная для создания ИТ включает марки: 3405 – 3408 и 3421 – 3425. Сталь 3425 отличается самым высоким показателем индукции насыщения и малой величиной коэрцитивной силы, самый большой показатель прямоугольности петли гистерезисного цикла. Используется наиболее часто.

Пермаллой (прецизионный сплав), который обладает магнито-мягкими показателями, обычно состоит из никеля и железа, как правило, обработан легирующими компонентами.

Ферриты – еще один материал, который востребован для ИТ с небольшой длительностью трансформированных импульсов, эти МС обладают необыкновенно высоким удельным сопротивлением и полным отсутствием потерь на вихревые токи. Они используются для ИТ с диапазоном импульсов, размер которых определяется в наносекундном диапазоне времени.

Что такое критерий осуществимости импульсного трансформатора

Создание ИТ зависит от искажения изменяемого трансформатором импульса и параметров цепи трансформатора и самого ИТ. Уменьшение удлинения импульсного фронта пропорционально делает большое снижение величины напряжения на вершине импульса и в обратном порядке.

Нелинейные показатели сопротивления способствуют снижению искажений импульса по фронту и по величине, что крайне нежелательно. Искажения необходимо свети к минимуму, происходит это за счет снижения величины коэффициента рассеяния, решение подобного вопроса в выборе соответствующего ИТ с наименьшим коэффициентом рассеяния. Критерий осуществимости выводится при определении параметров цепи трансформатора. Желательно обладание трансформаторной цепью индуктивной реакцией.

Коррекция искажений формы импульса

Не всегда представляется возможным выбрать ИТ, чтобы искажение формы импульса не превышали пределов допустимых. В этом случае для коррекции формы импульса вводят корректирующие двухполюсники или демпфирующие фильтры, состоящие из низкоомных резисторов. Таким способом устраняется выброс напряжения по фронту. В этих целях возможно использование подавляющего диода, его полярность выбирается в соответствии с полярностью напряжению выброса на срезе импульса.

Импульсный трансформатор считается самым важным элементом электронной схемы и несет наибольшую ответственность за ее бесперебойную работу. Он отличается высочайшей надежностью и практически никогда не выходит из строя. Расчет трансформатора индивидуален для всех схем. Вторичная обмотка его обязательно должна быть замкнута на потребительскую нагрузку, ее разомкнутое состояние относится к опасному режиму. Действующие параметры и каскад напряжения находятся в полной зависимости от сборки трансформатора, что влияет на качество схемы радиоэлектронного устройства.

Пишите комментарии, дополнения к статье, может я что-то пропустил. Загляните на карту сайта Электронщик, буду рад если вы найдете на моем сайте еще что-нибудь полезное. Делитесь информацией в соцсетях, ставьте лайки, если вам понравилось - это поможет развитию канала