Добавить в корзинуПозвонить
Найти в Дзене
Разумный мир

Ругать или предлагать анализ и решение? О критике старых электронных схем.

Причиной появления данной статьи стало то, что я в очередной раз наткнулся (естественно здесь, в Дзен) на спорную и довольно неграмотную статью, причем автор в ней выложил свое же видео с Youtube. Статья называется "Схемы запрещенной электроники". Точнее, это даже не статья, а небольшая отсылка к видеоролику. В той статье автор находит "ошибки и косяки" в старых схемах, как он сам пишет, проверенных временем. Но увы, ошибаются не авторы тех схем, а автор той статьи, причем, зачастую, грубо. О чем ему честно пишут в комментариях. Но комментарии комментариями, а вот подробно разобрать, в чем же автор не прав просто необходимо. Большей частью, для начинающих любителей электроники. Разбирать буду подробно и на тех же самых схемах, что и "ругаемая" мной статья. Сразу скажу, что схема полностью рабочая и повторена многими и много раз. Какие же ошибки тут нашел автор той статьи? Во первых, это отсутствие диодов параллельно обмоткам реле для гашения выбросов от ЭДС самоиндукции при их выклю
Оглавление

Причиной появления данной статьи стало то, что я в очередной раз наткнулся (естественно здесь, в Дзен) на спорную и довольно неграмотную статью, причем автор в ней выложил свое же видео с Youtube. Статья называется "Схемы запрещенной электроники". Точнее, это даже не статья, а небольшая отсылка к видеоролику.

В той статье автор находит "ошибки и косяки" в старых схемах, как он сам пишет, проверенных временем. Но увы, ошибаются не авторы тех схем, а автор той статьи, причем, зачастую, грубо. О чем ему честно пишут в комментариях. Но комментарии комментариями, а вот подробно разобрать, в чем же автор не прав просто необходимо. Большей частью, для начинающих любителей электроники.

Разбирать буду подробно и на тех же самых схемах, что и "ругаемая" мной статья.

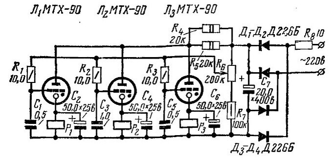
Схема 1. Переключатель елочных гирлянд (журнал Радио N11 1968г.)

Сразу скажу, что схема полностью рабочая и повторена многими и много раз. Какие же ошибки тут нашел автор той статьи? Во первых, это отсутствие диодов параллельно обмоткам реле для гашения выбросов от ЭДС самоиндукции при их выключении. Во вторых, напряжение конденсаторов стоящих параллельно реле.

Начну с напряжения конденсаторов. Утверждается, что 25 В катастрофически мало. Но давайте разберемся, так ли это?

-2

Что бы было нагляднее, я убрал из схемы не имеющие отношения к рассматриваемому вопросу детали. Итак, что мы имеем? Во первых, выпрямитель. Во вторых, балластные резисторы в сумме дающие сопротивление 10 Ком и допустимую мощность 4 Вт. В третьих, собственно тиратрон. В четвертых, реле зашунтированное конденсатором.

Сначала пару слов о тиратроне, вполне допускаю, что многие современные любители электроники никогда с ними не сталкивались. МТХ-90 это тиратрон с холодным катодом. По сути своей, неоновая лампочка работающая в режиме тлеющего разряда, напряжением зажигания которой можно управлять. Когда тиратрон не "зажжен", ток через него не течет. Когда тиратрон "зажжен", через него протекает ток ограниченный внешними цепями и на нем падает напряжение порядка 60В (напряжение поддержания разряда для МТХ-90). Что бы тлеющий разряд не перешел в дуговой необходимо ограничение протекающего через тиратрон тока. Для нас этого достаточно. Не буду более подробно описывать работу тиратрона, это не является темой статьи.

Нам интересен случай включенного ("зажженного") тиратрона. Давайте посчитаем, какое напряжение будет падать на обмотке реле и какой ток будет протекать через тиратрон. Сопротивлением резистора R8 пренебрегаем, поскольку его сопротивление много меньше, чем параллельно включенные R4 и R5. Выпрямление переменного сетевого напряжения 220 В даст нам примерно 310 В постоянного напряжения. Именно такое напряжение будет приложено к последовательно включенным балластному резистору (R4||R5), тиратрону и обмотке реле. Поскольку на тиратроне падает 60В, остаток, то есть 250В остается на балластные резисторы и реле.

В оригинальной схеме использовано реле РЭС-10 РС4.524.302, которое имеет сопротивление обмотки порядка 600 Ом и ток срабатывания 22 мА. Получаем, что через балластные резисторы и обмотку реле протекает ток 250/(10000+600)=23.5 мА. То есть, этого достаточно для срабатывания реле. При этом напряжение на обмотке реле будет 600*0,0235=14,2 В. А это почти в два раза меньше, чем допустимое для выбранных конденсаторов напряжение. Абсолютно штатный режим работы и тиратрона, и реле, и конденсаторов.

А вот с мощностью балластных резисторов немного хуже. При том же токе на них будет падать 235 В, что дает выделяемую в виде тепла мощность 5,6 Вт. Другими словами, они будут сильно греться. Нет, резисторы того времени не выйдут из строя, они были сделаны с большим запасом. Но лучше их заменить на три параллельно включенных резистора 2 Вт 30 Ком. Однако автор той статьи абсолютно не обратил на балластные резисторы внимания.

Теперь посмотрим на отсутствие диодов параллельно обмоткам реле. Действительно, для полупроводниковой техники обмотки реле, как индуктивные элементы, почти всегда шунтируют диодами для ограничения выброса напряжения от ЭДС самоиндукции при их отключении. Но это не единственный способ, используют и другие. Например, используют RC цепи, особенно, на переменном токе.

-3

Если внимательно посмотреть на обсуждаемую схему, то видно, что тут как раз параллельно обмотке подключен конденсатор. Бросок тока через разряженный конденсатор при включении реле будет ограничен балластными резисторами до уровня, безопасного для тиратрона.

Итак, что же получаем? Все претензии автора той статьи оказались полностью несостоятельными. Зато он не обратил внимания на рассеиваемую на балластных резисторах мощность.

И добавлю пару слов от себя. Да, я опять про электробезопасность. Для своего времени схема никаких претензий не вызывала, кроме стандартного предупреждения о бестрансформаторном питании и необходимой предосторожности. Но сейчас можно сказать, что использовать реле РЭС-10 не стоит, так они не рассчитаны коммутацию переменного напряжения 220 В. Но в то время особо выбирать было и не из чего.

Схема 2. Еще один переключатель гирлянд.

-4

У автора той статьи схема немного иная, например, использованы диоды ДГ-Ц22 (Д7Б). Но в остальном все точно так же. Претензии автора той статьи точно такие же, напряжение конденсатора С3 и отсутствие диода параллельно обмотке реле. Давайте посмотрим, что и как в данном случае.

Параметры реле нам не известны, в оригинальной схеме указан только ток срабатывания 5-10 мА. В этой схеме в любой момент времени "зажжен", как минимум, один из стабилитронов.

Начну с претензии к напряжению конденсатора С3. Рассмотрим случай, когда Л3 не зажжен, а Л4 зажжен. При этом у нас оказывается последовательно включен резистор R5 3К, резистор R4 10К и тиратрон. Как я уже говорил, на зажженом тиратроне падает примерно до 60 В. Амплитудное значение напряжения сети порядка 310 В. Получаем, что на последовательно включенные R5 и R4 приходится 250 В. Через эти резисторы будет протекать ток 250/(10000+3000)=19 мА. На резисторе R4 падение напряжения составит 10000*0,019=190В, а на резисторе R5 3000*0,019=57В. Но напряжение на конденсаторе C3 при этом составит 190+60=250В. Другими словами, в данном случае, автор той статьи прав, необходимо использовать конденсатор С3 на напряжение не ниже 300В.

В результате обсуждения в комментариях выяснилось, что я тоже допустил неточность не учтя постоянные времени цепей заряда и разряда конденсатора С3, которые сравнимы с периодом питающей сети. В результате, напряжение на конденсаторе составит примерно 190 В. Спасибо ООО "Жилкомсервис-СЛ" Сухой Лог и Комментатор Яндексный за внимательность и конструктивность обсуждения.

Теперь рассмотрим случай, когда зажжен тиратрон Л3, а Л4 не горит. В этом случае получает последовательно включенные резистор R5, обмотку реле, и тиратрон. Поскольку нам не известно сопротивление обмотки, примем его равным 600 Ом, как и для первой схемы. Таким образом мы получим, что у нас в цепи протекает ток порядка 70 мА, что многовато для МТХ-90. Но автор той статьи этого не заметил.

Необходимо сказать несколько слов и о диодах. Дело в том, что Д7Б, как и ДГ-Ц22, имеют максимально допустимое обратное напряжение всего 100В. Такие диоды нельзя использовать не только для сети 220 В, но даже для сети 110 В (об этом чуть ниже). Но вот автор той статьи почему то не обратил на это никакого внимания.

Что же касается отсутствия шунтирующего диода, то его тут действительно нет, как и шунтирующего конденсатора. Прав ли автор? И да, и нет. Для тиратрона выброс напряжения от ЭДС самоиндукции не страшен, он не приведен к его выходу из строя.

Однако, для полноты картины, нужно сказать, что оригинальная схема (картинки не нашел, но помню, что в старых журналах видел, очень давно) была предназначена для напряжения 127В (использовалось примерно до середины 60-х годов прошлого века в СССР, потом был плавный переход на 220В). А это дает напряжение на конденсаторе С3 как раз 150В. МТХ-90 был доступен уже в 50-е годы прошлого века. То есть, тут ошибку допустили те, кто впоследствии скопировал схему. Так же, возможен вариант, что эта схема разработана не в СССР, а за рубежом (была такая рубрика в журналах), так как никаких претензий не возникает при ее питании от напряжения 110 В (стандартное напряжение в США).

С учетом многократного запаса надежности закладываемого в радиодетали СССР можно сказать, что для напряжения сети 127 В к схеме нет особых претензий. Она вполне подходит для своего времени.

Итак, что мы получаем? В данном уровне претензии автора той статьи к схеме могут быть обоснованы, но лишь для сети 220В. Но он многого просто не заметил.

Схема 3. Генератор световых импульсов.

-5

Претензии автора той статьи стандартны, напряжение на конденсаторе. Кроме того, он почему то почитал, что динистор и лампочка это "некоторый стабилизатор". Ну что ж, давайте разбираться.

Сначала пару слов о динисторе. Этот диод закрыт при напряжении на нем меньше напряжения включения и открывается при превышении этого напряжения. Для КН102А напряжение открывания порядка 20 В. Когда динистор открывается, то падение напряжения на нем не превышает 1.5 В при токе 200 мА. Закрывается динистор при падении тока через него ниже тока удержания. Этот ток сильно зависит от температуры, но можно принять его равным примерно 10-15 мА.

В оригинальной схеме используется лампочка от карманного фонаря на напряжение 2,5 В или 3,5 В. Такие лампочки выпускались на разные токи, обычно от 150 мА до 350 мА.

Когда мы подали на схему переменное напряжение конденсатор С1 разряжен. Он начинает заряжаться через диод VD1 и резистор R1 10К. Максимальный ток заряда будет 310/10000=30 мА, так как динистор закрыт и ток через лампочку не течет. Напряжение на конденсаторе линейно (почти линейно, если быть точным) увеличивается до 20 В, когда открывается динистор. Конденсатор разряжается на лампочку через динистор. Лампочка ярко вспыхивает, но перегореть не успевает. Конденсатор быстро разряжается и динистор закрывается. Далее процесс повторяется. Поэтому напряжение на конденсаторе не может превысить 20 В, что меньше допустимых 50 В. Претензии к напряжению конденсатора при исправных деталях не обоснованы.

Но нужно отметить, что это верно лишь для исправной цепи с динистором и лампочкой. Если лампочка перегорит, то на конденсаторе будет 310 В и он будет пробит. Но без особых "спецэффектов". С учетом этого, разумнее использовать конденсатор на напряжение не менее 400 В, а параллельно ему включить резистор сопротивлением 200К и более, который обеспечит разряд конденсатора при отключении схемы с перегоревшей лампочкой.

С точки зрения современных требований безопасности не рекомендуется использовать данную схему даже для экспериментов под контролем взрослых. Но если вместо сети 220 В использовать трансформатор понижающий напряжение до 36 В, то эксперимент становится безопасным. Только сопротивление резистора нужно уменьшить раза в 3, иначе мигания будут очень редкими. Однако, для тех времен, когда схему этого эксперимента опубликовали, она была вполне допустима для повторения в радиокружках под контролем взрослых. Именно как наглядный эксперимент, и не более того.

Нужно еще несколько слов сказать. Вы заметили, что максимальный ток через резистор будет примерно 30 мА, а ток удержания динистора 15? Получается, динистор не закроется? Закроется. Достаточно вспомнить, что у нас переменное напряжение и в течении половины периода напряжение после выпрямительного диода будет равно нулю.

Итак, что мы имеет? Никаких претензий к схеме быть не может, при условии исправности всех деталей. Особенно лампочки. Поэтому автор той статьи не прав. Но нужно быть внимательным и соблюдать осторожность.

Схема 4. Фотореле.

-6

Даже не буду упоминать об отсутствии шунтирующего обмотку реле диода, уже все сказал в комментариях выше. Оставлю без комментариев и слова автора той статьи о том, что "с импульсной схемотехникой мало кто связывается вообще". А вот на остальное посмотрим.

Автор той статьи, почему то, заявил, что напряжение конденсатора 300 В "нормально для такого тиратрончика". Но позвольте, дело то вовсе не в тиратроне, а напряжении питающей сети. И в данном случае нужно использовать конденсатор не менее, чем на 400 В. То есть, в данном случае автор той статьи не прав.

В результате обсуждения в комментариях выяснилось, что я тоже допустил неточность не учтя постоянные времени цепей заряда и разряда конденсатора С1, которые сравнимы с периодом питающей сети. В результате, напряжение на конденсаторе составит примерно 200 В. Спасибо ООО "Жилкомсервис-СЛ" Сухой Лог и Комментатор Яндексный за внимательность и конструктивность обсуждения.

Резистор R2, в большей степени, не является частью делителя напряжения, как утверждает автор той статьи, а обеспечивает разряд конденсатора C1 при отключении схемы. Даже не смотря на то, что тут однополупериодный выпрямитель, амплитудное значение напряжения на С1 составит 310 В, когда тиратрон не горит (реле выключено).

Далее, автор той статьи утверждает, что реле "включается плааавненько". Это, интересно, почему? Тиратрон работает как пороговое устройство и включение/выключение реле будет происходить очень быстро, а отнюдь не плавно. Опять автор не прав.

При зажигании тиратрона начальный бросок тока будет 120 мА - 250 мА. Примерно, так как не известны параметры реле. Это многовато для тиратрона, но в в импульсе (коротком) допустимо. В дальнейшем, ток через тиратрон и реле будет определяться последовательно включенными резисторами R1, R3, сопротивлением обмотки реле и тиратроном. Что дает примерно 50 мА. А вот это уже точно многовато. Однако, автор той статьи как то упустил это из виду. Но нужно сказать, что если использовалось реле с большим рабочим напряжением, то ток будет укладываться в допустимые пределы. А поскольку тип используемого реле не указан, нам остается лишь гадать

В общем и целом, схема рабочая. На пределе допустимого, но рабочая. Во всяком случае, претензии автора не обоснованы.

Остальные схемы.

У автора той статьи упоминаются еще две схемы. Еще один переключатель гирлянд, выполненный в виде кота, и фрагмент схемы фотореле. Если честно, я уже устал подробно все разбирать. Поэтому остановлюсь лишь кратко.

Итак, переключатель гирлянд. Опять претензии к отсутствию диодов... И к напряжению конденсатора после однополупериодного выпрямителя. Действительно, там использован конденсатор на напряжение 150 В, что явно недостаточно. Но нужно учесть, что на схеме не указано сетевое напряжение, лишь надпись "сеть". А комментарий около балластного резистора "для 220В...") намекает на то, что схема рассчитана на сеть 127 В, а то и 110 В. Поэтому верны мои слова к схеме 2.

Кроме того, качество изображения схемы таково, что многое просто не видно. Например, запятые. А это очень важно, так как номинал 100 у резисторов, как это видно из текста описания к статье, на самом деле 10,0. А это не прецизионные 10 Ом, а 10 МОм, как было по стандартам обозначения номиналов на схемах! Можно предположить, что балластный резистор для 127 В 390 Ом. А для 220? 39 Ком, или 3,9 Ком? Но в обоих случаях увеличение не пропорцилнальное.

И последняя схема, фрагмент фотореле. Не буду повторять про диоды... Но автор, в очередной раз, не заметил конденсатор установленный параллельно обмотке реле. Поэтому просто вспомним мои слова к схеме 1. В схеме использовано поляризованное реле РП-7, правда не указан его паспорт. Это высокочувствительное реле с высокоомной обмоткой. Поэтому каких либо претензий к фрагменту схемы нет. Она абсолютно рабочая и режимы работы деталей находятся в допустимых пределах.

Заключение.

Однако, пора закругляться. Я разделяю заботу автора той статьи о безопасности. Однако, никак не могу согласиться с его утверждениями.

В чем же автор не прав?

1. Он пытается транслировать современные принципы схемотехники на схемы разработанные в середине прошлого века. Причем не на полупроводниковых приборах, а на лампах. Отсюда его навязчивая идея, что не зашунтированная диодом обмотка реле приведет к "преждевременной гибели" тиратрона. Я не знаю, почему он полностью игнорирует шунтирование обмотки конденсатором...

2. Он абсолютно не учитывает, что напряжение в сети отнюдь не всегда было 220В. Наиболее распространенным напряжением до начала-середины 60-х годов было 127В. А местами, и 110 В. Подтверждением этого являются вот такие переключатели в старой аппаратуре.

Переключатель сетевого напряжения телевизора Рубин-106 (выпущен в 1970 году)
Переключатель сетевого напряжения телевизора Рубин-106 (выпущен в 1970 году)

И некоторые упоминаемые автором той статьи схемы рассчитаны не на 220 В, а на 110/127.

3. Употребляя слова "косяк косяк", "ужас", "как же так, старые схемы, которым я верил", "и это опубликовано в уважаемом журнале", автор не утруждает себя хоть какими то расчетами и указанием параметров деталей в критикуемых им схемах. Как и вниманием в деталям, таким, как напряжение сети, для которого рассчитана схема.

А что я сам могу сказать об этих схемах? Ну, в некоторой степени, я свое мнение уже высказал. Но попробую немного систематизировать

1. Для своего времени, и с учетом всех реалий того времени (напряжение сети, доступность и качество деталей, общий подход к схемотехнике, параметры деталей, и т.д.) все эти схемы корректны и нормальны. Да, некоторые, что называется на грани, но в пределах нормы того времени.

2. Для многих любительских, да и не только, схем в 50-х 60-х использовалось бестрансформаторное включение. По причине дефицитности трансформаторов и их высокой цены. Были и радиоприемники с бестрансформаторным питанием. Да, это опасно, но таковы реалии времени. Не лучше дело обстоит и с использованием автотрансформаторов, вместо обычных трансформаторов. Так как связь с сетью сохраняется. Это совершенно не означает, что подобные схемы нужно бездумно повторять сейчас, но критиковать авторов старых схем за это сейчас, с позиции нашего времени... По моему, в корне неверно.

3. В процессе многократного копирования исходных схем неизбежно появлялись ошибки и неточности. Особенно, если оригинал был отпечатан с не очень высоким качеством. Если изменялись какие либо параметры, например, напряжение питания, не всегда при копировании вносились изменения в номиналы всех деталей в копии. Могут быть и ошибки редакторов, готовивших схемы и статьи к печати. Поэтому нужно внимательно изучать схему, которую собираетесь повторить. Это, впрочем, касается любых схем, даже современных. Начинающие не всегда могут это сделать, к сожалению. И тут помощь старших товарищей может быть незаменима. Конструктивная помощь, с подробными пояснениями.

4. Схема 3 действительно не лучший выбор для повторения начинающими, даже как эксперимент. Но не надо забывать, что раньше требования к безопасности были совсем другими.Я родился в 1963 году. Мы спокойно бегали по крышам, лазили по деревьям, жгли костры, взрывали самодельный порох, формулу которого можно было найти во многих книгах для начинающих химиков (причем не только черного пороха, но и пироксилина), в магазинах спокойно продавалась алюминиевая пудра и селитра, марганцовка и глицерин, заряжали конденсаторы от сети и разряжали друг об друга, взрывали их напряжением больше номинала. И многое многое другое. Причем это считалось относительно нормальным, а не как сейчас. Не хочу сказать, что это абсолютно нормально, но это реалии того времени. И это надо учитывать.

5. Если видите ошибку, особенно, в старых схемах, где были совсем другие требования к безопасности, не ругайте ее авторов с позиции дня сегодняшнего. Лучше напишите свой подробный анализ с указанием найденных проблем, что бы всем, особенно новичкам, стало понятно. И опишите пути решения этих проблем. Например, как для схемы 3, использование понижающего и изолирующего трансформатора. Помните, ценна не сама критика, а то, что новички научатся немного лучше анализировать схемы самостоятельно, а желающие повторить схему смогут, воспользовавшись вашими решениями проблем, избежать печальных ошибок.

5. С точки зрения современных требований безопасности, а я их сторонник (Немного о безопасности электронных устройств, Об опасности телефонных зарядок. И не только., как примеры), повторять подобные схемы или не стоит (схема 3), или стоит весьма осмотрительно. Как минимум, выбирать детали с параметрами, подходящими для конкретных величин токов и напряжений. А для этого нужно провести небольшие расчеты. Нельзя забывать о надежной изоляции элементов схемы от случайных прикосновений в процессе эксплуатации готового изделия. В конце концов, и в современном мире часто используются схемы с прямым соединением с сетью. Но необходимо строго соблюдать требования электробезопасности. В том числе, при выборе используемых деталей.

Вот такая, немного сумбурная, статья получилась. И в ней немало спорных моментов. Причем, в некоторых случаях, я могу сам с собой поспорить. Нетипичная такая для моего канала статья. Написана на одном дыхании, частично, под влиянием эмоций. Но пусть все остается так, как написано...