Добавить в корзинуПозвонить
Найти в Дзене
VRGeek.ru

SONY ЗАПАТЕНТОВАЛИ ОЧКИ С ФУНКЦИЕЙ ОТСЛЕЖИВАНИЯ ВЗГЛЯДА ДЛЯ VR

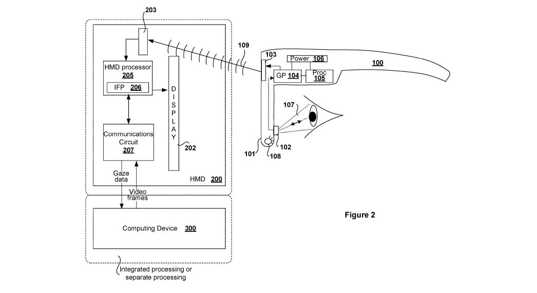
Ну, это интересный дизайн. Sony запатентовала то, что выглядит как пара обычных рецептурных очков для использования с гарнитурами VR, такими как PSVR. Очки также включают датчики отслеживания взгляда.  Патент, опубликованный на прошлой неделе, не демонстрирует новую гарнитуру VR с собственными возможностями отслеживания глаз. Вместо этого он связан с парой очков по рецепту, которая поместиться внутри любой гарнитуры. Гарнитуры VR имеют неравномерную историю с обычными очками; некоторые из них легко приспосабливают их, а другие-нет. Разработка пользовательских очков, предназначенных для использования с гарнитурой, может помочь Sony привлечь больше энтузиастов VR к PSVR или, возможно, необъявленного PSVR 2.  Но именно включение датчика слежения за глазами делает этот патент действительно интересным. В патенте говорится, что датчик способен определять “информацию о взгляде пользователя с целью улучшения качества контента, предоставляемого для рендеринга на очках виртуальной реальности”. 

Ну, это интересный дизайн. Sony запатентовала то, что выглядит как пара обычных рецептурных очков для использования с гарнитурами VR, такими как PSVR. Очки также включают датчики отслеживания взгляда. 

Патент, опубликованный на прошлой неделе, не демонстрирует новую гарнитуру VR с собственными возможностями отслеживания глаз. Вместо этого он связан с парой очков по рецепту, которая поместиться внутри любой гарнитуры. Гарнитуры VR имеют неравномерную историю с обычными очками; некоторые из них легко приспосабливают их, а другие-нет. Разработка пользовательских очков, предназначенных для использования с гарнитурой, может помочь Sony привлечь больше энтузиастов VR к PSVR или, возможно, необъявленного PSVR 2. 

Но именно включение датчика слежения за глазами делает этот патент действительно интересным. В патенте говорится, что датчик способен определять “информацию о взгляде пользователя с целью улучшения качества контента, предоставляемого для рендеринга на очках виртуальной реальности”. 

Для нас это звучит очень похоже на foveated rendering. Это процесс, в котором гарнитура отслеживает положение глаз пользователя и полностью отображает область экрана в центре поля зрения. Остальная часть изображения не полностью визуализирована, но это незаметно для периферийного зрения пользователя. Данная функция значительно уменьшает потребляемую мощность обработки на устройстве, работающего с VR. 

-2

Вопрос в том, почему эти очки включают датчик отслеживания глаз, а не саму гарнитуру? Мы можем назвать несколько причин. Возможно, например, эти очки можно использовать в тандеме с текущей гарнитурой PSVR, которая не имеет встроенного отслеживания глаз. PSVR является домом для крупных впечатлений, но не секрет, что PS4, который питает его, бледнеет по сравнению с ПК под управлением Oculus Rift и HTC Vive. Реализация foveated рендеринга в текущей настройке действительно может дать PSVR импульс. 

Или, возможно, просто использование этих очков представляет собой датчик отслеживания глаз, уже встроенный в следующую версию PSVR. Таким образом, датчик в очках просто заменяет другой. Или это может быть ни одна из вышеописанных вещей. В то время, когда компании стремятся сделать VR более доступным, мы должны задаться вопросом, действительно ли Sony попросит людей купить очки, специально предназначенные для использования с гарнитурами. 

Это всего лишь последний из серии патентов, которые мы видели у Sony в 2019 году. В прошлом месяце мы сообщили о том, что была замечена беспроводная версия PSVR. Еще в феврале мы также заметили некоторые новые функции для долгосрочного патента контроллера, который может заменить PlayStation Move. Тем не менее, с таким большим количеством игр PSVR в этом году мы не ожидаем увидеть преемника гарнитуры в 2019 году. 

VRGeek будет продолжать держать вас в курсе последних событий о виртуальной реальности. 

Далее:  Почему ловля покемонов в Skyrim может стать будущим VR и AR