Добавить в корзинуПозвонить
Найти в Дзене
Onfoto.ru

Apple патентует систему для подводной мобильной фотографии

Подводная съемка осложняется не только необходимостью защиты камеры от воды, но и низким уровнем освещения, паразитными оттенками и возможной мутностью воды. Режимы подводной съемки на защищенных камерах и водонепроницаемых смартфонах не являются чем-то новым, однако новая технология Apple может немного облегчить этот непростой процесс. Компания подала заявку на патент под названием Submersible Electronic Devices with Imaging Capabilities («Погружаемые электронные устройства с возможностью съемки»), в котором описывается система, которая автоматически определяет, если кнопка затвора нажимается под водой, и делает необходимые корректировки для оптимизации качества изображения. Для этого устройство использует целый ряд сенсоров для определения, что устройство находится под водой и определяет необходимые шаги для улучшения качества изображения. Цветовой датчик внешней освещенности может использоваться для измерения спектра над и под водой, помогая рассчитать сколько света по

Подводная съемка осложняется не только необходимостью защиты камеры от воды, но и низким уровнем освещения, паразитными оттенками и возможной мутностью воды. Режимы подводной съемки на защищенных камерах и водонепроницаемых смартфонах не являются чем-то новым, однако новая технология Apple может немного облегчить этот непростой процесс.

Компания подала заявку на патент под названием Submersible Electronic Devices with Imaging Capabilities («Погружаемые электронные устройства с возможностью съемки»), в котором описывается система, которая автоматически определяет, если кнопка затвора нажимается под водой, и делает необходимые корректировки для оптимизации качества изображения.

-2

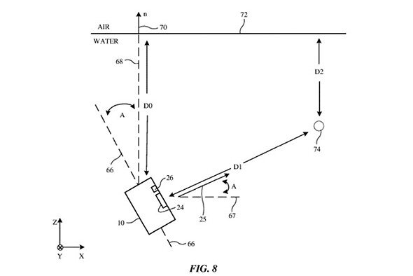
Для этого устройство использует целый ряд сенсоров для определения, что устройство находится под водой и определяет необходимые шаги для улучшения качества изображения. Цветовой датчик внешней освещенности может использоваться для измерения спектра над и под водой, помогая рассчитать сколько света поглощается водой.

Датчики глубины, дистанции, давления и ориентации могут быть использованы для измерения мутности воды, а также расстояния до поверхности и объекта съемки, также можно замерять рассеянный свет, чтобы выяснить, как он влияет на изображение.

Собрав всю необходимую информацию с сенсоров, система может произвести необходимые настройки камеры и обработку изображения, например, изменить баланс белого, чтобы избежать паразитных зеленых оттенков или улучшить экспозицию и передачу текстур в мутной воде.

Как и с любыми другими патентами пока неизвестно, когда и появится ли вообще данная технология в серийных устройствах. Однако все перечисленные в патенте сенсоры уже есть в современных моделях iPhone, поэтому в теории, система может быть применена с помощью обновления прошивки текущих устройств.