Добавить в корзинуПозвонить
Найти в Дзене

ПРИБОР ДЛЯ РЕФЛЕКСОТЕРАПИИ

Электрические процессы, происходящие в природе, несомненно явились одним из основополагающих условий происхождения жизни на земле. Электромагнитные излучения, поля, связанные с ними и зависящие от них упорядоченные движения электронов, ионизация электролитов водных растворов и многие другие электрохимические процессы влияют на живой организм.Уже более 5 тысяч лет человеку известны и применяются им для лечения своих недугов методы рефлексотерапии. Современными исследователями установлено, что в основе иглотерапии лежат электрохимические процессы.Эти знания побудили использовать непосредственно электрический ток для воздействия на биологически активные точки, расположенные в определенном порядке на коже млекопитающих. Это оказалось более безопасным и не менее эффективным, чем введение игл в тело человека иногда на глубину до 10 см. Для достижения положительного результата при электропунктуре - так называли метод воздействия на активные точки электрическим током - как и при любом методе
Оглавление

Электрические процессы, происходящие в природе, несомненно явились одним из основополагающих условий происхождения жизни на земле. Электромагнитные излучения, поля, связанные с ними и зависящие от них упорядоченные движения электронов, ионизация электролитов водных растворов и многие другие электрохимические процессы влияют на живой организм.Уже более 5 тысяч лет человеку известны и применяются им для лечения своих недугов методы рефлексотерапии. Современными исследователями установлено, что в основе иглотерапии лежат электрохимические процессы.Эти знания побудили использовать непосредственно электрический ток для воздействия на биологически активные точки, расположенные в определенном порядке на коже млекопитающих. Это оказалось более безопасным и не менее эффективным, чем введение игл в тело человека иногда на глубину до 10 см.

Для достижения положительного результата при электропунктуре - так называли метод воздействия на активные точки электрическим током - как и при любом методе лечения, необходим точный диагноз. Надо точно знать, недостаток или избыток энергии в том меридиане, на точку которого воздействуют, и в каком состоянии (возбужденном или заторможенном) находятся точки, входящие в рецепт воздействия.

Кроме этого надо учитывать еще одно очень важное обстоятельство - воздействуя на точки одного меридиана, вы будете обязательно влиять на другие. Использовать рефлексотерапию, не учитывая всех этих особенностей, - все равно, что выйти в океан без компаса.

Проводимость точки не постоянна и зависит от ее состояния и полярности приложенного напряжения. При отрицательной полярности приложен к точке - большая проводимость, если она заторможена, и меньшая проводимость, если возбуждена. Меняя электропроводность в тканях, организм сам стремится содействовать предлагаемой ему помощи. При положительной полярности большая проводимость будет у возбужденной точки.Следовательно, если приложить к точке напряжение переменной полярности, она больше будет реагировать на ту полярность, которая ей необходима для приведения в нормальное состояние.

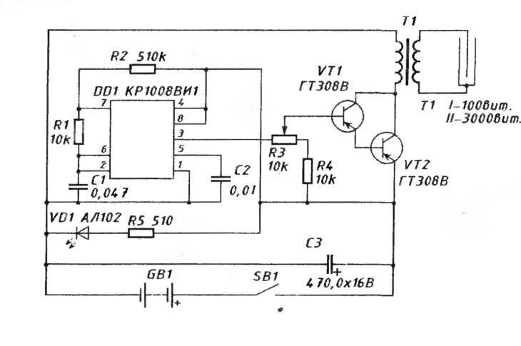
Питается прибор напряжением 3 В от двух элементов . В электронную часть прибора входит задающий генератор на таймере КР1006ВИ1, регулятор выходного сигнала R3, усилитель на транзисторах ѴТ1 и ѴТ2. Усилитель нагружен на импульсный трансформатор, повышающая обмотка которого подсоединяется к электродной системе.

С резистора R3 короткие импульсы длительностью меньше 50 мкс с частотой 50 Гц подаются на вход усилителя. После спада импульса энергия магнитного поля, запасенная в сердечнике импульсного трансформатора, разряжается серией затухающих колебаний. Частота этих колебаний определяется параметрами трансформатора и составляет 20 кГц.

Конструкция

Электродная система представляет собой три контактных полосы, закрепленные на пластинке из полистирола. Контактные полосы изготовлены из электродной нержавеющей стали диаметром 3 мм.

Очищенная и отполированная проволока обрабатывается напильником, до половины диаметра загибается в сторону плоскости по размеру между отверстиями в пластинке. Готовые контакты вставляются в отверстия в пластинке и крепятся любым способом (эпоксидный клей, пайка, отгиб).

-2

В пластинке из полистирола для прокладки проводов к электродам, вырезаются пазы. Крепится металлическая трубка. Для крепления конец трубки с одной стороны разрезается и аккуратно отгибается в стороны. На отогнутых плоскостях сверлятся отверстия для крепления.

На другой конец трубки насаживается деревянная ручка. Через ручку и трубку прокладывается гибкий провод длиной полтора метра, соединяющий контакты с выходом прибора. Два крайних контакта соединяются вместе. Провод припаивается к среднему и крайним контактам. Затем обе пластины скрепляются винтами.

На лицевую панель выведены: выключатель, регулятор выхода и светодиод-индикатор включения прибора. Правильно смонтированный прибор наладки не требует. Прибор помещен в пластмассовый корпус, в котором имеется отсек для укладки электродной системы с проводом и отсек для батареи питания.

Пользование прибором

Включить питание выключателем SB1. При исправной батарее должен загореться индикатор включения. Взяв за ручку электродную систему, приложить электроды на поверхность кожи в месте, подлежащем лечению.

Отрегулировать ручкой регулятора выхода выходной сигнал, так чтобы отсутствовали болезненные ощущения. Допустимо легкое покалывание. Круговыми и возвратно-поступательными движениями медленно и плавно пройтись по болезненной зоне.

Продолжительность процедуры составляет не более 5 мин. Кроме зоны болезни, рекомендуется пройтись прибором вдоль позвоночника.

По обе стороны от него находятся несколько десятков активных точек, ответственных за работу многих систем организма. Прибор эффективен при лечении радикулитов, остеохондрозов, артритов, зубной боли и многих других заболеваний.

Улучшение состояния происходит в течение 10...15 мин., если болезнь не имеет хронический характер. При хронических заболеваниях приходится проводить несколько курсов лечения по 7... 10 дней. Отрицательного влияния не замечено.

Удачи всем!

СПАСИБО!