Добавить в корзинуПозвонить
Найти в Дзене
Кабель.РФ: всё об электрике

Подключаем выключатель с подсветкой. Все по уму!

Выключатели с подсветкой нашли широкое применение во многих сферах жизнедеятельности человека.
Он представляет собой обычный выключатель, дополненный элементом индикации – газоразрядной лампочкой (как правило, неоновой) или светодиодом.
Красивое и удобное дополнение обычного выключателя элементом подсветки предназначено для быстрого отыскания выключателя в темное время суток, или в помещениях, не

Выключатели с подсветкой нашли широкое применение во многих сферах жизнедеятельности человека.

Он представляет собой обычный выключатель, дополненный элементом индикации – газоразрядной лампочкой (как правило, неоновой) или светодиодом.

Красивое и удобное дополнение обычного выключателя элементом подсветки предназначено для быстрого отыскания выключателя в темное время суток, или в помещениях, не имеющих естественного освещения. В собственных квартирах мы без труда ориентируемся в любое время суток и без труда находим выключатели не глядя. В этом случае подсветка становится больше элементом дизайна.

Сегодня практически у любого производителя представлены серии выключателей всех видов и назначений (одноклавишные, двухклавишные, проходные и др.), которые оснащены подсветкой. Цвет светодиода может быть любым и выбирается изготовителем выключателя (как правило, это красный или зеленый цвет).

выключатель с подсветкой
выключатель с подсветкой

Рассмотрим более подробно конструкцию и применение выключателя с подсветкой в схемах управления лампами освещения разного типа.

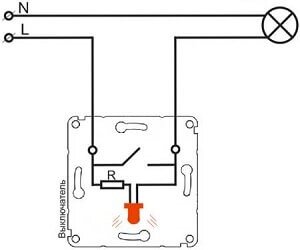
На рисунке ниже изображена схема подключения лампы накаливания через выключатель, имеющий элемент подсветки (в данном случае – светодиод). Сам элемент подсветки работает (светится) только тогда, когда освещение выключено и потребляет очень малое количество электроэнергии (не более 1кВт·ч за год непрерывного свечения). Сама лампа освещения является элементом цепи питания светодиода, но так как величина протекающего через нее тока не превышает 20 мА, свечения нити не наблюдается. При включении выключателя элемент подсветки шунтируется контактом выключателя, а лампа освещения работает с номинальным током потребления (примерно 0,45А при мощности лампы в 100Вт).

схема подключения лампы накаливания
схема подключения лампы накаливания

Следует отметить, что люминесцентные и светодиодные лампы (некоторая часть) некорректно работают с выключателями, имеющими индикацию. Это проявляется в виде эффекта мерцания или свечения в отключенном положении выключателя. Это происходит из-за наличия в данных лампах электронной схемы питания (драйвера) и незначительного тока питания светодиода подсветки становится достаточно для возникновения этого эффекта.

-3

Для корректной работы данных типов ламп от выключателей с подсветкой придется либо отказаться, либо внести дополнительные изменения в схему их подключения. Например, для этого можно разделить цепи питания подсветки и драйвера с помощью малогабаритного реле, которое можно установить в корпусе осветительного прибора (конечно при наличии места и конструктивной возможности для монтажа).

И конечно следует помнить, что все электромонтажные работы должны проводиться только квалифицированным и подготовленным персоналом!

Если Вам понравился этот материал, поделитесь им в социальных сетях!

Также рекомендуем статью "Как соединить провода грамотно?".

А для того, чтобы не пропустить выход новых статей, ставьте "лайк" и подписывайтесь на наш канал: Кабель.РФ: всё об электрике.