Добавить в корзинуПозвонить
Найти в Дзене
*BlackStar*

Беззвучный выстрел: как советские оружейники воплощали в жизнь идею бесшумного патрона

Советская оружейная отрасль с одной стороны гремела на весь мир отдельными моделями, а с другой - оставалась особо секретной там, где речь шла о нетривиальных разработках. Под эту категорию попала и технология производства бесшумных пуль: при том, что аналогичная иностранная концепция была известна, о советской ничего не знали вплоть до развала СССР. И лишь сегодня можно в полной мере увидеть и

Советская оружейная отрасль с одной стороны гремела на весь мир отдельными моделями, а с другой - оставалась особо секретной там, где речь шла о нетривиальных разработках. Под эту категорию попала и технология производства бесшумных пуль: при том, что аналогичная иностранная концепция была известна, о советской ничего не знали вплоть до развала СССР. И лишь сегодня можно в полной мере увидеть и осознать, как много отечественные оружейники сделали в этом направлении.

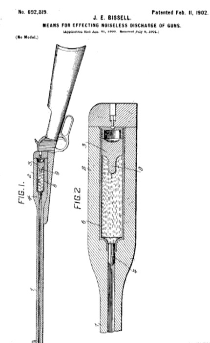
Справедливости ради следует отметить, что о зарубежной разработке патронов, которые стреляли бы беззвучно, было известно больше и раньше. Так, мировая общественность достаточно давно знает о патенте американца по фамилии Биссель, датированный 1902-м годов под названием «Способы бесшумной стрельбы из оружия» (англ. Means for effecting noiseless discharge of guns). Суть его идеи заключалась в особой конструкции оружия, где небольшой пороховой заряд отделяется от пули пыжом-поршнем и слоем жидкости, с помощью которых при выстреле пороховые газы не выпускались наружу.

-2

Доподлинно неизвестно, были ли знакомы советские инженеры с конструкцией, предлагаемой патентом Бисселя, однако первые известные обывателю результаты их деятельности в этом направлении - а речь в данном случае идет о разработке ещё до начала Великой Отечественной войны бесшумных патронов Гуревича - предлагали практически идентичную систему с использованием промежуточной жидкости, которая исполняет роль толкателя и ускорителя пули.

-3

Следующей значимой разработкой в этом направлении можно считать создание И. Я. Стечкин в середине прошлого века заданию КГБ СССР специального бесшумного патрона СП-1 с отсечкой пороховых газов в стволе оружия. Именно эта технология в итоге позволила в будущем спроектировать целый ряд моделей бесшумного оружия, которые не отягощались привычным, но громоздки глушителем звука выстрела. Причем первоначально данная разработка применялась для создания огнестрельного оружия необычного вида - например, замаскированного под портсигары или пачки сигарет.

-4

А вот одним первых собственно пистолетов, способных бесшумно выстрелить, стал разработанный специалистами технических служб КГБ СССР двуствольный несамозарядный пистолет С4. Проектировка его закончилась к началу шестидесятых годов прошлого века, а в качестве патрона к нему была выбрана специальная модель «Змея» (7,62×63 ПЗ). Однако на одной вариации они не остановились: так, несколько раз была произведена модернизация патрона «Змея», в результате чего появилось еще два его варианта - ПЗА и ПЗАМ. Под них же выпускался и модернизированный пистолет под индексом С4М.

-5

Параллельно с С4И, то есть, еще с середины пятидесятых годов Климовский НИИ-61 (ныне ЦНИИТОЧМАШ), совместно с ЦКБ-14 (ныне КБ Приборостроения в Туле) занимались подобной разработкой. Речь идет о создании бесшумного пистолета под патроны СП-2, а позднее и СП-3, фундаментом для которых также стали разработки Стечкина.

А десятилетие спустя, в 1965 году на вооружение КГБ СССР и армейских спецподразделений поставили несамозарядный пистолет МСП, который был оснащен откидным блоком из двух стволов. Последние заряжались двумя 7,62-мм бесшумными патронами СП-2. К 1972 году был также спроектирован модернизированный вариант под усовершенствованный бесшумный патрон СП-3. У МСП было также весьма говорящее прозвище - «Гроза».

-6

Следующими разработками в данном направлении были 7,62-мм патрон СП-4, отличающийся повышенной по сравнению с предшественниками эффективностью, и самозарядный пистолет ПСС, а также револьвер ОЦ-38 под него. А уже в постсоветский период появился новейший бесшумный пистолет ПСС-2 под более мощный 7,62-мм патрон СП-16, который был принят на вооружение в 2011 году.

-7

О большинстве таких разработок советского периода стало известно только после развала СССР в рамках рассекречивания ряда документов той эпохи. А вот о современных проектах, связанных с использованием технологии бесшумного патрона, мы знаем намного меньше. И все-таки рано или поздно, хоть и с большим опозданием, но общественность получит возможность узнать об отечественных разработках огнестрельного оружия, которое умеет беззвучно стрелять.