Добавить в корзинуПозвонить
Найти в Дзене

Согласно новому патенту, Apple может создать черный MacBook

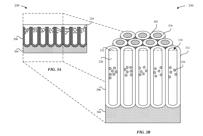
Чтобы создать черный цвет, в патенте Apple предлагается использовать «наноразмерные трубки» в слое над металлической поверхностью для поглощения входящего видимого света.
Черный MacBook
MacBook черного цвета уже в разработке? В четверг Apple получила патент, который указывает на то, что компания, по крайней мере, работает над этой версией.

Чтобы создать черный цвет, в патенте Apple предлагается использовать «наноразмерные трубки» в слое над металлической поверхностью для поглощения входящего видимого света.

Черный MacBook
Черный MacBook

MacBook черного цвета уже в разработке? В четверг Apple получила патент, который указывает на то, что компания, по крайней мере, работает над этой версией.

Патент, который был замечен у Apple, говорит о том, что нужно покрыть кусок металла специальным защитным слоем, поглощающим видимый свет. В результате обещается создать матово-черный цвет на поверхностях, как алюминий, титан и сталь.

Согласно патенту Apple, современные методы окрашивания бытовой электроники в черный цвет являются ошибочными, поскольку металлические поверхности все равно будут отражать свет. «Действительно, лучшие попытки достигли только темно-серого цвета», – написала компания в заявке, которая изначально была подана еще в мае 2019 года.

Чтобы решить эту проблему, Apple, похоже, приняла принцип Vantablack – одного из самых черных тканевых материалов на планете. Он также может поглощать свет, создавая ультра-черный вид, используя миллионы микроскопических углеродных нанотрубок для улавливания входящих фотонов.

В патенте Apple также предлагается использовать «наноразмерные трубки» вместе с цветными пигментами для создания тонкого слоя на металлической поверхности для реализации настоящего черного цвета. Далее в документации приводятся примеры применения этой техники на смартфоне, планшете, умных часах и, наконец, на ноутбуке.

Фото из патента
Фото из патента

«Кроме того, любой видимый свет, который не поглощается этими светопоглощающими элементами, диффузно отражается от внешней поверхности», – говорится в патенте компании. «В результате внешняя поверхность имеет низкий блеск и матовую поверхность».

Потенциальный MacBook черного цвета, безусловно, внесет разнообразие в линейку. В настоящее время MacBook Pro доступен только в двух цветах: серебристом и космическом сером. Между тем MacBook Air доступен в третьем цвете – золотом.

В последний раз Apple предлагала MacBook черного цвета более десяти лет назад с моделью из черного поликарбоната, производство которой позже было прекращено. Чтобы получить продукт в черном цвете, вам в настоящее время придется довольствоваться специальными «скинами» от таких поставщиков, как Blvck Paris, которые можно наклеить на корпус ноутбука.

Читайте также:

Из-за торгового конфликта США и Китая, Apple готов перенести все свое производство во Вьетнам.

На ноутбуках Mac с архитектурой Arm возможно запустить Windows, но Microsoft должны оказать помощь.

Внутри MacBook на Intel почти ничем не отличаются от MacBook с процессором М1.

Оригинал статьи на нашем сайте: https://h-it.ru/soglasno-novomu-patentu-apple-mozhet-sozdat-chernyy-macbook