Найти в Дзене

Что такое проект и какие проекты бывают. (часть 2)

А теперь поговорим о самой часто встречаемой документации.
Рабочая документация.
Согласно 87 постановления правительства О составе разделов проектной документации и требованиях к их содержанию
4. В целях реализации в процессе строительства архитектурных, технических и технологических решений, содержащихся в проектной документации на объект капитального строительства, разрабатывается рабочая

А теперь поговорим о самой часто встречаемой документации.

Рабочая документация.

Согласно 87 постановления правительства О составе разделов проектной документации и требованиях к их содержанию

4. В целях реализации в процессе строительства архитектурных, технических и технологических решений, содержащихся в проектной документации на объект капитального строительства, разрабатывается рабочая документация, состоящая из документов в текстовой форме, рабочих чертежей, спецификации оборудования и изделий.

СП 48.13330.2019 ОРГАНИЗАЦИЯ СТРОИТЕЛЬСТВА.

3.21 лицо, осуществляющее подготовку проектной документации (проектная организация): Физическое лицо, индивидуальный предприниматель или юридическое лицо, выполняющие определенный вид или виды работ по разработке решений в составе проектной или рабочей документации.

3.40 рабочая документация: Документация, разрабатываемая на второй стадии при двухстадийном проектировании в целях реализации в процессе строительства архитектурных, технических и функционально-технологических решений, содержащихся в проектной документации и состоящая из документов в текстовой форме, рабочих чертежей с детальной проработкой узлов, спецификаций оборудования, изделий и материалов, необходимых для производства строительно-монтажных работ, обеспечения строительства оборудованием, изделиями и материалами и (или) изготовления строительных изделий.

4.6 Базовыми функциями застройщика на период строительства являются:

- обеспечение строительства проектной документацией и результатами инженерных изысканий, утвержденных в установленном порядке согласно;

- обеспечение работ комплектами рабочей документацией, единовременное или поэтапное, соответствующей утвержденной проектной документации и допущенной (принятой) к производству работ путем простановки штампа;

Как видно из определения рабочая документация необходима, для реализации решений содержащихся в проектной документации. Так например если в проектной документации требовались принципиальные схемы инженерных систем, а в части АР только планы, разрезы да фасады. То в рабочей документации у нас будут планы и аксонометрические схемы инженерных сетей, кладочные планы, ведомости окон и дверей, узлы креплений и иная мелкая деталировка.

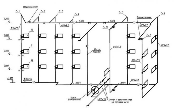
Рассмотри для примера принципиальную схему отопления из проектной документации и аксонометрическую схему из рабочей документации.

Так же в рабочей документации производится подсчёт материалов необходимых для строительства.

Рекомендуемый перечень марок альбомов рабочей документации приведен в ГОСТ Р 21.1101-2013 Система проектной документации для строительства (СПДС). Основные требования к проектной и рабочей документации.

В состав рабочей документации на примере систем отопления и вентиляции входят

-3

Как видно рабочая документация уже содержит информацию для строительства, подсчитано количество и тип оборудования, количество и размер труб и арматуры. Указаны направления движения трасс и их расположение по высоте.

В части 3 рассмотрим что такое монтажный проект.

Что такое проект и какие проекты бывают. (часть 1)

Что такое проект и какие проекты бывают. (часть 3)