Добавить в корзинуПозвонить
Найти в Дзене
ТАНКИ

БТ-7 ракетный — попытка скрестить БТ и Катюшу

В 1942-ом году в штаб минометных частей поступил рапорт уральского изобретателя А. П. Константинова о собственной разработке мини-установки М-8 на быстроходный танк БТ-7. Простыми словами - решил конструктор скрестить танк и всеми известную Катюшу..

Вообще, по началу эта конструкция предполагалась разработчиком к установке на Т-34. Но его соратники по работе на Кировском заводе указали ему на недостатки такой системы, и как раз именно его товарищи по заводу подкинули идею доработать такую ракетную систему для танков БТ.

Примерный вид конструкции БТ-7 ракетного
Примерный вид конструкции БТ-7 ракетного
Сам Константинов даже не был в курсе, производились ли еще танки БТ в то время или нет. Да и писать в главное автобронетанковое управление (ГАУ) без связей стеснялся и побаивался (немудрено, видимо судьбу инициативных конструкторов конца 30-х знали в тех кругах). Но после показа чертежей гвардейским минометчикам, рапорт о изобретении все же оказался в ГАУ РККА.

В рапорте присутствовали эскизы и письменное описание установки. По мнению Константинова его проектным предложениям должны были подвергнуты ВСЕ «БТ-7»!!! По виденью конструктора БТ-7 должны были преобразиться в «танки спец. назначения», подавлять противотанковые средства противника и действовать в комплексе со средними и тяжелыми танками, + изничтожать отступающего живые силы противника..

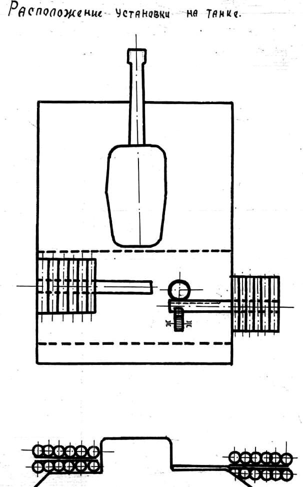
Вся суть «ракетного БТ-7» состояла в установке из 24-х 82-мм ракет. На параде их закрывали бронелистами, что позволяло десанту ехать прямиком на ракетах...

Схема, составленная лично Константиновым
Схема, составленная лично Константиновым

В бою 2 пакета по 12 ракет приводились в боеготовность, выдвигаясь по бокам танка. Наводка ракет по горизонтали осуществлялась с помощью поворота корпуса. По вертикали регулировка выполнялась специальным подъемным механизмом на башне танка.

Вообще, Константинов также писал что действие каждой из таких ракет приравнивается к воздействию 122-мм ОФ снаряда, и даже обещал позднее прислать доказательство этого утверждения, но не сложилось..

К сожалению скорее всего у этого эдакого «РБТ-7» шансов на успех не было, но как я всегда напоминаю, относительно небольшие траты на развитие новинок иногда приводят к меняющим ход событий изобретениям...

Идея о оснащении быстроходных шасси пусть недальнодейственным, но крайне мощным вооружением, была хороша. Да, она была трудна в реализации, но идея стоила того.

А что думаете вы? Пишите в комментариях