Найти в Дзене
Adaperio

Праворульная или леворульная? Volvo предложила универсальную!

В прошедшие выходные знаменитая шведская компания-автопроизводитель зарегистрировала в патентном бюро США концепцию автомобиля, в котором по желанию водителя рулевое колесо и все другие органы управления могут быстро перемещаться между правым и левым передними сидениями.
Что касается руля, то здесь ничего сверхъестественного - по сути, это обычный джойстик, закрепленный на рельсе, установленном

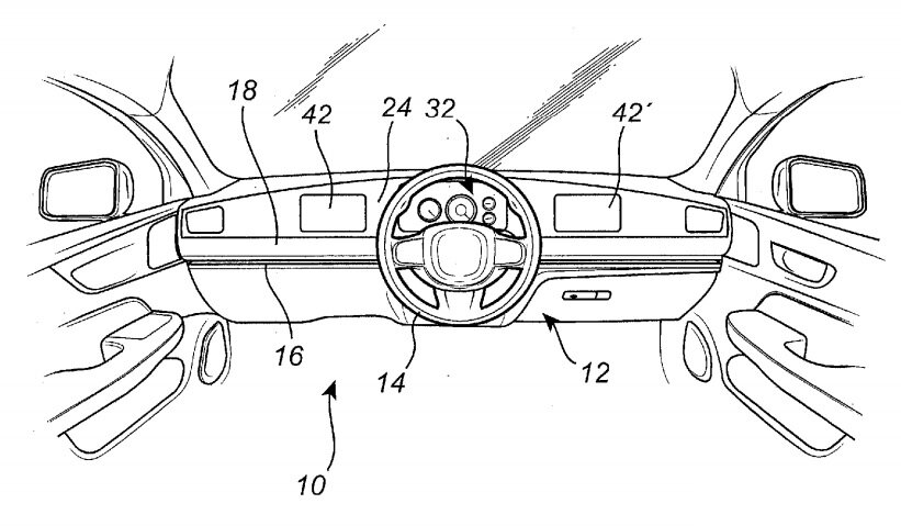
В прошедшие выходные знаменитая шведская компания-автопроизводитель зарегистрировала в патентном бюро США концепцию автомобиля, в котором по желанию водителя рулевое колесо и все другие органы управления могут быстро перемещаться между правым и левым передними сидениями.

Что касается руля, то здесь ничего сверхъестественного - по сути, это обычный джойстик, закрепленный на рельсе, установленном по всей длине приборной панели. Захотел - передвинул. Система управления - обычная, электронная, что называется "по проводам".

А как же быть с педалями? Вместо них инженеры "Вольво" предлагают использовать сенсорные накладки на полу, которые становятся активными в зависимости от расположения руля.

С приборной панелью - еще проще. Конструкторы предложили отказаться от классических "окошек", и вместо них установить сплошной дисплей на всю ширину, в котором информация будет выводиться также в зависимости от того, где находится водитель. Альтернативным вариантом приборки может быть и небольшой дисплей, установленный на руле.

Такой, на первый взгляд, простой с технической точки зрения концептуальный подход может серьезно упростить жизнь европейцам, регулярно перемещающимся на личном авто, к примеру, из Великобритании во Францию и обратно.

Однако есть и существенный нюанс - в патентном заявлении оговаривается, что данная разработка может быть применена только в автомобиле, оснащенном автопилотом. А значит, скорее всего, если дело когда-нибудь дойдет до выпуска подобных машин в реале, то произойдет это тогда, когда и руль-то уже будет не нужен.