Найти в Дзене

Летающий «пончик» - очередной патент Airbus, не воплощённый в жизнь

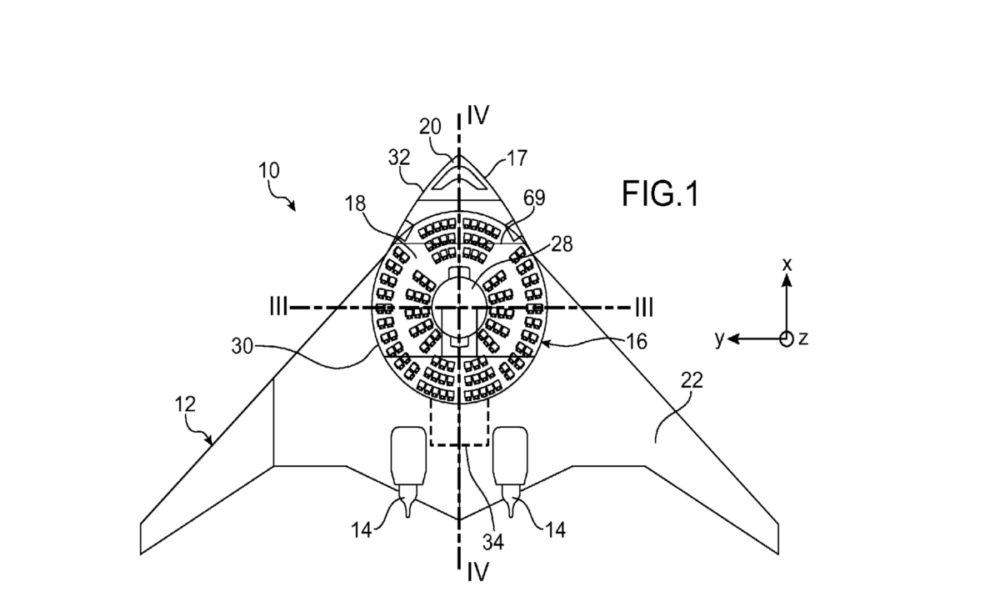
Этот самолет в форме крыла имеет пассажирскую кабину сфероидной формы с зазором посередине для посадки и высадки пассажиров.
Оглавление

Среди тысяч патентных заявок, поданных Airbus, иногда выделяются некоторые интересные экземпляры. «Летающий пончик» - одна из таких конструкций. Этот самолет в форме крыла имеет пассажирскую кабину сфероидной формы с зазором посередине для посадки и высадки пассажиров.

Летающий «пончик» - один из патентов Airbus. Фото: Airbus
Летающий «пончик» - один из патентов Airbus. Фото: Airbus

Компания Airbus регистрирует огромное количество патентов. Некоторые из них представляют собой простые настройки авиаоники. Другие являются поистине новаторскими концепциями самолётов. По словам представителей европейского производителя воздушных судов, ежегодно на разработки и исследования они тратят около 3,5 миллиардов евро. Благодаря этому компания на сегодняшний день имеет около 37 000 патентов.

Хотя эти изобретения формируют будущее авиации, многие из них так и не увидят свет. Однако, это не значит, что в них не интересно погружаться.

Концепция летающего «пончика» Airbus

Компания Airbus в 2014 году получила патент под интригующим заголовком: «Самолет, включая пассажирскую кабину, простирающуюся вокруг пространства, определенного за пределами кабины и внутри самолета». Но европейские журналисты окрестили его «Летающий пончик».

Фактически, эта концепция нарушает все правила конструирования пассажирских самолётов в том виде, как мы привыкли их видеть.

Airbus запатентовал очень короткий самолёт, где все пассажиры размещаются по кругу. Как если бы кто-то очень сильный согнул фюзеляж обычного авиалайнера, сомкнул его в круг и поместил под монокрыло.

Фактически, «летающий пончик» - это крыло или пара крыльев со сфероидальным отделением посередине. Фото: Airbus
Фактически, «летающий пончик» - это крыло или пара крыльев со сфероидальным отделением посередине. Фото: Airbus

Теоретически, такая конструкция может предложить множество интересных услуг, например, по приготовлению еды или размещения бара на борту.

Посадка в такой самолёт тоже может показаться необычный. Пассажиры должны подняться на борт по лестницам, выпадающим из центра «пончика».

Способ посадки в самолёт по эскалаторам или трапам. Фото: Airbus.
Способ посадки в самолёт по эскалаторам или трапам. Фото: Airbus.

В своей заявке на патент Airbusпредположил, что будут установлены эскалаторы, которые смогут забрать пассажиров прямо из зоны ожидания. Либо же клиенты авиакомпаний будут пониматься на борт через огромный лифт.

Способ посадки в самолёт благодаря лифту. Фото: Airbus.
Способ посадки в самолёт благодаря лифту. Фото: Airbus.

Почему эта концепция может сработать

В заявке на патент Airbus заявил, что летающий пончик решит некоторые проблемы, характерные для обычной конструкции самолетов в форме карандаша. Было отмечено, что, хотя цилиндрические самолеты хорошо справляются с нагрузками, огромные силы, влияющие на передний и задний части цилиндра означают, что фюзеляжу требуется значительное усиление в этих местах.

По словам Airbus, удалив продольную пассажирскую кабину, можно устранить эти точки напряжения и «… обеспечить простое, экономичное и эффективное решение этих проблем или, по крайней мере, частично устранить… недостатки».

Почему «летающий пончик» может не появиться вовсе или увидит небо не скоро?

Все проблемы данной концепции заключаются в логистике аэропортов. Для применения таких инновационных конструкций потребуется строительство новых терминалов с лифтами, которые смогут поднять пассажиров прямо из зала ожидания в салон самолёта. Либо же понадобится модернизация уже существующих трапов.

Про посадку в такой самолёт через телетрап даже говорить не стоит. Большие крылья, которые невозможно убрать или сложить (как это происходит с Боингом 777Х), будут мешать подъезду воздушного судна к терминалам.

В конце концов, сам Airbus признался Financial Times - «это не то, что в настоящее время активно разрабатывается».

Хотя идея, конечно, интересная. Похожую конструкцию предложила авиакомпания KLM в своём инновационном самолёте Flying-V. Однако, в отличие от Airbus, они предлагают разместить своих пассажиров прямо в крыльях. Концепции салона уже были представлены. Интересно, что KLM планирует предложить не только классические кресла, но и полноценные спальные места. Насколько такая идея жизнеспособна - покажет время.

Но, если KLM удастся произвести самолёт в форме гитары Gibson Flying V и начать выполнение коммерческих рейсов, может и Airbus возьмётся за эту концепцию плотнее и уже через несколько десятков лет мы полностью поменяем свое представление о гражданской авиации?