Найти в Дзене
SERGO

Контроллеры PSVR2 (Официальный Патент)

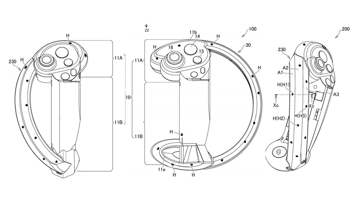
В сети откопали новый патент Sony, в котором описываются потенциальные контроллеры PSVR 2 для PS5. В заявке, которую обнаружил голландский технический сайт LetsGoDigital, даже присутствуют три изображения возможного устройства.
Контроллеры буду оснащены кнопками и джойстиком, и, возможно, сенсорным датчиком. За регистрация сжатия пальцев будет отвечать отдельная кнопка на рукоятке. Подробное уже

В сети откопали новый патент Sony, в котором описываются потенциальные контроллеры PSVR 2 для PS5. В заявке, которую обнаружил голландский технический сайт LetsGoDigital, даже присутствуют три изображения возможного устройства.

Патент контроллеров PSVR
Патент контроллеров PSVR

Контроллеры буду оснащены кнопками и джойстиком, и, возможно, сенсорным датчиком. За регистрация сжатия пальцев будет отвечать отдельная кнопка на рукоятке. Подробное уже используется в контроллерах от HTC Vive и Oculus.

Sony пока не комментировала планы по поводу VR-гарнитуры, но, согласно последним слухам, PSVR 2 должна поступить в продажу к концу следующего года. Сама PS5 выйдет 19 ноября.