Добавить в корзинуПозвонить
Найти в Дзене
Тайны Мира

ВМС США получили патент на НЛО и предупреждены о подобных достижениях в Китае

Существует патент на «гибридный аэрокосмический-подводный корабль», который способен совершать поистине невероятные скорости и маневренность в воздухе, на воде и в космическом пространстве благодаря революционной электромагнитной двигательной установке.
Оглавление

Данную новость опубликовал около года назад журнал TheDrive летом 2019 года. Существует патент на «гибридный аэрокосмический-подводный корабль», который способен совершать поистине невероятные скорости и маневренность в воздухе, на воде и в космическом пространстве благодаря революционной электромагнитной двигательной установке.

Данное устройство запатентован аэрокосмическим инженером, работающим в штаб-квартире авиационного дивизиона ВМС США (NAWCAD) в Патаксент-Ривер, штат Мэриленд. А правопреемником на данные патенты указан министр ВМФ США.

А главный технический директор военно-морского авиационного предприятия лично написал письмо на имя эксперта, в котором утверждалось, что США нужен патент, поскольку китайцы уже «вкладывают значительные средства» в эти аэрокосмические технологии, которые пугающе похожи на сообщения об НЛО, с которыми так хорошо знакомы летчики ВМС. Возникает вопрос, разрабатывают ли китайцы или даже уже летают корабли, использующие аналогичные передовые технологии?

Странная сага о ВМС США и его внезапная готовность признать, что его персонал регулярно сталкивается с неопознанными объектами в небе, становится все более странным. А теперь взгляните на патенты изобретателя Сальваторе Сезара Паиса.

В настоящее время он работает аэрокосмическим инженером в NAWCAD на военно-морской авиабазе Патаксент-Ривер в Мэриленде - главной испытательной базе ВМФ. Пайс назван изобретателем в четырех отдельных патентах, правопреемником которых является ВМС США: Генератор высокочастотных гравитационных волн причудливой формы; комнатная температура сверхпроводник ; генератор электромагнитного «силового поля», который мог отклонять астероиды; и, пожалуй, самый странный из всех, под названием « Аппарат с использованием устройства для уменьшения инерционной массы ».

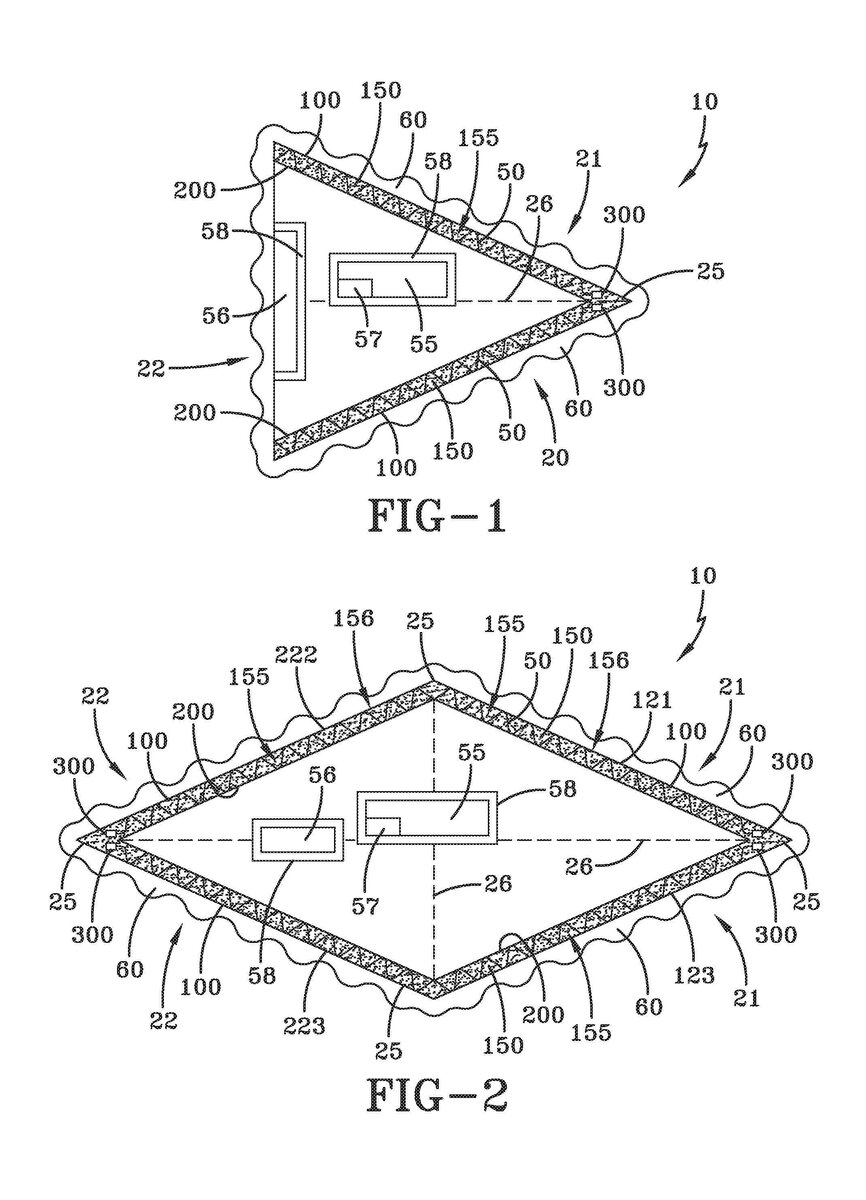
Между тем, гибридный аэрокосмический и подводный аппарат в патенте Пайса описывается как способный на невероятную скорость и маневренность и может одинаково хорошо летать в воздухе, воде или космосе, не оставляя тепловых следов. Это возможно, утверждает Пайс в патенте, потому что аппарат способен «спроектировать ткань нашей реальности на самом фундаментальном уровне», используя законы физики.

Эскиз устройства. Источник: Яндекс Картинки
Эскиз устройства. Источник: Яндекс Картинки

В своей последней публикации Пайс описывает гибридный аэрокосмический подводный корабль как транспортное средство примерно конической формы, которое может выглядеть круглым спереди или сзади: «HAUC имеет коническую форму с эллиптическим поперечным сечением».

Эскиз устройства. Источник: Яндекс Картинки
Эскиз устройства. Источник: Яндекс Картинки

Также примите во внимание тот факт, что сенаторы, включая заместителя председателя разведывательного сообщества Сената, были проинформированы в последние недели официальными лицами ВМС о необъяснимых наблюдениях, о которых сообщали пилоты ВМС. Даже президент Дональд Трамп недавно заявил в интервью что сообщения об НЛО ВМФ могут быть связаны с тем, что пилоты «видят вещи, немного отличающиеся от прошлого», - комментарий, который может быть истолкован как означающий, что пилоты впервые становятся свидетелями новых типов аэрокосмической техники. Трамп, похоже, дал понять, что он не верит, что объекты, о которых сообщают пилоты ВМФ, являются свидетельством чего-то внеземного, и спокойно отнесся к вопросу об НЛО, взятому у интервьюера, без какого-либо явного удивления, что свидетельствует о том, насколько далеко в мейнстрим вошло обсуждение НЛО.

Надеюсь вам было интересно! Пишите комментарии и сообщения, подписывайтесь и ставьте лайки. А что вы думаете по этому поводу?

И в заключение небольшая подборка интересных статей:

США говорит об НЛО, но всем плевать. Заявление Пентагона в июле!
НЛО в Бразилии весной 2020 года. Настоящая война, пока мир молчит (Видео + диалог военных в статье)
Помните мою статью про НЛО в Бразилии? А сегодня их правительство приказало ВВС сообщать об НЛО. Вы все еще не верите?
Секретные подземные базы США, инопланетяне и русский учёный!
Илон Маск написал про НЛО в Twitter и обрек себя на общественный гнев