Добавить в корзинуПозвонить
Найти в Дзене
Аквастекло.ру

Водопад по стеклу - магия ниспадающей воды у вас дома!

Система водопадная "Водопад по стеклу" предназначена для создания в помещении декоративного эффекта, украшения интерьера.
В интерьере
Рабочая поверхность системы изготовлена из закалённого стекла. Стекло устанавливается в приёмную ванну под углом 3-5 гр. Визуальный эффект установки заключается в стекании воды по одной стороне стекол. На стену за водопадом возможна установка зеркала. Расстояние

Система водопадная "Водопад по стеклу" предназначена для создания в помещении декоративного эффекта, украшения интерьера.

В интерьере
В интерьере

Рабочая поверхность системы изготовлена из закалённого стекла. Стекло устанавливается в приёмную ванну под углом 3-5 гр. Визуальный эффект установки заключается в стекании воды по одной стороне стекол. На стену за водопадом возможна установка зеркала. Расстояние между рабочим стеклом и зеркальной панелью позволяет создать объемную картину.

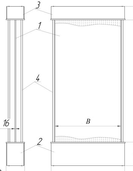
Верхний и нижний корпуса системы представляют собой рамную конструкцию, облицованную декоративным материалом по желанию заказчика.

Корпус водопада
Корпус водопада

Подсветка водопада

Водопадные системы освещаются точечными встроенными или выносными (внешними) светильниками. Они могут быть RGB или только белого света. Это должна быть направленная подсветка, которая равномерно и ярко освещает всю площадь водопада.

Наилучшее решение - расположить прожекторы на значительном расстоянии от плоскости стекла на потолке или полу. Чем дальше находится прожектор, и чем он мощнее, тем контрастнее будут тени от наплывов воды.

Таким образом, манипулируя расстоянием от подсветки до стекла водопада, можно регулировать мягкость рисунка, создаваемого тенями. Наиболее размытые тени создает внешняя подсветка, расположенная на расстоянии 500-1500 мм от плоскости стекла. (К сожалению, это не всегда выполнимо в рамках задания заказчика.)

Качественную подсветку водопада, даже небольших размеров, невозможно сделать с помощью светодиодных лент, возможно только обозначить (акцентировать, если нужно) периметр падающей воды.

Подсветка по периметру
Подсветка по периметру

Включение/выключение водопада осуществляется удалённым включателем или с помощью дистанционного пульта.

Технологическое оборудование.

Состоит из насосного блока, накопительной ёмкости, системы контроля уровня воды, блока управления, а также системы водоподготовки с проточным дозатором химических реагентов. Насосный блок снабжён системой фильтрации воды. Оборудование монтируется в нижнем корпусе водопада, либо в удалённом пространстве.

Требуется обеспечить свободный доступ к оборудованию, для удобства работы по техническому обслуживанию водопада.

Возможности автоматического оборудования водопада:

- Система контроля уровня воды.

- Автодолив и подмена воды по временному интервалу.

- Очистка водопроводной воды обратноосмотическим мембранным фильтром.

- Добавка реагента для предотвращения образования бактерий в системе.

Системы автодолива и подмены воды

Водоподготовка водопада по стеклу
Водоподготовка водопада по стеклу

Подача воды в систему осуществляется через кран-фильтр тонкой очистки. Реле времени по заданному режиму открывает входной электроклапан (при наличии давления водопроводной сети, контролируемого реле низкого давления). Вода из водопроводной сети через фильтр тонкой очистки подается на помпу, повышающую давление в системе (устанавливается для гарантированной работы системы обратного осмоса). В фильтре обратноосмотической очистки, вода проходит глубокую очистку.

Производительность системы и глубина очистки регулируется краном регулировки дренажа осмотической системы. Производительность должна быть в пределах 200 мл в минуту.

Установка будет работать в заданном таймером режиме. После очистки вода заполняет приемную ванну до переливной трубки. Через переливную трубку вода попадает в дренажную систему (канализацию). Таймер - коммутатор автодолива воды регулирует частоту и время включения системы автодолива и подмены воды. Автодолив и подмена воды осуществляется в течении 60 минут через каждый час работы водопада. Если при работе водопада уровень воды не доходит до переливного патрубка (визуальный контроль), необходимо перенастроить таймер - коммутатор.

Водопад имеет автономную циркуляционную систему, состоящую:

  1. Фильтр грубой очистки «ФГО»;
  2. Циркуляционный насос «ЦН»;
  3. Краны забора воды «1»;
  4. Кран сливной «2»;
  5. Кран регулировки потока «3»;
  6. Приемная ванна с переливным патрубком;
  7. Ресивер;
  8. Распределительный электрощит.
Схема гидравлическая
Схема гидравлическая

С приемной ванны вода проходит очистку в фильтре грубой очистки (ФГО) и поступает в циркуляционный насос (ЦН). Насос подает воду на ресивер водопада.

Регулировка расхода воды осуществляется краном регулировки потока «3».

Вода равномерно распределенная форсунками верхнего ресивера по рабочей поверхности, стекает в приемную ванну.

Первичный запуск системы

Для быстрого заполнения ванны водой допускается ручной залив воды через паз столешницы нижнего корпуса водопада. Уровень залива воды – до переливного патрубка (примерно 20 мм от верхней кромки ванны).

Эскиз водопада
Эскиз водопада

После включения насоса, стекающая вода должна заполнить всю поверхность стекла. Незаполненные водой участки стекла растереть специальным скребком (водосбором) или чистой рукой.

Возможно, потребуется промывка стекла стиральным порошком с последующим тщательным удалением его остатков.

Вследствие выхода воздуха из магистралей при первом запуске возможно разбрызгивание воды с форсунок ресиверов, которое прекращается после выхода насоса на нормальный режим. Регулировка подачи воды осуществляется краном регулировки потока "3".

В процессе запуска обратить внимание на герметичность всех соединений.

Обслуживание

Для предотвращения потери декоративного вида водопада по стеклу, при эксплуатации системы запрещается использовать не дистиллированную воду или не очищенную воду.

Не допускать попадания посторонних предметов и веществ в приёмную ванну.

При эксплуатации системы происходит интенсивное испарение воды, поэтому её уровень в приемной ванне постепенно снижается. Недостаточный уровень воды проявляется в появлении пузырьков воздуха в струях воды, а также в характерном звуке хлюпающей воды в приемной ванне.

Компенсируйте испарение по мере снижения уровня воды, доливкой дистиллированной воды или перенастроив временной интервал у таймера – коммутатора системы автодолива.

В процессе эксплуатации и при отключении системы на длительный период, во избежание загрязнения воды бактериальной флорой допускается периодическое добавление в воду обеззараживающих средств применяемых для бассейнов "ДЕЗАВИД" и т.п.

Как правило, эти препараты являются веществом природного про­ис­хожде­ния, участвующим в процессах ес­тест­вен­ной очистки и обез­за­ражи­вания природных вод. Они уничтожают патогенные мик­ро­ор­га­низ­мы, но остаются при этом нейтральными к материалам и средам, не вступая с ними в химические вза­имо­дей­ствия. В сочетании с низкой ток­сичностью, отсутствием запаха, ин­га­ляци­он­ной бе­зопас­ностью являются эф­фектив­ным средством.

Не протирайте рабочую часть стекла мыльным раствором или химическими моющими средствами!

Монтаж водопада
Монтаж водопада

В случае загрязнения стекла очистка производится влажной безворсовой тканью. При очистке внешних и внутренних поверхностей системы не допускается использование химически активных растворителей и грубых протирочных материалов. Исключите их попадание в приёмную ванну водопада!

В целях сохранения декоративных свойств системы, периодически требуется проводить профилактические работы.

Расположение оборудования в отдельном месте
Расположение оборудования в отдельном месте

  1. Проверка подачи очищенной воды
  2. Замена мембранного фильтра, обратноосмотической системы
  3. Замена фильтра тонкой очистки
  4. Очистка фильтров грубой очистки
  5. Промывка приёмной ванны

Работы проводятся согласно графика регламентных работ, указанному в инструкции к изделию.

Порядок слива воды и очистка фильтров грубой очистки

  1. Отключить электропитание водопада.
  2. Для слива воды необходимо открыть сливной кран «2» см. гидравлическую схему водопада. Кран забора воды поз. «1» должен быть открыт. Дождаться полного слива воды.
  3. Произвести очистку фильтров грубой очистки.
  4. Закрыть сливной кран поз. 2 и заполнить приемную ванну дистиллированной водой. Запустить систему.

Порядок замены картриджей фильтра тонкой очистки, мембраны фильтра обратного осмоса

  1. Отключить систему водоподготовки от электропитания;
  2. Перекрыть подачу «ХВС» краном «КФ»;
  3. Подставив поддон для слива воды, открыть краны «К1» , слить воду из корпуса мембранного фильтра;
  4. Отсоединить трубки фильтра. Открыть крышку мембранного фильтра. Достать отработанную мембрану. Установить новую. Закрыть крышку. Подсоединить трубки к фильтру.
  5. Подставить поддон под фильтр тонкой очистки. Отвернуть поочередно корпуса фильтров. Достать отработанные картриджи, промыть корпуса. Установить новые картриджи, закрутить корпуса фильтров.
  6. Закрыть краны «К1», открыть кран «КФ».
  7. Включить систему водоподготовки.

При условии соблюдения правил эксплуатации и обслуживания компания "АКВАСТЕКЛО" гарантирует исправную работу изделия в течение многих лет.

Водопад в интерьере
Водопад в интерьере

С уважением к Вам и вашему дому!

Не стесняйтесь сообщить, что статья вам понравилась - ставьте лайки, подписывайтесь, пишите.

Если, с чем-то не согласны, комментируйте, поспорим.

P/S ПОДПИСЫВАЙТЕСЬ, ЧТОБЫ ПОНИМАТЬ, ЧТО ПРОИСХОДИТ