Найти в Дзене

Установка коннелюрного плинтуса.

Примечание: Не устанавливайте мягкую кромку в мороз, т.к материал теряет эластичность и при установке может деформироваться. Перед установкой рекомендуем держать материал при температуре; +15 C° ~ +22 C° в течении 1-2 дня.
Инструкция по монтажу коннелюрного профиля и укладки линолеума.
1. Для монтажа Вам понадобится:
Кисть для клея

Примечание: Не устанавливайте мягкую кромку в мороз, т.к материал теряет эластичность и при установке может деформироваться. Перед установкой рекомендуем держать материал при температуре; +15 C° ~ +22 C° в течении 1-2 дня.

Инструкция по монтажу коннелюрного профиля и укладки линолеума.

1. Для монтажа Вам понадобится:

  • Кисть для клея
  • Обычная бумага
  • Картон
  • Скотч монтажный
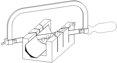
  • Стусло для подрезки коннелюрного профиля и кромки на углах
  • Пила по металлу
  • Карандаш
  • Линейка
  • Нож для резки линолеума
  • Пистолет для сварки линолеума

2. Сделайте засечки на стенах карандашом по периметру комнаты, на какую высоту Вы собираетесь завести линолеум. На этой высоте от пола Вам предстоит приклеить кромку.

-2

3. Выше от сделанных на стене засечек приклейте монтажный скотч, чтобы предотвратить попадание клея при нанесении его на стену и приклеивании кромки.

-3

4. Нанесите на стену кистью контактный клей на всю высоту от пола до засечек. Так же нанесите клей на пол вдоль стены по периметру помещения, ширина нанесенной клеевой полосы на полу должна быть приблизительно 40-50 мм. Пол и стены должны быть сухими и очищены от пыли в соответствии с инструкцией по применению клея.

-4

5. Приклейте по засечкам на стену кромку по периметру помещения, предварительно нанеся на обратную сторону кромочного профиля клей.

-5

6. На углах подрезка кромочного профиля осуществляется с помощью стусла и пилы с мелким зубом.

-6

7. Приклейте в угол примыкания стены и пола коннелюрный профиль по всему периметру помещения, предварительно нанеся на коннелюрный профиль клей.

Подрезка коннелюрного профиля
Подрезка коннелюрного профиля

8. На углах подрезка коннелюрного профиля осуществляется с помощью стусла и пилы с мелким зубом.

-8

9. Приклейте к полу основное полотно линолеума. Кромка линолеума должна отступать от кромки коннелюрного профиля на полу на 30 – 50 мм. После приклеивания проверьте, чтобы кромка основного полотна линолеума по всему периметру отступала от кромки коннелюрного профиля на одинаковое расстояние. Если Вы где то ошиблись, или не смогли сохранить одинаковый отступ, подрежьте основное полотно по всему периметру на величину максимального отступа, который у Вас получился.

-9

10. Сделайте шаблон внешнего и внутреннего угла. Он Вам понадобиться для правильного обрезания полос линолеума, которые вклеиваются между основным полотном и кромочным профилем. Шаблон легко сделать, приложив листок обычной бумаги на коннелюрный профиль и обведя его карандашом. Будьте внимательны, углы помещений могут иметь не прямые углы - отличающиеся от 900. В этом случае шаблон должен быть сделан для каждого отличающегося от 900 угла.

-10

11. Разложите листок с обведенным шаблоном и вырежьте его.
 - Измерьте расстояние h1 от верхней кромки коннелюрного профиля до кромки приклеенной на стене. От конечной точки шаблона, которая снималась на стене, отложите указанное расстояние и проведите линию под 90 градусов, а затем линию параллельную кромкам шаблона. 
 - Измерьте расстояние от кромки коннелюрного профиля на полу до кромки основного полотна линолеума. Получившийся размер h2 + 15 - 20 отложите от конечной точки шаблона полученной на полу и проведите линию параллельную кромкам шаблона. Из конечной точки шаблона, полученной на полу, проведите линию под углом 135 градусов для внешнего угла либо 45 градусов для внутреннего угла, к кромке шаблона до пересечения с линией, которую вы провели параллельно кромке шаблона. 
 - Перенесите получившиеся шаблоны на картон для более надежного использования. Вырежьте из линолеума по шаблонам не большие полосы приложите их к внутренним и наружным углам и при необходимости откорректируйте шаблоны.

Коннелюрный плинтус монтаж
Коннелюрный плинтус монтаж

12. Когда шаблоны откорректированы, нарежьте из линолеума полосы, вырежьте по шаблонам внешние и внутренние углы и приступайте к наклеиванию полос из линолеума. Наклеивание полос производится, начиная со стены подсунув край полосы под кромочный профиль.  Используйте не очень длинные полосы для удобства работы. После наклеивания полос у Вас на основном полотне получится нахлест полос на 10-15 мм.

Коннелюрный плинтус установка
Коннелюрный плинтус установка

13. Для более четкого совпадения частей линолеума в месте нахлеста линолеум отрежьте и удалите излишки, как полос, так и основного полотна линолеума.

Коннелюрный плинтус монтаж
Коннелюрный плинтус монтаж

14. После работ по укладке линолеума швы сваривают сварочной машинкой для линолеума, либо любым другим способом.

Коннелюрный плинтус
Коннелюрный плинтус

15. Удалите скотч и срежьте наплывы, образовавшиеся в процессе сварки.