Добавить в корзинуПозвонить
Найти в Дзене

Вариант модернизации «Мста-С» на базе Т-90

Патент РФ 177 448 Создание самоходного артиллерийского орудия безгильзового заряжания калибра 155 мм отечественного производства: - с повышенной скорострельностью при работе в режиме стрельбы с подачей боеприпасов с грунта; - с увеличенным углом возвышения орудия; - с улучшенными условиями загрузки зарядов с грунта; - с возможностью размещения в укладках расширенной номенклатуры снарядов; - с комфортными условиями микроклимата в обитаемом отделении; - с оптимальным расположением ФВУ с забором воздуха из зоны наименьшей загазованности; - с ФВУ с дистанционным приводом клапана и возможностью многократного действия при включении и отключении в автоматическом режиме. Решение поставленной задачи достигается тем, что самоходное артиллерийское орудие, содержащее гусеничное шасси с тонкобронным корпусом, в кормовой части которого расположено моторно-трансмиссионное отделение с двигателем внутреннего сгорания, на верхней части корпуса установлена башня на опорно-поворотном устройстве, в к

Патент РФ 177 448

Создание самоходного артиллерийского орудия безгильзового заряжания калибра 155 мм отечественного производства:

- с повышенной скорострельностью при работе в режиме стрельбы с подачей боеприпасов с грунта;

- с увеличенным углом возвышения орудия;

- с улучшенными условиями загрузки зарядов с грунта;

- с возможностью размещения в укладках расширенной номенклатуры снарядов;

- с комфортными условиями микроклимата в обитаемом отделении;

- с оптимальным расположением ФВУ с забором воздуха из зоны наименьшей загазованности;

- с ФВУ с дистанционным приводом клапана и возможностью многократного действия при включении и отключении в автоматическом режиме.

Решение поставленной задачи достигается тем, что самоходное артиллерийское орудие, содержащее гусеничное шасси с тонкобронным корпусом, в кормовой части которого расположено моторно-трансмиссионное отделение с двигателем внутреннего сгорания, на верхней части корпуса установлена башня на опорно-поворотном устройстве, в которой размещается вооружение, механизированная укладка с ячейками для снарядов, укладка для метательных зарядов, согласователь для передачи снарядов от укладки на линию заряжания орудия, автономный газотурбинный агрегат питания для работы энергопотребителей, в кормовой части башни установлен механизм подачи метательных зарядов с грунта, при этом артиллерийское орудие безгильзового заряжания имеет калибр 155 мм и длина его ствола составляет 52 клб, линия досылки из механизма подачи снарядов с грунта совмещена с ячейкой механизированной укладки и с линией досылки снаряда в согласователь. Ячейки механизированной укладки снабжены подвижными элементами, ограничивающими продольное перемещение снаряда в ячейке. Кроме этого, механизм подачи зарядов с грунта расположен снаружи башни и выполнен с верхним расположением привода и цепи, перемещающей заряд в боевое отделение. Автономный газотурбинный агрегат питания выполнен с устройством кондиционирования и подогрева воздуха в обитаемом отделении. Фильтровентиляционная установка, расположенная в кормовой части башни, содержит дистанционный привод управления клапаном ФВУ с электромеханизмом и электромагнитом.

В моторно-трансмиссионном отделении установлен двигатель внутреннего сгорания мощностью 1000 л.с.

Самоходное артиллерийское орудие (фиг. 1) содержит гусеничное шасси 1 с тонкобронным корпусом, в кормовой части которого расположено моторно-трансмиссионное отделение 2 с двигателем внутреннего сгорания 3 мощностью 1000 л.с. Узлы и агрегаты моторно-трансмиссионного отделения унифицированы с узлами и агрегатами основного боевого танка Т-90. На верхней части корпуса установлена башня 4 на опорно-поворотном устройстве. В башне 4 размещается артиллерийское орудие безгильзового заряжания 5 калибра 155 мм с длиной ствола 52 клб, механизированная укладка 6 с ячейками для снарядов 7, укладка для метательных зарядов (не показано), согласователь 8 для передачи снарядов от укладки на линию заряжания орудия 5, автономный газотурбинный агрегат питания 9 для работы энергопотребителей. В кормовой части башни 4 установлен механизм подачи метательных зарядов с грунта 10. Узлы системы заряжания расположены последовательно (фиг. 4), т.е. линия досылки 11 из механизма подачи снарядов с грунта 12 совмещена с ячейкой 7 механизированной укладки бис линией досылки 13 снаряда в согласователь 8. В процессе заряжания с грунта снаряд имеет только продольное перемещение по тракту. Ячейки 7 механизированной укладки 6 снабжены подвижными элементами 14, ограничивающими продольное перемещение снаряда в ячейке (фиг. 5). Механизм подачи зарядов с грунта 10 (фиг. 6) расположен снаружи башни и выполнен с верхним расположением привода 15 и цепи 16, перемещающей заряд в боевое отделение. Верхнее расположение привода 15 и цепи 16 обеспечивает такое положение механизма подачи заряда с грунта 10, что линия загрузки в механизм снижена не менее чем на 150 мм и смещена ближе к борту и к корме. Автономный газотурбинный агрегат питания 9, установленный в башне 4, выполнен с устройством кондиционирования и подогрева 17 воздуха в обитаемом отделении.

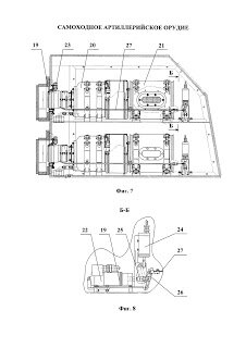
В заявляемом изделии имеются две аналогичные по конструкции ФВУ 18. Они расположены в кормовой части башни слева друг над другом в отсеке для размещения фильтровентиляционных установок. Каждая ФВУ 18 (фиг. 7) состоит из патрубка с клапаном 19, нагнетателя 20, фильтра-поглотителя 21, электромеханизма 22 с приводом управления клапаном 19 и нагнетателем 20, датчика 23, электромагнита 24, соединительных патрубков и деталей крепления. ФВУ 18 (фиг. 8) включаются дистанционно: принудительно с кнопки или автоматически при запуске цикла заряжания, при этом срабатывает электромеханизм 22, втягивающий шток с пазом 25, который поворачивает рычаг 26 и через трос 27 перемещает шток клапана 19, сжимая пружину клапана 19. Шток с пазом 25 электромеханизма 22 поворачивает рычаг 26 и заводит его за стопор, закрепленный на штоке электромагнита 24. После этого шток с пазом 25 электромеханизма 22 возвращается в исходное положение, а рычаг будет удерживаться стопором электромагнита 24. Клапан 19, перемещаясь, открывает воздухозаборный клапан и одновременно воздействует на датчик 23, по сигналу которого запускается нагнетатель 20. Выключение ФВУ происходит принудительно с кнопки или автоматически по сигналу системы защиты от оружия массового поражения, при этом питание подается на электромагнит 24, который втянув шток со стопором, освобождает рычаг 26, связанный тросом 27 с клапаном 19, который закроется под действием пружины. Закрываясь, клапан 19 воздействует на датчик 23, по сигналу с которого останавливается нагнетатель 20.

Работа самоходного артиллерийского орудия безгильзового заряжания калибра 155 мманалогична работе модернизированного 152-мм самоходного артиллерийского орудия 2С19М1 «Мста-С».

Техническая эффективность предлагаемой полезной модели заключаются в следующем:

1. Увеличение угла возвышения на 2° обеспечивается за счет исключения в кожухе казенной части орудия транспортера удаления несгораемой гильзы.

2. Установка двигателя внутреннего сгорания мощностью 1000 л.с. приведет к увеличению удельной мощности и, как следствие, увеличению скорости и показателей подвижности самоходного артиллерийского орудия.

3. Верхнее расположение привода и цепи, перемещающей заряд в боевое отделение, обеспечивает такое положение механизма подачи зарядов с грунта, что линия загрузки в механизм снижена не менее чем на 150 мм и смещена ближе к борту и к корме, что обеспечивает удобство загрузки и улучшает доступ к механизму.

4. Установка автономного газотурбинного агрегата питания с устройством кондиционирования и подогрева обеспечит комфортные условия в обитаемом отделении для эксплуатации в условиях Крайнего Севера и южных регионов.

5. Установка в ячейках механизированной укладки подвижных элементов, ограничивающих продольное перемещение снаряда в ячейке, обеспечивает размещение и надежное удержание снарядов различной длины.

6. Оптимальное расположение ФВУ с забором воздуха из зоны наименьшей загазованности.

7. ФВУ с дистанционным приводом клапана и возможностью многократного действия при включении и отключении в автоматическом режиме.

8. Башня с основным вооружением, боеукладками, в которых размещен возимый боезапас, энергоагрегатом и системами, обеспечивающими работу, представляет собой автономный энергонезависимый боевой модуль, который может быть установлен на любое гусеничное или колесное шасси соответствующей грузоподъемности.

Кроме этого, использование узлов и агрегатов моторно-трансмиссионного отделения, унифицированных с основным боевым танком Т-90, увеличивает коммерческий интерес зарубежных потребителей, имеющих на вооружении танк Т-90, так как:

- упрощаются вопросы снабжения за счет уменьшения номенклатуры запчастей;

- упрощается процесс обучения вождению и изучения матчасти.

В настоящее время изготовлен опытный образец самоходного артиллерийского орудия калибра 155 мм, прошедший в полном объеме пробеговые и стрельбовые испытания.

-2
-3
-4