Найти в Дзене
Диапозитив

CES 2018: Nikon готовят полнокадровую камеру

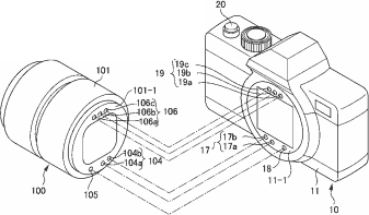
Nikon Rumors в своей публикации сообщили, что на CES 2018 Nikon заявил о готовности к производству полнокадровой беззеркальной камеры, которая будет оснащена новым креплением под названием «крепление Z».

Как сообщает источник, диаметр крепления будет равен 49 мм, а рабочий отрезок составит 16мм.

Для сравнения: в зеркальных камерах Nikon используется крепление Nikon F с диаметром крепления 44 мм и рабочим отрезком 46,5 мм.

У прямого конкурента Sony в беззеркальных камерах используется крепление Sony E, диаметр которого равен 46,1 мм, а рабочий отрезок — 18 мм.

Чем меньше рабочий отрезок – тем тоньше будет камера. По поводу того, что нельзя будет использовать старые объективы – переживать не стоит, скорее всего их можно будет установить на новую камеру с помощью переходников.

Статья подготовлена телеграм каналом Диапозитив.