Добавить в корзинуПозвонить
Найти в Дзене
ofundamentah.com

Устройство буронабивных свай. Особенности применения. Подготовка и бурение. Формирование опоры. Альтернативные технологии

Одной из наиболее сложных задач при возведении капитальных фундаментов для тяжелых конструкций является устройство буронабивных свай в зимнее время. Мало того что сама технология содержит огромное количество тонкостей, так еще и механические свойства грунта при понижении температуры меняются достаточно сильно. Буронабивная технология Особенности применения свай Наряду с широко распространенными забивными и винтовыми опорами в качестве основания для фундаментов сегодня используются так называемые буронабивные сваи. Обусловленные оригинальной конструкцией высочайшие механические характеристики подобных свай дают возможность применять их для самых тяжелых конструкций. Наряду с высочайшей несущей способностью к достоинствам буронабивной технологии относится возможность применения опор данного типа в сложных почвах, отличающихся неравномерной плотностью. Конечно, желательно, чтобы пята сваи опиралась на скальное основание, но подобная конструкция отлично ведет себя и в насы
Оглавление

Одной из наиболее сложных задач при возведении капитальных фундаментов для тяжелых конструкций является устройство буронабивных свай в зимнее время. Мало того что сама технология содержит огромное количество тонкостей, так еще и механические свойства грунта при понижении температуры меняются достаточно сильно.

 Опоры, заглубленные в грунт
Опоры, заглубленные в грунт

Буронабивная технология

Особенности применения свай

Наряду с широко распространенными забивными и винтовыми опорами в качестве основания для фундаментов сегодня используются так называемые буронабивные сваи.

Обусловленные оригинальной конструкцией высочайшие механические характеристики подобных свай дают возможность применять их для самых тяжелых конструкций.

 Принципиальная схема конструкции
Принципиальная схема конструкции
  • Буронабивная свая представляет собой ствол из армированного бетона, заглубленный в толщу грунта.
  • Благодаря тому, что бетон застывает непосредственно в почве, качество сцепления боковой поверхности сваи с грунтовым основанием многократно возрастает.
  • Габариты буронабивных конструкций могут быть весьма внушительными: встречаются опоры глубиной до 40 метров и диаметром до 1,5 м. Естественно, используются они для оборудования максимально надежных фундаментов.

Наряду с высочайшей несущей способностью к достоинствам буронабивной технологии относится возможность применения опор данного типа в сложных почвах, отличающихся неравномерной плотностью. Конечно, желательно, чтобы пята сваи опиралась на скальное основание, но подобная конструкция отлично ведет себя и в насыпных, и в увлажненных грунтах.

Обратите внимание!
Если малосжимаемое грунтовое основание залегает глубоко, и установить на нем сваю не представляется возможным, то в нижней части поры делается расширение.
За счет этого давление на пяту снижается, и свая вполне приемлемо удерживается в слабом грунте.

Основные операции

Технология устройства буронабивных свай будет подробно описана в следующем разделе.

Следует отметить, что для каждой ситуации существуют свои нюансы, но общая схема возведения остается неизменной:

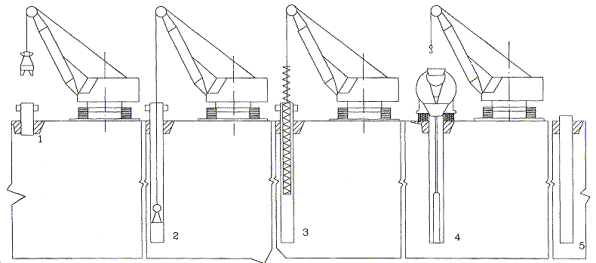
  • Вначале производится бурение отверстия под опору. При бурении грунт может как выниматься, так и уплотняться, оставаясь внутри скважины.
  • Параллельно с прохождением буром почвенных горизонтов и подстилающих пород в скважину опускается так называемая обсадная труба – пустотелый корпус, обеспечивающий защиту стенок от осыпания.
  • По завершении бурения в гнездо опускается арматурный каркас из металлических прутьев.
  • После установки арматуры полость заполняется литым бетоном, а обсадные трубы демонтируются.
 Последовательность работ
Последовательность работ

Внесение в данную схему различных модификаций дает возможность возводить буронабивные сваи с более высокими эксплуатационными характеристиками. Это позволяет снизить количество опор, необходимых для постройки фундамента, а значит – сократить расходы на строительство.

Ниже будет подробно рассмотрена технологическая карта на обустройство таких пор, а также проанализированы современные способы устройства буронабивных свай.

Монтаж сваи

Подготовка и бурение

Инструкция, изложенная в типовой техкарте по возведению буронабивных капитальных опор, предусматривает такие подготовительные операции:

 Фрагмент свайного поля
Фрагмент свайного поля
  • Участок, на котором будет осуществляться бурение, очищается от асфальтового или бетонного покрытия.
  • В зимний период производится оттаивание верхнего слоя. Проще всего это сделать путем накрывки грунта соломой или ветошью, но для ускорения можно использовать паровые иглы.
  • Уточняется расположение коммуникаций (трубы, кабели) в пределах будущего свайного поля.
  • В соответствии с уточненной информацией наносится разметка под бурение скважин с точностью до 10 мм согласно привязке плана к местности.
Обратите внимание!
Все работы, как по подготовке, так и по монтажу опоры регистрируются в специальном журнале.
В дальнейшем данные из этого журнала переносятся в пакет исполнительной документации.
 Работа буровой установки
Работа буровой установки

После завершения подготовки переходим непосредственно к процедуре бурения:

  • Буровой станок устанавливается напротив выбранной точки, после чего с помощью буровой коронки выполняется прохождение плотной части грунта (чаще всего - подсыпки под асфальтобетонное покрытие).
  • Также с помощью коронки проходится мерзлый слой, имеющий высокие показатели плотности и связности.
  • После прохождение плотного слоя коронка может заменяться шнеком соответствующего диаметра и производится бурение с полной или частичной выемкой материала до заданной глубины.
  • При необходимости после достижения проектного уровня выполняется выемка грунтовых масс в нижней части скважины для формирования уширения под пяту сваи.
Обратите внимание!
Если производится монтаж свайного поля, то во избежание обрушения скважины бурятся через одну.
Возврат к пропущенным местам происходит только после того, как залитый в гнезда бетон наберет не менее 25% плановой прочности.

Формирование опоры

После завершения буровых работ производится монтаж обсадных труб:

  • Труба, диаметр которой соответствует диаметру скважины, устанавливается с частичным вдавливанием в основание.
  • При наличии воды на нижних горизонтах производится ее откачка.
  • Из свайного гнезда желонками (при небольших габаритах) или специальными приспособлениями на шнеке удаляется осыпавшийся грунт.
 Фото арматуры в обсадной трубе
Фото арматуры в обсадной трубе

Для обеспечения максимальной водонепроницаемости нижнего узла примыкания осуществляются такие операции:

  • На дно засыпается 30-40 см сухой бетонной смеси.
  • Обсадная труба приподнимается, после чего сухая подсыпка трамбуется специальным снарядом.
  • Опускаем трубу на место и обеспечиваем ее частичное вдавливание для формирования бетонной пробки.
  • Затем на дно засыпается слой песчано-гравийной смеси. Трамбовка выполняется до проектного отказа.
 Арматурные каркасы
Арматурные каркасы

Далее следует армировка и заливка:

  • Арматурный каркас, изготовленный сварным методом, поднимаем на кране и опускаем в скважину с частичным вдавливанием в основание.
  • Перед монтажом рекомендуется провести очистку прутков арматуры от ржавчины и налипшей почвы. Это будет способствовать более надежному сцеплению металла с бетоном.
Обратите внимание!
Если вы готовите арматуру своими руками, то вместо сварки можно применять соединение вязальной проволокой.
Цена в этом случае возрастет незначительно, зато можно будет отказаться от аренды сварочного аппарата.
  • На горловину устанавливается воронка, через которую в полость заливается цементный раствор.
  • Для формирования буронабивных опор чаще всего используются литые бетоны класса не ниже В-15. Оптимальная осадка конуса должна составлять от 18 до 20 см.

На завершающем этапе производится извлечение обсадных труб. В ряде случаев для этого используются вибрационные устройства, обеспечивающие гарантированное отделение материала трубы от бетона.

 Залитая опора
Залитая опора

После набора сваей прочности выполняется выемка грунта возле верхнего края и начинается обустройство ростверка на сваях.

Альтернативные технологии

Технология CFA

В современном строительстве технологии совершенствуются непрерывно, и методика возведения буронабивных опор не является исключением. В данном разделе мы опишем две модификации, которые обеспечивают сваям максимальную несущую способность.

 Буровая установка
Буровая установка

Монтаж опор методом CFA предполагает использование полых шнековых буров для непрерывной работы. Это позволяет возводить опорные конструкции практически на любых грунтах и горных породах, а также в рыхлых, заболоченных и обводненных субстратах.

Обратите внимание!
Одним из плюсов технологии CFA является минимизация ударного воздействия на грунт и незначительная вибрация.
Это позволяет применять методику при работе в условиях плотной жилой застройки.

Отличия в данной методике начинают проявляться еще на этапе бурения скважины:

  • Гнездо под опору проделывается полым шнеком. На головном конце шнека монтируется специальная насадка, оснащенная режущими кромками.
 Шнек с заглушкой для подачи бетона
Шнек с заглушкой для подачи бетона
  • Полость шнека защищена от попадания грунта специальным уплотнителем и заглушкой.
  • При бурении осуществляется частичная выемка грунта, однако большая часть почвы уплотняется вдоль боковых стенок скважины. Вынутый грунт может быть распределен по участку, а может быть вывезен за его пределы - в этом случае смета на бурение должна включать расходы на транспорт.
  • По достижении шнеком проектной глубины осуществляется подача раствора через полость в буровом инструменте.
  • Раствор постепенно заполняет скважину, при этом шнек медленно вынимается (с вращением или без него).
 Схема работ с использованием полого шнека
Схема работ с использованием полого шнека
Обратите внимание!
Оптимальное соотношение воды и цемента в растворе составляет 0,45-0,48.
Усадка конуса должна быть в пределах 19-21 см.
  • В заполненную раствором скважину с помощью вибрационной установки заглубляем арматурный каркас. Диаметр арматуры должен быть меньше диаметра скважины, чтобы обеспечит эффективную защиту металла от контакта с почвой.
  • Для позиционирования арматуры в стволе скважины можно использовать пластиковые центрующие насадки.

В дальнейшем набор прочности и обустройство ростверка происходят по той же технологии, которая используется при любых бетонных работах.

Технология Fundex

Обустройство свайных фундаментов по технологии Fundex также является довольно «щадящим». Вибрационные и ударные нагрузки на грунт сводятся к минимуму. При этом механические характеристики почвы не ухудшаются, что способствует многократному повышению несущей способности сваи.

По данному методу можно изготавливать опоры диаметром до 600 мм с уширением в основании от 550 до 700 мм. Максимальная длина опоры составляет 45 метров.

Обратите внимание!
Методика Fundex была разработана для возведения высотных зданий в районах с повышенной сейсмической опасностью.
Сама технология и используемые для ее реализации компоненты весьма востребованы в Китае, Японии, сейсмоопасных районах США и т.д.
 Последовательность работ по методу Fundex
Последовательность работ по методу Fundex

Главной особенностью применения технологии Fundex является использование так называемого раскатчика:

  • Раскатчик – это каток конической формы, который крепится на валу. Для обеспечения должной эффективности в большинстве случаев устанавливается несколько раскатчиков, следующих друг за другом.
  • Во время движения за счет крутящего момента, прилагаемого к валу, осуществляется проходка грунта.
  • Бурение скважины по технологии Fundex производится с уплотнением грунтовой массы без выемки ее на поверхность. При этом чугунный оголовок сваи, используемый для раскатки и прохождения породы, после монтажа остается в скважине, играя роль основания сваи.
  • Инвентарные трубы крепятся к наконечнику через специальную гидроизоляционную прокладку. Верхний конец инвентарной трубы зажимается в специальном приспособлении, которое крепится к стреле буровой установки.
 Используемые раскатчики
Используемые раскатчики
  • Бурение осуществляется до момента, когда наконечник, закрепленный на обсадной трубе, будет заглублен до проектного уровня. После этого бурение прекращают и в обязательном порядке выкачивают воду из образовавшейся полости.
  • В обсадную трубу помещается арматурный каркас, а затем заливается бетон. Для максимальной эффективности в качестве заполнителя используется гравий из плотных горных пород с диаметром зерна не более 20 мм.

Данная технология обеспечивает опорной конструкции такие преимущества:

  • Стоимость работ снижается за счет более экономичной методики бурения и отсутствия затрат по вывозу больших объемов грунта.
  • Повышается производительность труда монтажной бригады. При условии использования современного оборудования за смену можно подготовить до 30 опор с заглублением до 20 метров. В итоге подготовка свайного фундамента для жилого дома занимает не более суток.
  • Возможность осуществлять работы в населенных районах, в местах проживания людей, а также в ночное время: ударные, вибрационные и шумовые воздействия сводятся к минимуму.
  • Бурение в любое время года, вне зависимости от состояния грунта: насадки с раскатчиками дают возможность осуществлять проходку промерзшего слоя без снижения эффективности.

Срок эффективной службы основания, возведенного по технологии Fundex, составляет более 100 лет.

Вывод

Описанная в статье последовательность устройства буронабивных свай используется практически повсеместно. Высокая трудоемкость данной технологии компенсируется высочайшими механическими характеристиками возводимых оснований, а потому в ряде случаев не стоит экономить на бетоне и буровых работах. Конечно, расходы будут существенными, но зато вы будете уверены в надежности фундамента вашего дома.

В представленном видео в этой статье вы найдете дополнительную информацию по данной теме.

Читать далее...