Добавить в корзинуПозвонить
Найти в Дзене
Оружие и техника

Что такое курок и чем он отличается от спускового крючка

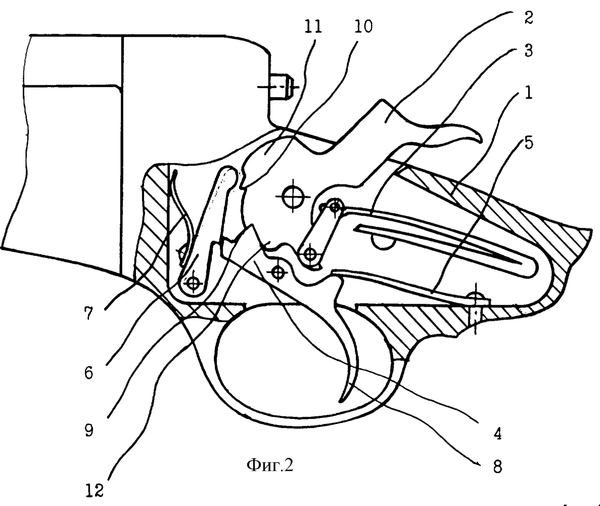
Очень часто люди путают такие понятия, как спусковой крючок и курок у современного. Курок также является частью ударно-спускового механизма, но выполняет несколько другую роль. В этой статье мы поговорим о задаче каждой из деталей и чем же они отличаются друг от друга. Начнем с того, что спусковая скоба есть у любого оружия, а вот курок является деталью только курковых ударно-спусковых механизмов (хотя именно они встречаются чаще всего). Если в двух словах, то спусковая скоба - это именно тот элемент, на который вы давите, чтобы выстрелить. Он же приводит в действие весь ударно-пусковой механизм. Курок же - деталь, приводимая в действие нажатием спусковой скобы. В зависимости от типа ударно-спускового механизма, курок может совершать удар непосредственно по капсюлю патрона, разбивая его, либо воздействовать на ударник, который, в свою очередь, разбивает капсюль. При этом распространенное выражение "спустить курок" по сути своей верно. Только относится оно не к нажатию на спусковую ско

Очень часто люди путают такие понятия, как спусковой крючок и курок у современного. Курок также является частью ударно-спускового механизма, но выполняет несколько другую роль. В этой статье мы поговорим о задаче каждой из деталей и чем же они отличаются друг от друга.

Начнем с того, что спусковая скоба есть у любого оружия, а вот курок является деталью только курковых ударно-спусковых механизмов (хотя именно они встречаются чаще всего).

Если в двух словах, то спусковая скоба - это именно тот элемент, на который вы давите, чтобы выстрелить. Он же приводит в действие весь ударно-пусковой механизм.

-2

Курок же - деталь, приводимая в действие нажатием спусковой скобы. В зависимости от типа ударно-спускового механизма, курок может совершать удар непосредственно по капсюлю патрона, разбивая его, либо воздействовать на ударник, который, в свою очередь, разбивает капсюль.

№2  - курок, №8 - спусковой крючок
№2 - курок, №8 - спусковой крючок

При этом распространенное выражение "спустить курок" по сути своей верно. Только относится оно не к нажатию на спусковую скобу, как думают многие, а к тому, что нажатие буквально спускает курок, который совершает вращательное движение под действием пружины.

К слову говоря, само слово "курок" пришло к нам из польского языка - "kurek" (петушок). Связано это с тем, что курок действительно имеет некоторые сходства с головой петуха.

Хобби
3,2 млн интересуются