Добавить в корзинуПозвонить
Найти в Дзене
itzine.ru

Слухи: новые iPhone не будут гнуться и царапаться

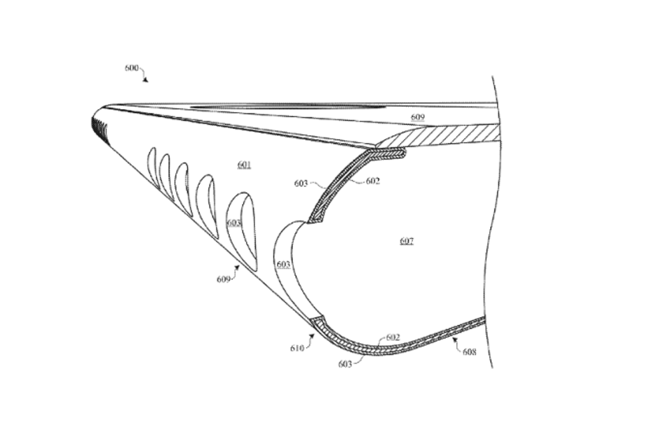
На прошедшей презентации Apple показали три новые модели IPhone. IPhone XS, IPhone XS Max и IPhone XR имеют степень защиты IP68, что позволит смартфонам погружаться в воду на глубину до 1,5 метра на 30 минут.  Кроме того, компания утверждает, что стекло новых устройств — самое прочное на рынке смартфонов. Патентная заявка, поданная Apple в патентный офис США в марте 2017 года, указывает на то, что компания разработала износостойкое покрытие, которое защитит устройство от вмятин и царапин. В патентной заявке упоминается жесткий внешний слой с промежуточным слоем между металлическим основанием и внешним покрытием. Промежуточный слой, вероятно, изготовлен из керамического материала. Толщина внешнего, более твердого, слоя —  примерно от 0,5 мкм до 3 мкм, а промежуточного — от 8 до 30 мкм. Патентная заявка Apple называется «Устойчивые к изнашиванию покрытия на металлических корпусах». В соответствии с документом, новое покрытие обеспечит улучшенную стойкость к изнашиванию и образованию в

На прошедшей презентации Apple показали три новые модели IPhone. IPhone XS, IPhone XS Max и IPhone XR имеют степень защиты IP68, что позволит смартфонам погружаться в воду на глубину до 1,5 метра на 30 минут.  Кроме того, компания утверждает, что стекло новых устройств — самое прочное на рынке смартфонов.

Патентная заявка, поданная Apple в патентный офис США в марте 2017 года, указывает на то, что компания разработала износостойкое покрытие, которое защитит устройство от вмятин и царапин.

-2

В патентной заявке упоминается жесткий внешний слой с промежуточным слоем между металлическим основанием и внешним покрытием. Промежуточный слой, вероятно, изготовлен из керамического материала. Толщина внешнего, более твердого, слоя —  примерно от 0,5 мкм до 3 мкм, а промежуточного — от 8 до 30 мкм. Патентная заявка Apple называется «Устойчивые к изнашиванию покрытия на металлических корпусах». В соответствии с документом, новое покрытие обеспечит улучшенную стойкость к изнашиванию и образованию вмятин.

Если вам понравилась эта статья, поставьте ей лайк и подпишитесь на нас в Дзене. Спасибо