Найти в Дзене
Лобушкин

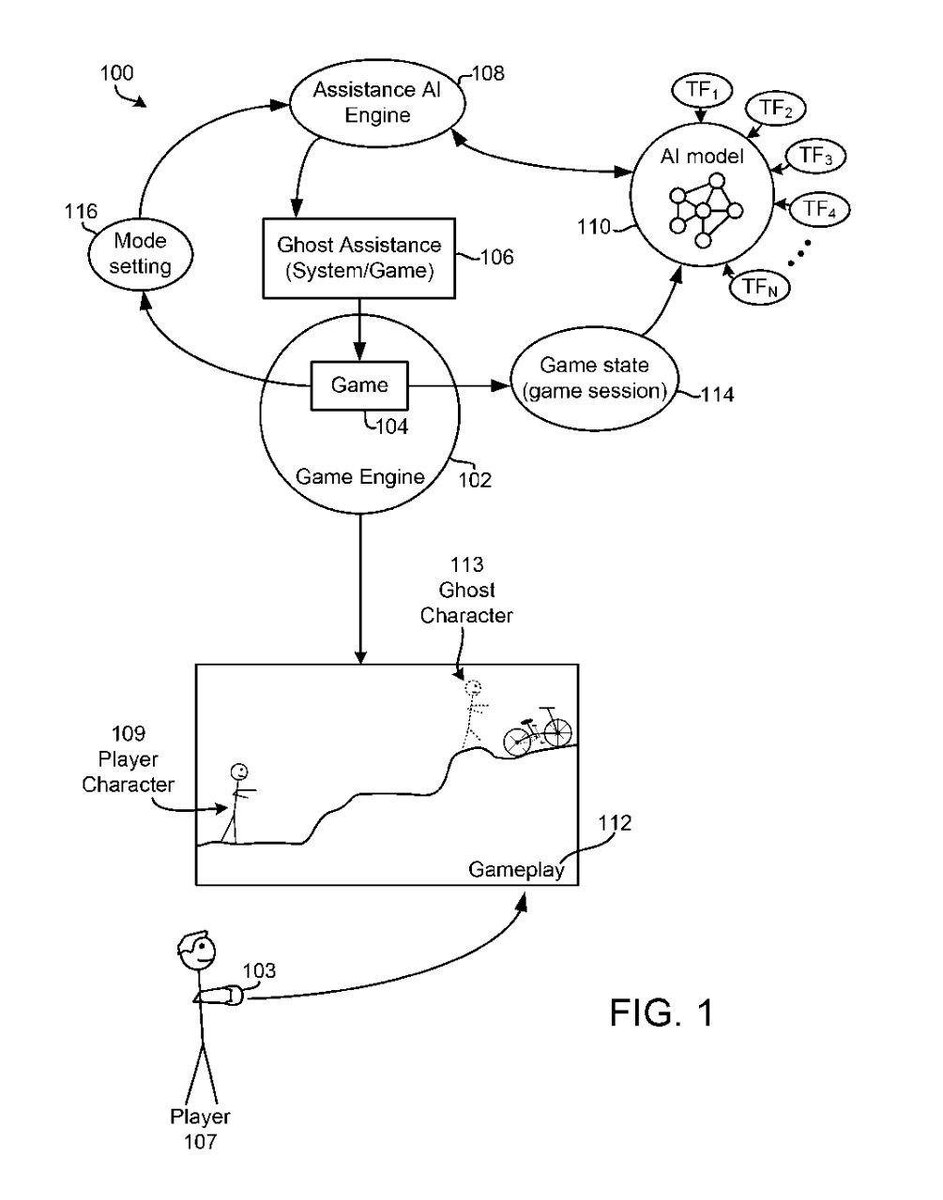
Еще забавное: искусственный интеллект сможет проходить душные моменты в играх за вас — по крайней мере, именно такую технологию

запатентовали Sony. Механика простая: по нажатию кнопки можно будет призвать бота, который берёт управление на себя. Тут, конечно, редакция канала «Лобушкин» не понимает, зачем настолько казуализировать игры. В сложности игры и есть её прикол. Мы понимаем, что человек, который купил игру, хочет, чтобы она была как фильм или книга (имеется в виду возможность пропустить неинтересное), но это не совсем так работает. Какой смысл играть в какие-нибудь соулслайк-игры, если из них можно будет вырезать весь соулслайк — непонятно. @lobushkin

Еще забавное: искусственный интеллект сможет проходить душные моменты в играх за вас — по крайней мере, именно такую технологию запатентовали Sony. Механика простая: по нажатию кнопки можно будет призвать бота, который берёт управление на себя.

Тут, конечно, редакция канала «Лобушкин» не понимает, зачем настолько казуализировать игры. В сложности игры и есть её прикол. Мы понимаем, что человек, который купил игру, хочет, чтобы она была как фильм или книга (имеется в виду возможность пропустить неинтересное), но это не совсем так работает.

Какой смысл играть в какие-нибудь соулслайк-игры, если из них можно будет вырезать весь соулслайк — непонятно.

@lobushkin

-2