Найти в Дзене
Старый радио любитель

Пионеры транзисторного QRPP.

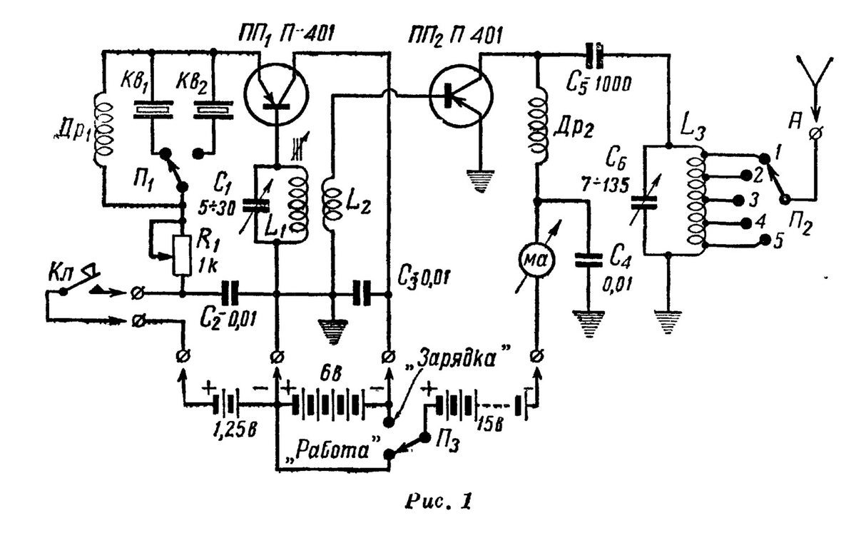
В апрельском номере журнала Радио за 1958 год увидел статью об одном из первых отечественных транзисторных телеграфных передатчиков очень малой мощности. Одним из авторов является Виктор Александрович Ломанович (UA3DH), хотя в заголовке статьи его по ошибки указали канадский позывной :)). Схема передатчика очень проста. Кварцевый генератор собран на транзисторе ПП1. Смещение на базе транзистора обеспечивается отдельным элементом питания. Установка режима осуществляется резистором R1, а телеграфная манипуляция осуществляется в цепи питания. Контур L1C1 настроен на частоту кварца. Колебания генератора через катушку связи L2 подаются на базу ПП2, который работает без смещения, а его нагрузкой является дроссель Др2. Усилитель питается от отдельной батареи 15 В. С нагрузки усиленный подается на контур L3C6, который кроме функции фильтрации сигнала от гармоник осуществляет функцию согласования с антенной, путем переключения отводов катушки. В генераторе используются кварцы на частоту 7,0 и

В апрельском номере журнала Радио за 1958 год увидел статью об одном из первых отечественных транзисторных телеграфных передатчиков очень малой мощности.

Рис. 1. Из журнала Радио №4 за 1958 год.
Рис. 1. Из журнала Радио №4 за 1958 год.

Одним из авторов является Виктор Александрович Ломанович (UA3DH), хотя в заголовке статьи его по ошибки указали канадский позывной :)).

Схема передатчика очень проста.

Рис. 2. Из журнала Радио №4 за 1958 год.
Рис. 2. Из журнала Радио №4 за 1958 год.

Кварцевый генератор собран на транзисторе ПП1. Смещение на базе транзистора обеспечивается отдельным элементом питания. Установка режима осуществляется резистором R1, а телеграфная манипуляция осуществляется в цепи питания. Контур L1C1 настроен на частоту кварца. Колебания генератора через катушку связи L2 подаются на базу ПП2, который работает без смещения, а его нагрузкой является дроссель Др2. Усилитель питается от отдельной батареи 15 В. С нагрузки усиленный подается на контур L3C6, который кроме функции фильтрации сигнала от гармоник осуществляет функцию согласования с антенной, путем переключения отводов катушки.

В генераторе используются кварцы на частоту 7,0 и 7,025 МГц, а контур L3C6 может настраиваться на частоту кварцев или на удвоенную частоту 14,0 и 14,05 МГц. Ток выходного транзистора около 6 мА, соответственно, отдаваемая мощность не превышает 100 мВт.

Рис. 3. Из журнала Радио №4 за 1958 год.
Рис. 3. Из журнала Радио №4 за 1958 год.

К сожалению, хотя в статье приведены подробное описание изготовления и налаживания передатчика, ни слова не говорится о проведенных связях.

Но это не самое главное. Оказалось, что это не первый QRPP передатчик, сконструированный Виктором Александровичем - годом ранее, в сентябрьском номере радио за 1957 год, была опубликована еще одна не менее интересная статья.

Рис. 4. Из журнала Радио №9 за 1957 год.
Рис. 4. Из журнала Радио №9 за 1957 год.

И этот передатчик был не телеграфным, а телефонным. По сути дела, это был первая схема радиомикрофона.

Рис. 5. Из журнала Радио №9 за 1957 год
Рис. 5. Из журнала Радио №9 за 1957 год

Генератор построен по схеме емкостной трехточки, как и в телеграфном передатчике смещение на базе за счет дополнительного элемента питания. Модуляция амплитудная, для этого используется угольный микрофон. включенный в цепь питания. Удивительно, что в качестве антенны используется ферритовая магнитная антенна.

Передатчик работает в диапазоне 1715 - 1800 кГц, но что-то мне подсказывает, что те, кто мог его сделать, настраивали его немного ниже :)), чтобы принимать сигнал на вещательный приемник. Питание осуществляется от батареи из 18-ти "пуговичных " аккумуляторов.

Ток транзистора не превышает 6 мА, поэтому излучаемая мощность вряд ли превысит 50 мВт, а, скорее всего, 20 мВт. Это уже QRPP, а QRPPP :)).

Вот такие они, первые транзисторные передатчики малой мощности конструкции Виктора Александровича Ломановича.

Всем здоровья и успехов!