Найти в Дзене
INSTART

Подключение преобразователей частоты к однофазным и трёхфазным электродвигателям

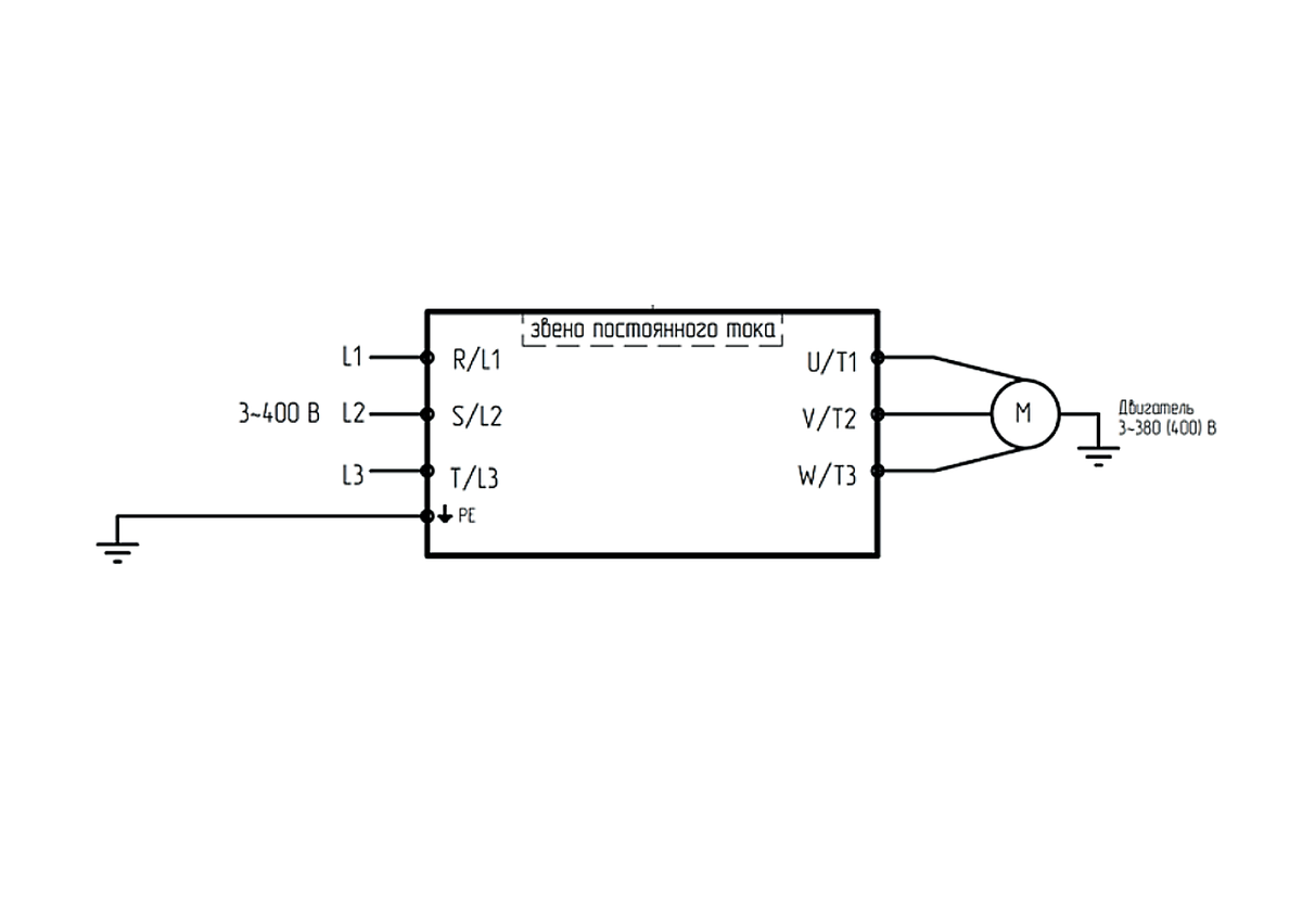
Частотные преобразователи, как и электродвигатели могут быть однофазными или трёхфазными, а также работать при различных вариантах входного и выходного напряжения: 230, 400 или 690 вольт. Давайте рассмотрим несколько схем подключения в зависимости от того, какой привод и асинхронный электродвигатель мы выбираем. 1. Трёхфазная питающая сеть 400 или 690 В, трёхфазный преобразователь частоты и трёхфазный электродвигатель. Здесь всё просто. Провода с трёх выходов частотного преобразователя U, V, W идут на клеммы электродвигателя Т1, Т2, и Т3. В распределительной коробке электродвигателя перемычки должны быть расположены так, чтобы необходимая схема соединения ("звезда" или "треугольник") соответствовала по напряжению номинальному выходному напряжению преобразователя частоты, а также напряжению питающей сети. Например, 400 В у преобразователя частоты и 400 В у электродвигателя (как на схеме выше) или 690 В у преобразователя частоты и 690 В у электродвигателя. Данные о напряжении вы всегда

Частотные преобразователи, как и электродвигатели могут быть однофазными или трёхфазными, а также работать при различных вариантах входного и выходного напряжения: 230, 400 или 690 вольт.

Давайте рассмотрим несколько схем подключения в зависимости от того, какой привод и асинхронный электродвигатель мы выбираем.

1. Трёхфазная питающая сеть 400 или 690 В, трёхфазный преобразователь частоты и трёхфазный электродвигатель.

-2

Здесь всё просто. Провода с трёх выходов частотного преобразователя U, V, W идут на клеммы электродвигателя Т1, Т2, и Т3. В распределительной коробке электродвигателя перемычки должны быть расположены так, чтобы необходимая схема соединения ("звезда" или "треугольник") соответствовала по напряжению номинальному выходному напряжению преобразователя частоты, а также напряжению питающей сети. Например, 400 В у преобразователя частоты и 400 В у электродвигателя (как на схеме выше) или 690 В у преобразователя частоты и 690 В у электродвигателя. Данные о напряжении вы всегда можете получить с шильды электродвигателя. Информация же о подключении перемычек обычно располагается на внутренней стороне крышки клеммной коробки или в технической документации на электродвигатель.

2. Однофазная питающая сеть 230 В, преобразователь частоты с одной фазой 230 В на входе и тремя фазами 400 В на выходе, трёхфазный электродвигатель с номинальным напряжением 400 В.

-3

Частотные преобразователи INSTART серии LCI с однофазным входом 230 вольт и трёхфазным выходом 400 вольт, специально сконструированы для работы в режиме повышения напряжения.

Повышения напряжения удаётся достичь за счёт кратного понижения входного тока. Эта особенность частотных преобразователей INSTART позволяет использовать промышленное оборудование, рассчитанное на трёхфазное напряжение 400 вольт в бытовых сетях с однофазным напряжением 230 вольт.

3. Однофазная питающая сеть 230 В, преобразователь частоты с одной фазой на входе и тремя фазами 230 В на выходе, однофазный электродвигатель с номинальным напряжением 230 В. Вариант с фазосдвигающим конденсатором.

-4

Следует подключить клеммы U и VC, а также V и WC. При данном способе подключения вращение возможно только в одном направлении. Информация о расположении клемм обмоток двигателя обычно располагается на внутренней стороне крышки клеммной коробки.

4. Однофазная питающая сеть 230 В, преобразователь частоты с одной фазой на входе и тремя фазами 230 В на выходе, однофазный электродвигатель с номинальным напряжением 230 В. Вариант без фазосдвигающего конденсатора.

-5

При прямом вращении следует соединить клеммы U и UС, V и VС, а также W и WC.

Для вращения в обратном направлении соединяются клеммы V и UС, U и VС, W и WC.

Информация о расположении клемм обмоток двигателя обычно находится на внутренней стороне крышки клеммной коробки.

5. Однофазная питающая сеть 230 В, преобразователь частоты с одной фазой на входе и выходе 230 В, однофазный электродвигатель с номинальным напряжением 230 В.

-6

Провода с двух клемм частотного преобразователя идут на две клеммы двигателя. В данном случае используется конденсаторный электродвигатель и фазосдвигающий конденсатор удалять не нужно.

Частотные преобразователи INSTART серии LCI с однофазным входом 230 вольт и однофазным выходом 230 вольт специально сконструированы для работы с однофазными электродвигателями.

Данные преобразователи учитывают все нюансы работы с электродвигателями подобного типа.

Определить тип преобразователя можно по наименованию в соответствии с системой обозначения.

-7

Смотреть оборудование INSTART на сайте <<