Добавить в корзинуПозвонить
Найти в Дзене

Небольшое городище с большой историей

Сегодня я расскажу о небольшом городище, которое находится в нескольких километрах западнее Калининграда. Это место, наверное, не так интересно, как места паломничества современных язычников, о которых я рассказывала чуть раньше. Но история у этого памятника археологии весьма занятная. Небольшое городище затерялось в перелеске между очистными сооружениями и Приморской ТЭС, на берегу Калининградского морского судоходного канала. По сравнению с некоторыми другими памятниками археологии, это городище, возможно, будет интересно только для тех, у кого археологическое ОКР каждый день требует: "Надо больше городищ". Однако это место всё же интересно своей историей. Например, здесь в 1273 году в результате предательства своего соратника (прусса Стейнова) попал в плен к крестоносцам один из руководителей последнего восстания пруссов – вождь Глаппо, впоследствии повешенный в Кёнигсберге. Пётр из Дусбурга упоминал городище под именем Генауве (Genauwe). Позднее, в «Хронике Великих Магистров», о

Сегодня я расскажу о небольшом городище, которое находится в нескольких километрах западнее Калининграда. Это место, наверное, не так интересно, как места паломничества современных язычников, о которых я рассказывала чуть раньше. Но история у этого памятника археологии весьма занятная.

Небольшое городище затерялось в перелеске между очистными сооружениями и Приморской ТЭС, на берегу Калининградского морского судоходного канала. По сравнению с некоторыми другими памятниками археологии, это городище, возможно, будет интересно только для тех, у кого археологическое ОКР каждый день требует: "Надо больше городищ".

Однако это место всё же интересно своей историей. Например, здесь в 1273 году в результате предательства своего соратника (прусса Стейнова) попал в плен к крестоносцам один из руководителей последнего восстания пруссов – вождь Глаппо, впоследствии повешенный в Кёнигсберге.

Пётр из Дусбурга упоминал городище под именем Генауве (Genauwe). Позднее, в «Хронике Великих Магистров», оно упоминается уже под именем «Коноведит».

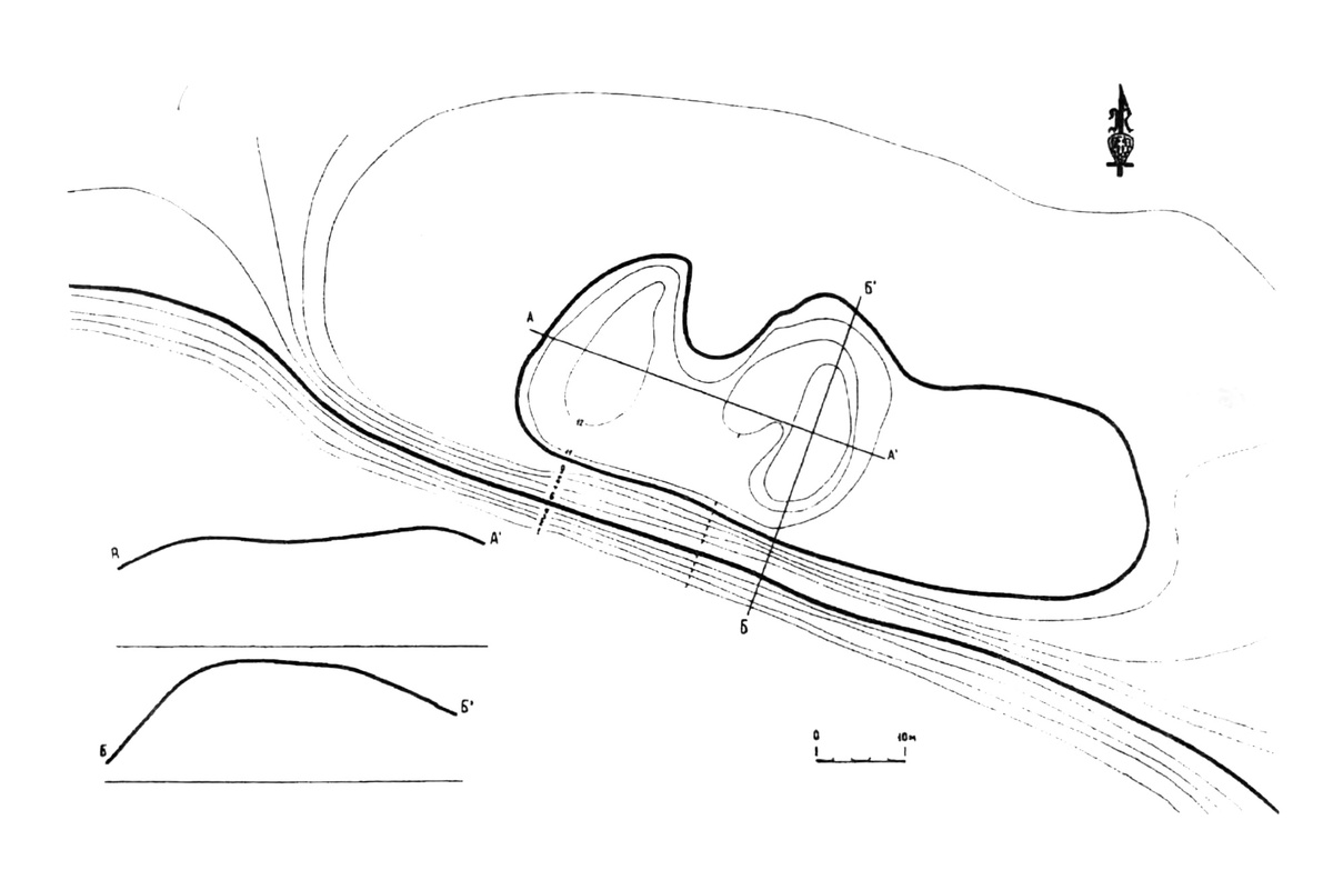
Городище расположено на возвышенном берегу Калининградского морского судоходного канала. Площадка размерами 40х32 метра высотой от уровня канала до 6 метров. С напольной стороны имеется подковообразный вал высотой до 3 метров.
Городище датируется X–XIII вв.

Есть версия, что это место имело не оборонительное, а культовое значение, и использовалось в X-XIII вв. окрестными жителями как место проведения ритуальных церемоний. Однако, основываясь на личных ощущениях, не могу сказать, что энергетика этого места как-то резонировала с моей. Следы неоязычников тоже не были (или почти не были) замечены.

-6

Однако для составления полноты картины съездить туда было интересно. А потом рвануть по своим грибным местам и вынести оттуда ещё несколько килограмм осенних опят, которые ещё в позапрошлый раз уже некуда было складывать. Потрясающая осень выдалась в этом году! А грибы у нас до сих пор идут: зимние опята, вешенки. И если не завалит снегом на праздники, а продолжится калининградский новогодний дождь, возможно, выберусь за грибами.

Больше публикаций на похожую тему:

Памятники археологии (Калининградская область) | От окна до края света | Дзен

Приглашаю в мои группы в VK "Калининградские прогулки" и "Творческий поиск", а также на телеграм-канал.

Если понравилась статья, подписывайтесь на канал и ставьте лайки.