Добавить в корзинуПозвонить
Найти в Дзене
виктор К.

коррекс к коробкам для конфет

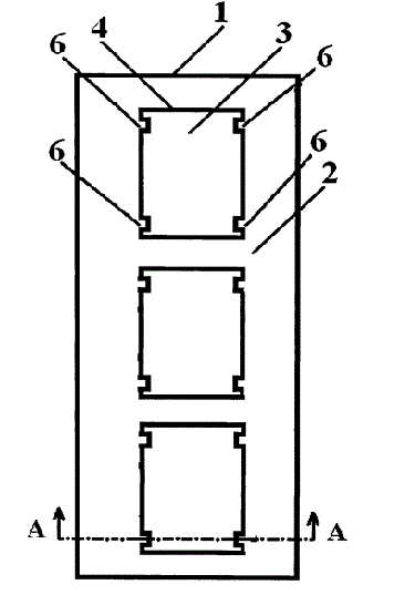
Моя идея для бизнеса заключается в изготовлении и реализации на рынках коррексы к коробкам конфет и иных кондитерских изделий. Коррексы позволяют фиксировать, защищать от перемещений при хранении в упаковке, транспортировки и демонстрации. Устройство простое по конструкции, не требует для изготовления дорогостоящих материалов, легко может быть воспроизведено и размножено промышленным способом, не требует сложных технологических производств. На фиг.1 представлен общий вид устройства, вид сверху. На фиг.2 показан разрез А-А на фиг.1. Устройство содержит корпус 1, выполненный из листового или пленочного термопласта, и включающий в себя свободные поверхности 2 и ячейки 3, образованные фиксирующими поверхностями 4 и дном 5. Полукруглые выступы 6, имеющие возможность упругого взаимодействия с кондитерским изделием 7 образованы поверхностями 2 и 4 и направлены внутрь ячейки 3. Пример использования полезной модели. Кондитерское изделие 7, например, конфету вкладывают в ячейку 3, преодолевая уп

Моя идея для бизнеса заключается в изготовлении и реализации на рынках коррексы к коробкам конфет и иных кондитерских изделий. Коррексы позволяют фиксировать, защищать от перемещений при хранении в упаковке, транспортировки и демонстрации. Устройство простое по конструкции, не требует для изготовления дорогостоящих материалов, легко может быть воспроизведено и размножено промышленным способом, не требует сложных технологических производств.

На фиг.1 представлен общий вид устройства, вид сверху. На фиг.2 показан разрез А-А на фиг.1.

Устройство содержит корпус 1, выполненный из листового или пленочного термопласта, и включающий в себя свободные поверхности 2 и ячейки 3, образованные фиксирующими поверхностями 4 и дном 5. Полукруглые выступы 6, имеющие возможность упругого взаимодействия с кондитерским изделием 7 образованы поверхностями 2 и 4 и направлены внутрь ячейки 3.

Пример использования полезной модели.

Кондитерское изделие 7, например, конфету вкладывают в ячейку 3, преодолевая упругое сопротивление выступов 6. После помещения изделия 7 в ячейку 3 выступы 6 под воздействием силы упругости возвращаются в первоначальное положение, надежно фиксируя конфету в ячейке 3. Таким образом, конфеты надежно фиксируются в ячейке 3 от вертикального перемещения дном 5 и выступами 6, от горизонтального перемещения поверхностями 4. При наклоне или перевертывании коробки они не смещаются. Это позволяет надежно хранить и транспортировать объекты и свести к минимуму деформацию кондитерских изделий, особенно в теплое время года.

-2

Фиг.1

-3