Добавить в корзинуПозвонить
Найти в Дзене
Free energy

РЕЗЮМЕ ВНУТРЕННЕГО ИСТОЧНИКА ПИТАНИЯ, ГЕНЕРИРУЮЩЕГО ЭНЕРГИЮ

Внешний источник энергии, такой как батарея, используется для первоначальной подачи энергии для запуска генератора переменного тока и генератора. После запуска системы отпадает необходимость в подаче питания на систему от батареи. Затем аккумулятор можно отключить. Генератор и электродвигатель работают вместе с генератором электроэнергии. Генератор подает эту электрическую мощность на два инвертора. Один инвертор выдает часть своей мощности на лампу, а часть обратно на электродвигатель / генератор. Эта мощность используется для питания электродвигателя. Второй инвертор подает питание на определенные устройства нагрузки, подключенные к системе. Патентные ссылки США: 5033565, июль 1991 г., Abukawa et al. 5036267 июль 1991 г. Маркунас 5785136 июль 1998 г. Falkenmayer et al. Уровень техники Электрическая энергия возникает естественным образом, но редко в формах, которые можно использовать. Например, хотя энергия, рассеиваемая при молнии, во много раз превышает мировую потребность в электр

Внешний источник энергии, такой как батарея, используется для первоначальной подачи энергии для запуска генератора переменного тока и генератора. После запуска системы отпадает необходимость в подаче питания на систему от батареи. Затем аккумулятор можно отключить. Генератор и электродвигатель работают вместе с генератором электроэнергии. Генератор подает эту электрическую мощность на два инвертора. Один инвертор выдает часть своей мощности на лампу, а часть обратно на электродвигатель / генератор. Эта мощность используется для питания электродвигателя. Второй инвертор подает питание на определенные устройства нагрузки, подключенные к системе. Патентные ссылки США: 5033565, июль 1991 г., Abukawa et al. 5036267 июль 1991 г. Маркунас 5785136 июль 1998 г. Falkenmayer et al. Уровень техники Электрическая энергия возникает естественным образом, но редко в формах, которые можно использовать. Например, хотя энергия, рассеиваемая при молнии, во много раз превышает мировую потребность в электроэнергии, молния не нашла практического применения из-за ее непредсказуемости и других проблем. Как правило, практические системы выработки электроэнергии преобразуют механическую энергию движущихся частей в электрическую энергию. Хотя системы, которые работают без механической ступени, действительно существуют, в настоящее время они либо чрезмерно неэффективны, либо дороги из-за зависимости от сложных технологий. В то время как некоторые электрические установки получают механическую энергию от движущейся воды (гидроэлектроэнергия), подавляющее большинство получает ее от тепловых двигателей, в которых рабочим веществом является пар. Таким образом вырабатывается примерно 89% электроэнергии в Соединенных Штатах. Пар генерируется за счет тепла при сгорании ископаемого топлива или при делении ядер.

В электричестве машина используется для преобразования механической энергии в электрическую. Он работает по принципу электромагнитной индукции. Когда проводник проходит через магнитное поле, на концах проводника индуцируется напряжение. Генератор - это просто механическое устройство для перемещения проводника и передачи тока, создаваемого напряжением, во внешнюю цепь, где он приводит в действие устройства, требующие электричества. В простейшей форме генератора проводник представляет собой открытую катушку из проволоки, вращающуюся между полюсами постоянного магнита. Во время одного вращения одна сторона катушки проходит через магнитное поле сначала в одном направлении, а затем в другом, так что индуцированный ток представляет собой переменный ток (AC), движущийся сначала в одном направлении, а затем в другом. Каждый конец катушки прикреплен к отдельному металлическому контактному кольцу, которое вращается вместе с катушкой. Щетки, которые опираются на контактные кольца, присоединяются к внешнему контуру. Таким образом, ток течет от катушки к контактным кольцам, а затем через щетки во внешнюю цепь. Чтобы получить постоянный ток (DC), то есть ток, который течет только в одном направлении, вместо контактных колец используется коммутатор.

Коммутатор - это единое контактное кольцо, разделенное на левую и правую половины, которые изолированы друг от друга и прикреплены к противоположным концам катушки. Это позволяет току выходить из генератора через щетки только в одном направлении. Этот ток пульсирует, переходя от отсутствия потока к максимальному потоку и снова к отсутствию потока. Практичный генератор постоянного тока с большим количеством катушек и сегментов коммутатора дает более стабильный ток. В практическом генераторе также есть несколько магнитов. В любом генераторе весь узел, несущий катушки, называется якорем или ротором, а неподвижные части составляют статор. За исключением магнето, в котором используются постоянные магниты, в генераторах переменного и постоянного тока используются электромагниты. Ток возбуждения для электромагнитов чаще всего является постоянным от внешнего источника. Термин «динамо-машина» часто используется для обозначения генератора постоянного тока; Генератор в автомобильной промышленности обычно представляет собой динамо-машину. Генератор переменного тока называется генератором переменного тока. Для облегчения различных конструктивных проблем генераторы имеют стационарный якорь и вращающиеся электромагниты. Большинство генераторов переменного тока вырабатывают многофазный переменный ток, сложный тип тока, который обеспечивает более плавный поток мощности, чем простой переменный ток. Безусловно, наибольшее количество электроэнергии для промышленного и гражданского использования вырабатывается большими генераторами переменного тока, приводимыми в действие паровыми турбинами.

Сущность изобретения Целью настоящего изобретения является создание источника энергии, который генерирует больше энергии, чем требуется источнику энергии для работы. 13–9
Вторая цель настоящего изобретения - предоставить систему, которая использует избыточную энергию, производимую источником энергии, для питания других различных устройств. Третья цель настоящего изобретения - предоставить источник энергии для подачи энергии к различным устройствам без зависимости от внешнего источника энергии для подачи энергии к источнику энергии по настоящему изобретению. Настоящее изобретение обеспечивает источник энергии, способный производить больше энергии, чем требуется для работы. Избыточная энергия используется для питания устройств. Подход с обратной связью используется для направления части энергии, производимой генератором, обратно на порт ввода мощности генератора. Такой подход с обратной связью позволяет генератору использовать для работы свою собственную генерируемую энергию. Дополнительная энергия, генерируемая генератором, используется для питания других устройств, которые могут быть подключены к генератору. В способе изобретения внешний источник энергии, такой как батарея, используется для первоначальной подачи энергии для запуска генератора переменного тока и генератора. После запуска системы отпадает необходимость в подаче питания на систему от батареи. Затем аккумулятор можно отключить. Генератор и электродвигатель работают вместе для выработки электроэнергии. Генератор подает эту электрическую мощность на два инвертора. Один инвертор выдает часть своей мощности на устройство ламповой нагрузки, а часть обратно на электродвигатель / генератор. Эта мощность используется для питания электродвигателя. Второй инвертор подает питание на определенные устройства нагрузки, подключенные к системе. ОПИСАНИЕ ЧЕРТЕЖЕЙ Фиг.1 представляет собой конфигурацию реализации внутренней системы выработки энергии по настоящему изобретению. Фиг.2 представляет собой конфигурацию альтернативного варианта внутренней системы выработки энергии по настоящему изобретению. ОПИСАНИЕ ИЗОБРЕТЕНИЯ

-2

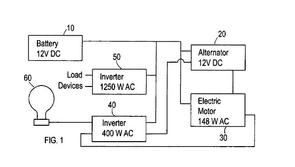
Это изобретение представляет собой устройство для выработки электроэнергии, которое производит в несколько раз больше энергии, чем требуется для работы этой системы. Это изобретение включает первый источник питания, который подключен ко второму источнику питания. Ссылаясь на фиг.1, система по настоящему изобретению содержит аккумуляторный источник 10 (12 В постоянного тока), который подключается к электрическому генератору переменного тока 20. Батарея подает начальную мощность в систему, чтобы инициировать / запускать работу генератора переменного тока. Настоящее изобретение может реализовать другие источники питания в 13-10
в дополнение к показанной на рисунке батарее для обеспечения начального питания системы. В первоначальную модель настоящего изобретения включен генератор переменного тока от Isuzu Trooper 1997 года выпуска. Изобретение включает в себя электродвигатель 30 (148 Вт переменного тока). Электродвигатель подключается к инвертору 40 (400 Вт переменного тока). Система также содержит второй инвертор 50. Аккумулятор 10 также подключается к обоим инверторам 40 и 50. Каждый инвертор имеет два выхода. Для первого инвертора 40 один выход подается на электродвигатель 30 для обеспечения комбинации электродвигателя и генератора переменного тока. Другой выход подается в ламповое устройство 60. Ламповое устройство представляет собой 60-ваттную лампу переменного тока. Это ламповое устройство изменяет ток, идущий от инвертора 40, так что ток, подаваемый в электродвигатель 30, не является чисто индуктивным.

Хотя на рисунке 1 показано ламповое устройство, для выполнения этой же задачи можно использовать и другие нагрузки. Инвертор 40 имеет вход, от которого инвертор получает мощность от генератора 20. Второй инвертор 50 также имеет вход, который также принимает мощность от генератора переменного тока. В процессе работы сначала батарея 10 используется для подачи энергии для запуска генератора 20 переменного тока и генератора 30. После того, как система запущена, для батареи нет необходимости подавать питание в систему. Затем аккумулятор можно отключить. После запуска генератор 20 и электродвигатель 30 работают вместе для выработки электроэнергии. Генератор подает эту электрическую мощность на два инвертора 40 и 50. Инвертор 40 выводит часть этой мощности на лампу 60, а часть - на электродвигатель 30. Эта мощность используется для питания электродвигателя. Второй инвертор 50 подает питание на определенные устройства нагрузки, которые подключены к системе. Эти нагрузочные устройства могут быть любыми устройствами, работающими от электроэнергии. Ключевым аспектом настоящего изобретения является контур между генератором 20 переменного тока, электродвигателем 30 и первым инвертором 40. Часть энергии, вырабатываемой электродвигателем, повторно используется и используется для питания электродвигателя. Таким образом, система производит внутреннюю энергию, которая используется для питания системы. Эта концепция делает эту систему автономной энергогенерирующей системой.

-3

На фиг.2 показан альтернативный вариант системы выработки энергии по настоящему изобретению. Этот вариант осуществления включает в себя коробку передач 70, автомобильный стартер 72, щеточный генератор 74 и понижающий усилитель 76. Первоначально автомобильный стартер 72 работает с аккумулятором для подачи энергии на генератор. Этот процесс похож на процесс запуска автомобиля. Переключение передач 70 увеличивает частоту вращения генератора. Buck Booster 76 служит выходом для подачи питания на различные нагрузки. Эта конфигурация также включает преобразователь 78 постоянного тока.

Patrick Kelly
www.free-energy-info.tuks.nl
www.free-energy-info.com
www.free-energy-info.tuks.co.uk