Добавить в корзинуПозвонить
Найти в Дзене
Максим Обухов

Apple изучает, как сделать самоочищающееся стекло Apple Glass

Apple Glass
Будущие дисплеи с креплением для головы, такие как « Apple Glass », могут автоматически удалять пыль, закрывающую обзор пользователя.
Если вы носите очки, у вас также есть ткань, которую вы используете для их многократной очистки, и вам все равно может потребоваться протереть «Apple Glass». Тем не менее, недавно обнародованная заявка на патент показывает, что Apple сама стремится
Apple Glass
Apple Glass

Будущие дисплеи с креплением для головы, такие как « Apple Glass », могут автоматически удалять пыль, закрывающую обзор пользователя.

Если вы носите очки, у вас также есть ткань, которую вы используете для их многократной очистки, и вам все равно может потребоваться протереть «Apple Glass». Тем не менее, недавно обнародованная заявка на патент показывает, что Apple сама стремится сохранить внутреннюю часть устройства чистой.

«Контроль частиц для устройств, устанавливаемых на голову», обсуждает, как устройство само может удалять пыль или другой мусор из того, что Apple называет «оптическими модулями».

«Качество изображения, обеспечиваемого оптическим модулем, может зависеть от четкости оптического пути между источником изображения и глазом пользователя», - говорится в заявке на патент.

«Например, частицы (пыль, мусор, посторонние предметы или другие материалы) вдоль оптического пути могут затруднять, искажать или иным образом отрицательно влиять на обзор, предоставляемый пользователю», - продолжает он.

«В частности, если элемент отображения включает в себя дисплей с высоким разрешением, такие частицы на поверхности элемента отображения могут блокировать целые пиксели или несколько пикселей, так что изображение, передаваемое пользователю, отличается от его предполагаемой формы», говорит Apple.

По словам Apple, эта проблема, которая только увеличивается «в течение срока службы устройства с креплением на голову». И это может произойти, даже если устройство «герметизировано для предотвращения или ограничения попадания практически всех частиц из внешней среды».

Со временем «деградация, эрозия, трение, износ или старение компонентов» может означать, что «частицы могут мигрировать» или «собираться на элементе отображения».

Очистка стёкол при помощи вибрации

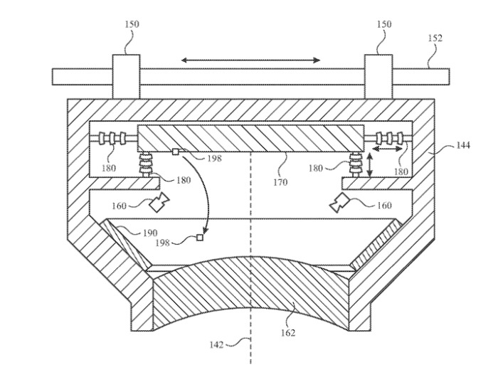
Предложение Apple состоит в том, чтобы само устройство удаляло пыль, улавливая «частицы, чтобы они не мешали пользователю видеть и / или сквозь оптические элементы». Одним из способов достижения этого является вибрация.

Патент Apple
Патент Apple

«Например, дисплейный элемент или другой оптический элемент можно перемещать таким образом, чтобы частицы высвобождались на его видимую поверхность», - говорится в заявке на патент. «Оптический модуль может включать элемент удержания частиц, который надежно удерживает частицы, чтобы они оставались вне оптического пути».

Таким образом, «Apple Glass» может вытряхивать такие частицы пыли и собирать их где-нибудь в безопасном месте вне поля зрения владельца. Это встряхивание может происходить автоматически, когда устройство обнаруживает проблему или когда пользователь решает использовать его.

Патентная заявка присуждена пяти изобретателям, включая Ивана С. Марича. Его предыдущая работа для Apple включает в себя разработку того, как MacBook Pro может принять стиль HomePod, воспринимающий окружающую среду .