Найти в Дзене
OVERCLOCKERS.RU

Samsung получила патент на необычный складной смартфон с двусторонним изгибом экрана

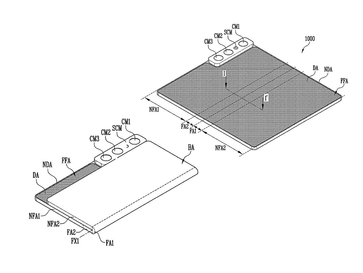
Компания Samsung Display, подразделение Samsung Electronics, получила одобрение патента на революционную конструкцию складного смартфона от Ведомства по патентам и товарным знакам США (USPTO). Новый дизайн отличается от всего, что ранее появлялось на рынке — экран устройства способен складываться как внутрь, так и наружу, сочетая принципы Galaxy Z Fold и Huawei Mate Xs в одном устройстве.

Судя по патентным изображениям, часть экрана остается видимой даже в сложенном состоянии, располагаясь под тройной камерой. Это существенное отличие от концепта Flex In N Out, который Samsung демонстрировала на CES 2023 — тот выглядел как обычный складной телефон с двусторонним механизмом. Новая разработка предлагает более сложную и необычную конструкцию.

-2

Стоит отметить, что Samsung Display регулярно представляет инновационные концепты на выставках вроде CES и MWC, но большинство из них так и не доходит до массового производства. Например, на MWC 2025 компания показывала Flex Gaming и Flexible Briefcase — интересные разработки, которые вряд ли станут коммерческими продуктами. Тем не менее, получение патента свидетельствует о серьезных намерениях Samsung в области складных устройств.

-3

Эксперты сомневаются, что этот конкретный дизайн появится в продаже в ближайшие годы. Однако не исключено, что Samsung Display может представить рабочий прототип на одной из будущих выставок — как это было с концептом Flex Gaming в начале года. Компания продолжает экспериментировать с различными формами складных устройств, пытаясь найти оптимальное сочетание функциональности и надежности.

-4

Пока Samsung готовится к выпуску Galaxy Z Fold6, этот патент дает представление о возможных направлениях развития складных смартфонов в будущем. Технология двустороннего складывания может решить некоторые проблемы современных устройств, но одновременно создаст новые инженерные вызовы, особенно в вопросах защиты экрана и долговечности механизма.

📃 Читайте далее на сайте