Найти в Дзене
OVERCLOCKERS.RU

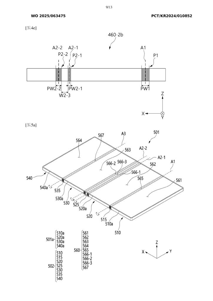
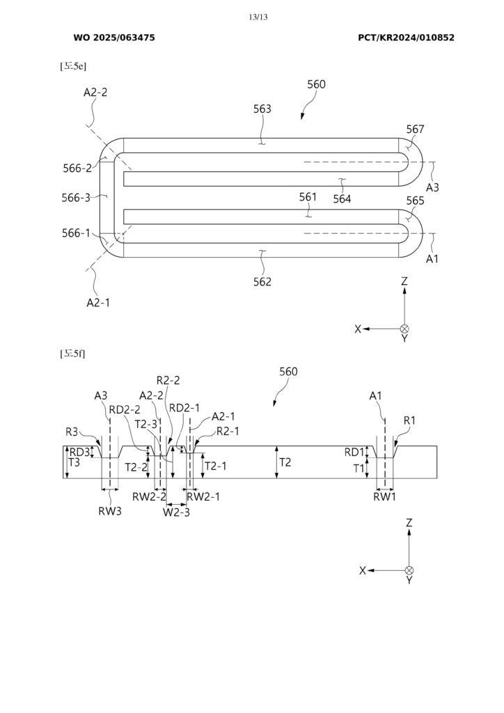
Samsung может работать над складывающимся вчетверо смартфоном

Samsung уже освоила книжный и раскладной форм-факторы и в настоящее время разрабатывает несколько концептов складных и раздвижных устройств. Теперь новый патент раскрывает самую смелую идею компании: устройство с четырьмя секциями и тремя шарнирами, которое выводит складную технологию на новый уровень.

Этот патент демонстрирует устройство с четырьмя горизонтальными панелями, соединёнными тремя шарнирами, при этом экран остаётся единым и гибким. Прилагаемые изображения намекают на складывающийся вчетверо смартфон — самый амбициозный концепт Samsung на сегодняшний день. Однако это только начало: возможно, это черновая идея, которая ещё пройдёт доработку, или даже стратегический патент, позволяющий закрепить технологию на будущее, когда рынок и технические возможности будут готовы.

Заявка также описывает складывающийся втрое телефон с тремя панелями, двумя шарнирами, портом USB-C и тройной камерой. Он выглядит более проработанным и, возможно, связан с утечками о двойном шарнире, показанными на Galaxy Unpacked 2025. Хотя этот трёхсложный вариант кажется более реалистичным, концепт с четырьмя панелями впечатляет своей амбициозностью.

-2

Путь Samsung в мире складных устройств начался более шести лет назад, и этот патент подтверждает её лидерство над конкурентами, такими как Apple, которая до сих пор не выпустила складной смартфон. Тем не менее стоит отметить, что у этих концептов пока нет подтверждённой даты выхода, и ждать предстоит не менее нескольких лет. Однако два варианта складывающегося втрое устройства недавно были замечены в базе данных GSMA с номерами моделей SM-F9680 (вероятно, китайская версия) и SM-F968N (возможно, южнокорейская версия), что указывает на ограниченную географию продаж.

📃 Читайте далее на сайте