Найти в Дзене
PhotoWebExpo

Супертелезумы Canon RF 120-700mm f/4.5-8 и RF 100-600mm f/4.5-7.1

Оглавление

Поделиться

Canon RF 100-500mm f/4.5-7.1 L IS USM будет официально анонсирован в ближайшее время, но есть ли у компании планы сделать еще более длинный зум-объектив для системы EOS R?

Издание Northlight обнаружило патенты,  раскрывающие оптические схемы супер-теле-зум-объективов Canon под RF-байонет: 100-600mm f/4.5-7.1 и 120-700mm f/4.5-8.       

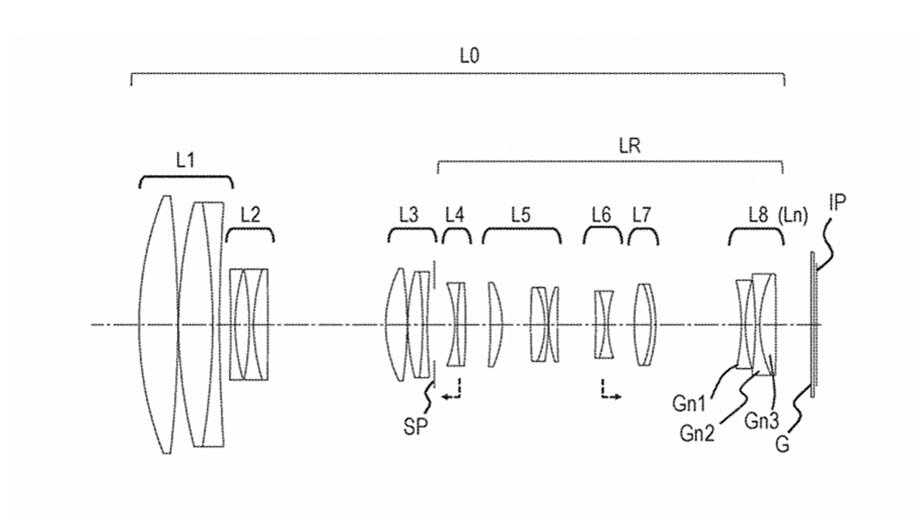
Патентная заявка на Canon RF 100-600mm f/4.5-7.1
Патентная заявка на Canon RF 100-600mm f/4.5-7.1

Canon RF 100-600mm f/4.5-7.1

Фокусные расстояния: 103 мм 248 мм 600 мм
Диафрагма:  4.6 5.8 6.8
Половинный угол обзора: 11.86° 4.98° 2.07°
Длина объектива: 241 мм 305 мм 331 мм
Бэк-фокус: 17 мм 37 мм  97 мм 

Оптическая схема RF 100-600mm f/4.5-7.1 (из патентной заявки)
Оптическая схема RF 100-600mm f/4.5-7.1 (из патентной заявки)

Canon RF 120-700mm f/4.5-8

Фокусное расстояние: 123 мм 293 мм 700 мм
Диафрагма:   4.6 5.8 8.0
Половинный угол обзора:   9.98° 4.22° 1.77°
Длина объектива:    246 мм 322 мм 370 мм
Задний фокус:   14 мм 44 мм 107 мм

Все новости фотоиндустрии – на нашей ленте Zen. Подписывайтесь!